Un tecnico pratico con molte idee di grande interesse ma lontano da un approccio scientifico ai fenomeni
Roberto Renzetti
(agosto 2011)
L’argomento non mi appassiona e lo tratto solo perché alcuni miei studenti di Ingegneria Meccanica mi hanno accennato a Tesla parlando di lui come di un grande genio. Io ho incontrato qua e là, varie volte, il nome di Tesla, soprattutto quando mi sono occupato di Guglielmo Marconi, ma è stato sempre un approccio stridente perché istintivamente (lo so che non sta bene) provavo una certa repulsione. Provo comunque ad essere il più obiettivo possibile.
NOTE BIOGRAFICHE
Nikola Tesla nacque nel 1856 a Smiljan in Croazia, allora facente parte dell’Impero Austro-Ungarico. I suoi genitori erano di origine serba ambedue legati direttamente o indirettamente alla Chiesa Ortodossa: il padre era un prete ortodosso e la madre, analfabeta ma molto intelligente, era figlia di un prete ortodosso. In biografie moderne fatte in siti come mariadinazareth.it, leggiamo frasi come la seguente che iniziano a creare un clima di sospetto: nacque proprio allo scoccare della mezzanotte mentre imperversava un violento temporale. La levatrice che assisteva la madre disse che il bambino sarebbe stato “il figlio della tempesta”. Non poteva sapere quanto fosse appropriata quell’osservazione, infatti già all’età di tre anni si eccitava per le scintille che l’elettricità statica provocava nel pelo del suo gattino, e da allora il suo interesse per quel fenomeno non mutò fino alla sua morte. Sta di fatto che fin da bambino Tesla fu portato all’ascetismo ed all’astrazione ed i suoi genitori insistettero per fargli studiare teologia ma egli riuscì, dopo aver frequentato l’ Higher Real Gymnasium a Karlovac (Croazia), ad iniziare gli studi di ingegneria elettrica alla Technische Universität di Graz, in Austria (da settembre 1875 alla fine del 1877), dove si appassionò alle lezioni di fisica di Jacob Poeschl. All’inizio del terzo anno di corso lasciò questi studi senza conseguire alcun titolo e senza aver dato alcun esame (si era occupato del problema dell’eliminazione delle scintille nei commutatori e nelle spazzole dei primi motori a corrente continua e di corrente alternata: dal tentativo di risolvere problemi connessi nacque in lui l’idea del motore a campo magnetico rotante, idea embrionalmente comunicata al suo professore che si fece scrupolo di ridicolizzarla). Sotto la spinta del padre, passò a studiare fisica e matematica alla Karls-Universität di Praga (dove sembra subì l’influenza di Ernst Mach) ma anche qui lasciò subito dopo la morte del padre senza conseguire alcun titolo (quest’esperienza durò solo l’estate del 1880). In compenso egli ci racconta di aver letto molti libri, alcuni dei quali imparati a memoria, che furono per lui fonte si continue ispirazioni e visioni [l’autobiografia di Tesla si può leggere in http://www.teslaplay.com/autobody.htm ]. Era indubbiamente malato ed ancora egli racconta che soffriva appunto di visioni, lampi accecanti e vere e proprie allucinazioni connesse ad idee che gli frullavano per la mente (I was about twelve years old when I first succeeded in banishing an image from my vision by wilful effort, but I never had any control over the flashes of light to which I have referred. They were, perhaps, my strangest experience and inexplicable. They usually occurred when I found myself in a dangerous or distressing situation, or when I was greatly exhilarated. In some instances I have seen all the air around me filled with tongues of living flame. Their intensity, instead of diminishing, increased with time and seemingly attained a maximum when I was about twenty-five years old). Oggi questa malattia è nota come sinestesia.
In definitiva Tesla era un personaggio come Marconi che iniziò ad operare spinto da grandi intuizioni ma senza accertate e chiare basi scientifiche(1).
Nel 1881 Tesla fu assunto nell’azienda telegrafica di Budapest, la National Telephone Company, passando subito dopo ad operare come ingegnere alla neonata azienda telefonica ungherese e quindi in quella slovena. In questo periodo, in cui realizzò un dispositivo mai ben chiarito (un amplificatore telefonico o un altoparlante ?), la sua malattia si accentuò sfociando in un forte esaurimento nervoso.
Insoddisfatto delle sue occupazioni nel 1882 passò a Parigi a lavorare come ingegnere presso la Continental Edison Company, con il compito di migliorare le prestazioni delle realizzazioni elettriche di Edison. Del problema si era già occupato a Budapest quando lavorò per due amici di famiglia, Tivadar e Puskas, il primo dei quali aveva ottenuto da Edison la licenza per sfruttare commercialmente le sue invenzioni in Europa ed il secondo tentava di introdurre il sistema telefonico Edison in Ungheria. Secondo la sua autobiografia fu in questo anno (1882) che Tesla concepì l’idea del campo magnetico rotante per la quale ebbe il brevetto nel 1888 quando, a partire dal 1884, già si era trasferito a New York, negli USA. In questo Paese arrivò con una lettera di presentazione ad Edison del suo dirigente a Parigi, Charles Batchelor. Edison assunse il giovane, con buone credenziali, alla Edison Machine Works.

IL CAMPO MAGNETICO ROTANTE
Il principio fisico dal quale discese l’idea di costruire un motore (asincrono) a campo magnetico rotante risale al 1831 ed è di Faraday che lo descrisse sia nelle sue Ricerche Sperimentali sull’Elettricità sia nei suoi Diari. Si tratta della scoperta della dinamo i cui perfezionamenti originarono i vari motori elettrici.
Nella Prima Serie delle Ricerche Sperimentali, al n° 85 del Paragrafo 4, Faraday introduce quello che è noto come il disco di Faraday che illustra con le figure riportate di seguito.
Un disco di rame è libero di ruotare intorno ad un asse fisso, in un campo magnetico perpendicolare al piano del disco.

Disegno che compare nelle Ricerche Sperimentali

Disegno che compare nei Diari(2)
Faraday provò varie sistemazioni dei contatti elettrici striscianti e stabilì la più favorevole: un contatto era alla periferia del disco e l’altro all’asse del medesimo, come mostrato nei disegni che seguono.

Disegno che compare nelle Ricerche Sperimentali


Disegno che compare nei Diari
L’idea di Faraday, che prese le mosse dal cercare di fornire una spiegazione di una celebre esperienza di Arago(3) del 1821, è, nella sua realizzazione pratica, quella mostrata nella figura seguente:

Il disco di Faraday. Il magnete ad U è indicato con A (al suo punto di fissaggio). Il disco è indicato con D. Attraverso il morsetto B’ si va al contatto strisciante m sul bordo del disco. Attraverso il morsetto B si va al contatto strisciante (non visibile) sull’asse del disco.
I due contatti striscianti sono collegati ad un galvanometro. Quando il disco è messo in rotazione si trova che fra i contatti striscianti si origina una differenza di potenziale che dipende dalla velocità di rotazione, dalla intensità del campo magnetico e dal quadrato del raggio del disco. Si tratta della prima applicazione dell’induzione elettromagnetica: il moto di un disco conduttore tra le espansioni polari di un magnete diventa un generatore di corrente continua a seguito della Legge di Faraday-Neumann-Lenz (La forza elettromotrice indotta è direttamente proporzionale alla variazione di flusso magnetico, inversamente proporzionale all’intervallo di tempo durante il quale si produce la predetta variazione ed è tale da opporsi alla causa che l’ha generata)(4). Si tratta della prima dinamo omopolare. Per quello che qui interessa è da notare il fatto rilevante che si genera una corrente continua senza la necessità di commutatori, che invece sono indispensabili in tutte le altre macchine generatrici conosciute. Osservo di passaggio che la macchina è reversibile e cioè il disco ruota se è inviata una corrente attraverso gli stessi contatti elettrici(5).
Da questo inizio si sono sviluppate molte macchine elettriche o con la medesima funzione del disco di Faraday (l’energia meccanica del moto viene trasformata in energia elettrica nei generatori elettrici) o con l’altra funzione che, prima di Faraday, inaugurò Barlow(6) (l’energia elettrica viene trasformata in energia meccanica nei motori elettrici).
Elaborazioni successive portarono a dinamo ed alternatori sempre più complessi ed efficienti fino alla scoperta del campo magnetico rotante che è alla base dei motori a corrente alternata ad induzione asincroni che sono quelli con maggiore diffusione, anche oggi, nel mondo.
Un campo magnetico rotante non è altro che un campo magnetico con intensità costante che ruota attorno ad un asse perpendicolarmente al campo stesso. Si può semplicemente generare facendo ruotare meccanicamente un magnete e si può evidenziare mediante la rotazione di un ago magnetico posto al di sopra del magnete in rotazione.

Siamo qui però di fronte ad una applicazione inutile se non illustrativa di un fenomeno. E’ inutile in quanto da energia meccanica si ottiene energia meccanica e la cosa non interessa. E’ utile invece ottenere un campo magnetico rotante attraverso energia elettrica. Si è mostrato che è possibile ottenere un campo magnetico rotante facendo passare le tre fasi di una corrente trifase (originata ad esempio da un alternatore trifase) in tre bobine distinte e disposte tra loro a 120° di un motore asincrono come mostrato in figura:

Un alternatore trifase che alimenta un motore asincrono. Il calcolo prevede e l’esperienza conferma che il campo risultante dalla composizione dei singoli campi magnetici alternati di correnti trifasi è rappresentabile con un vettore di modulo costante (B) che ruota di moto uniforme di periodo T uguale a quello delle correnti. Ogni circuito chiuso, collocato in modo da essere investito da questo flusso rotante, diventa sede di correnti indotte, che si manifestano con un effetto meccanico, l’azione di una coppia di forze, perché l’indotto si oppone alle variazioni del flusso (legge di Lenz) partecipando alla sua rotazione. Un indotto girevole attorno a un asse (specialmente se formato da un circuito chiuso di bassa resistenza, inserito in un nucleo cilindrico a lamine di ferro), viene messo in rotazione dalla coppia, con un momento tanto più forte quanto più grande è la differenza fra la velocità di rotazione del campo e quella dell’indotto (cioè la velocità relativa del rotore rispetto al campo rotante, che differiscono di una quantità compresa tra il 2% e il 5% circa, chiamata scorrimento): perciò la coppia è massima quando l’indotto è fermo e lo avvia, è minima nei caso ideale di scorrimento nullo, quando l’indotto ha raggiunto la velocità del campo rotante.
Il rotore del motore asincrono è una “gabbia di scoiattolo” costituita da fili di rame collegati come mostrato in figura. In teoria vi era la possibilità di avere un cilindro di rame, invece della gabbia, come rotore ma questa soluzione è stata scartata a seguito delle correnti parassite di Foucault che sono molto intense in conduttori massicci.

Il campo rotante determina nei fili di rame della gabbia un flusso variabile (originato dalla corrente alternata, continuamente variabile) per cui in essi si induce una corrente di verso tale da opporsi alle variazioni di flusso, tale cioè da essere trascinata in rotazione dal campo. La gabbia assumerà in tal modo una velocità di rotazione un poco inferiore a quella del campo (con la medesima velocità il flusso attraverso essa sarebbe costante con la conseguenza che la corrente indotta e quindi il momento di rotazione si annullerebbero) e tale che il momento motore sia maggiore del momento resistente. La velocità del rotore dipenderà quindi dal valore del momento resistente ed il motore è chiamato asincrono proprio a seguito dello sfasamento tra le velocità del rotore e quella del campo magnetico rotante. Il grande vantaggio di questi motori è che in esso sono aboliti i contatti striscianti e che, al variare del peso di carico applicato al rotore, la reazione delle correnti indotte che si formano nel rotore ne fa diminuire automaticamente la velocità, senza bloccarlo.
RITORNIAMO A TESLA
Ho già detto che, secondo la sua autobiografia, Tesla aveva concepito il campo magnetico rotante nel 1882, quando si trovava a Parigi a lavorare per la Continental Edison Company. Ancora secondo la sua autobiografia in questi anni parigini elaborò molti apparecchi che utilizzavano l’idea del campo magnetico rotante.
Nel 1884, come già accennato, Tesla si trasferì a New York a lavorare ancora per la Edison, nella Edison Machine Works, con lettera di raccomandazione del suo dirigente a Parigi, Charles Batchelor. Assunse il ruolo di semplice ingegnere elettrotecnico. Più avanti gli fu affidato il compito di ridisegnare e perfezionare i generatori di corrente continua prodotti dalla Edison (ricordo che sul finire dell’Ottocento, come vedremo più oltre, si puntava sulla corrente continua – DC – più che su quella alternata – AC – ed Edison era un ardente sostenitore dell’opzione corrente continua mentre, ad esempio, Sebastian Ziani de Ferranti, l’inglese di padre italiano, costruiva in Gran Bretagna centrali per corrente alternata). Edison in persona gli aveva promesso una quantità esorbitante di denaro (50 mila dollari, pari ad un milione di dollari al valore del 2007) se avesse realizzato generatori e motori in corrente continua commercialmente validi. Quando Tesla terminò il suo lavoro con successo, nel 1885, chiese i suoi soldi ma Edison rispose che Tesla non aveva ancora capito l’umorismo americano proponendogli una paga settimanale di 25 dollari in luogo dei 14 dollari con cui era stato assunto.
Edison aveva già realizzato diverse compagnie elettriche e varie piccole centrali elettriche non disdegnando la corruzione di deputati al fine di approvare la legge per l’illuminazione delle strade con lampade ad incandescenza di sua invenzione e realizzazione. Aveva quindi ben compreso lo spirito del capitalismo americano organizzando fabbriche per lo sfruttamento integrale di ogni invenzione, investendo in ogni attività (come le ferrovie a vapore) che mostrassero una qualche possibilità di guadagno. Gli USA erano già una grande potenza industriale, disponevano di molti tecnici pratici che lavoravano empiricamente, di imprenditori con grandi disponibilità economiche ma mancavano di scienziati come quelli formati in Europa che sottoponevano a trattamento teorico i dati dell’esperienza.
Tra Edison e Tesla vi fu un’altra divergenza con implicazioni molto maggiori, divergenza che, sviluppatasi successivamente anche con l’intervento di Westinghouse, fu chiamata dalla stampa guerra delle correnti. Tesla osservò ad Edison che le centrali elettriche della sua compagnia erano del tutto inefficienti. Edison aveva costruito la prima centrale a DC a New York nel 1882 (e fondato la Edison Electric Light Company nel 1878 che nel 1892 diventerà la General Electric Company). La centrale copriva le esigenze di una limitata zona in cui iniziò ad essere introdotta l’illuminazione pubblica con lampade dello stesso Edison. E’ interessante osservare che il miracolo elettrico raggiunse anche la villa del banchiere Morgan, fondatore della Morgan Stanley, rendendola luminosa ed invidiabile tanto che Morgan divenne un sostenitore di Edison. Dalla prima centrale di Edison ne erano seguite molte altre lungo la costa atlantica. Poiché la potenza di una centrale del tipo Edison diveniva inutilizzabile a circa 3 Km dalla centrale, era necessario costruire centrali ogni 3 Km. La cosa risultava evidente nell’illuminazione fornita dalle stesse lampade di Edison: all’allontanarsi dalla centrale esse illuminavano sempre meno, finché a circa 3 Km dalla centrale erano praticamente spente. Il motivo di ciò risiedeva nei principi elementari alla base della corrente, la legge di Ohm e, soprattutto, quella di Joule che prevede un riscaldamento del filo che trasporta la corrente proporzionale al quadrato dell’intensità di corrente. Ora, una DC ha determinati valori di intensità di corrente e tensione alla sua produzione, valori che non possono essere mutati al momento dell’immissione nella rete elettrica. La potenza della centrale è data dal prodotto dell’intensità di corrente che viene prodotta moltiplicata la tensione di tale corrente. Il fatto del quale si deve prendere atto è che, alla produzione, i valori di intensità di corrente sono sempre elevati mentre le tensioni sono relativamente piccole. E’ il contrario di ciò che interesserebbe. A questo punto si inseriscono le osservazioni di Tesla. Perché non puntare sulla corrente alternata ? Essa cambia ciclicamente e dovrebbe essere possibile distribuirla in onde multiple mediante sistemi polifase. L’idea era di utilizzare una AC che, subito dopo essere stata prodotta, può essere trasformata. Fermo restando che, alla produzione, si hanno alti valori di intensità e bassi di tensione, con la AC è possibile elevare la tensione, anche di moltissimo (mediante trasformatori), abbassando l’intensità. In questa operazione si mantiene la costanza della potenza della centrale, del prodotto cioè tra tensione e intensità prodotte. Per ragioni di sicurezza, prima dell’utilizzazione la tensione viene di nuovo abbassata con un altro trasformatore. Con tali centrali non occorre più costruirne tante perché è possibile trasportare una corrente a piccole intensità a grandi distanze senza dissipare troppa energia in calore.
Tra Tesla ed Edison vi fu una totale rottura e Tesla si mise a lavorare sulle sue idee sviluppando sistemi di generatori, motori e trasformatori in AC polifase realizzando 40 brevetti fondamentali. Nel 1886 realizzò una sua compagnia, la Tesla Electric Light & Manufacturing, che durò poco perché fu truffato dai suoi finanziatori, Benjamin A.Vall e Robert Lane. I due erano rimasti colpiti da un progetto di Tesla per l’illuminazione pubblica mediante arco voltaico e lo incoraggiarono a brevettarlo per metterlo in commercio. Brevettato il sistema Tesla lo cedette ai due finanziatori che lo liquidarono utilizzando il brevetto per illuminare qualche quartiere ed impedendo a Tesla di realizzare ciò a cui teneva di più: le correnti polifase. Il povero ingenuo Tesla si trovò per strada senza soldi e senza un lavoro, costretto per oltre un anno (tra il 1886 ed il 1887) a fare l’operaio addetto a realizzare fossi per mangiare e per far conoscere alcuni suoi recenti brevetti(7). Parlò delle sue idee con il suo caporeparto che, a sua volta, ne parlò con l’avvocato C. Peck. Ma Peck non si intendeva di questioni tecniche ma chiese consiglio a A.S. Brown che lavorava in una società di ferrovie. I due, Peck e Brown decisero di affittare un locale per trasformarlo in laboratorio dove Tesla potesse costruire i suoi prototipi. Nel 1887 costruì un motore ad induzione a AC privo di spazzole, motore che presentò alla American Institute of Electrical Engineers nel 1888. In quello stesso anno costruì la bobina di Tesla, un trasformatore risonante in grado di produrre scintille possenti paragonabili a quelle dei fulmini atmosferici. Egli usò queste bobine per condurre esperimenti sulla luce elettrica, fluorescenza, raggi X (nel frattempo scoperti da Roentgen), fenomeni di corrente alternata ad alta frequenza, elettroterapia, trasmissione di segnali elettrici e di energia elettrica senza fili.



Gli scintilloni prodotti dalla bobina di Tesla. Il fatto che Tesla amasse farsi fotografare in queste posizioni è certamente utile ad una certa propaganda ed ai bassi istinti del pubblico ma non aiutano in alcun modo la scienza. Per altri versi i giornalisti riconoscono sempre e solo fenomeni eclatanti come scienza.
Ma, soprattutto, nel maggio 1888, pubblicò, presso il citato American Institute of Electrical Engineers, un suo fondamentale lavoro: A New System of Alternating Current Motors and Transformers(8). La presentazione del motore e la lettura di questo lavoro impressionarono l’industriale ed inventore George Westinghouse (arricchitosi producendo freni idrodinamici e sistemi di segnalazione per ferrovie) che si recò a visitare il laboratorio di Tesla e si dice che ne restò sbalordito. Tesla aveva costruito dei prototipi di sistemi polifase (una dinamo a corrente alternata, dei trasformatori in salita ed in discesa, un motore in AC ed altri apparati. Erano stati Peck e Brown a far incontrare Tesla con Westinghouse; quando costoro capirono che le idee sui generatori e motori di Tesla avrebbero avuto un futuro, anziché mettersi a produrli in proprio vendettero i brevetti a Westinghouse che li comprò a carissimo prezzo. Westinghouse chiamò Tesla a lavorare presso i laboratori della Westinghouse Electric & Manufacturing Company’s di Pittsburgh. Westinghouse si interessò particolarmente ai sistemi polifase ai quali lavorava Tesla e finanziò la loro realizzazione riuscendo, in breve tempo, a fornire energia elettrica con il sistema Tesla, che nel suo insieme costituisce il prototipo di tutte le reti elettriche su vasta scala, agli interi Stati Uniti. Edison perse il suo primato dopo una battaglia senza esclusione di colpi su vari organi di stampa. L’arma che Edison riteneva definitiva contro la AC era la sua pericolosità e, allo scopo, costruì la tristemente nota sedia elettrica in CA in cui folgorò ogni specie di animale fino ad un elefante. Tesla rispose alla sfida facendosi attraversare da una AC senza che la cosa gli procurasse danno. Da qui iniziò il crollo della Edison e la crescita inarrestabile della Westinghouse. Alla Fiera Mondiale di Chicago del 1893 l’illuminazione fu affidata alla Westinghouse e non per qualche preconcetto ma perché il preventivo di spesa era minore della metà di quello della General Electric. A questa Fiera Tesla poté finalmente esporre e far conoscere i suoi apparati in AC polifase (generatori, motori, alternatori, trasformatori). Più tardi la Niagara Falls Power Company incaricò la Westinghouse di trasmettere per il Paese l’energia prodotta nelle sue centrali idroelettriche. Ma su questa applicazione vi furono importanti modifiche ai lavori di Tesla realizzate dagli altri ingegneri della Westinghouse. Per capire di cosa si tratta occorre risalire a che idea di uso del motore di Tesla si era fatto Westinghouse. Questi aveva pensato alla possibilità di utilizzarlo per muovere i tram elettrici. Ma il motore Tesla richiedeva due correnti alternate e quattro cavi elettrici e ciò avrebbe richiesto la sostituzione dell’intera linea monofase esistente. Tesla tentò di modificare il suo motore ma la cosa sarebbe stata possibile solo con correnti da 50 Hz mentre la Westinghouse lavorava ed aveva tutti i sistemi tarati a 133 Hz (e ciò serviva per avere illuminazione non tremolante) Non vi era possibilità di accordare le cose almeno a livello economico. Furono appunto gli ingegneri Westinghouse che risolsero il problema modificando i motori Tesla con correnti trifase a 60 Hz. Furono questi sistemi ad essere utilizzati nella distribuzione della Niagara Falls Power Company.
LA PRIORITA’ DI GALILEO FERRARIS
Si inserisce a questo punto una questione che, all’epoca, si ripeteva spesso sulla priorità delle scoperte in gioco, in particolare su quel campo magnetico rotante che rendeva le macchine elettriche in grado di funzionare senza spazzole e quindi senza le fastidiosissime scintille.
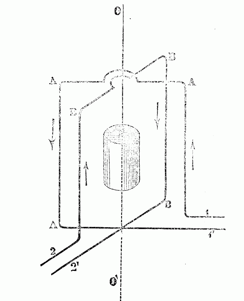
Al problema dei generatori elettrici si lavorava in vari Paesi avanzati (Germania, Francia, Gran Bretagna) e meno avanzati come l’Italia. Fu proprio in Italia che venne scoperto il fenomeno del campo magnetico rotante ad opera di un grande scienziato piemontese, Galileo Ferraris (1847-1897). Egli studiò a Torino in un liceo che oggi chiamiamo classico e quindi si laureò in ingegneria, presso l’Università di quella città, nel 1869, all’età di 22 anni. La sua tesi verteva sulla trasmissione a distanza di energia e, confrontata con quanto si fece nei successivi 20 anni, mostrava proprio quanto primitivo fosse l’approccio al problema. Ferraris iniziò a lavorare come docente universitario di Fisica Tecnica presso quello che oggi si chiama Politecnico di Torino(9). Nell’ottobre del 1884, dopo esperienze fatte nei laboratori della sua scuola, Ferraris dimostrò la trasmissione di AC a distanza alla presenza di una commissione internazionale di esperti. Nel 1885 dimostrò sperimentalmente in pubblico il risultato dei suoi studi sui motori in corrente alternata: l’esistenza di un campo magnetico rotante generato mediante due bobine fisse tra loro perpendicolari, percorse da correnti della stessa frequenza sfasate di 90° (corrente bifase); un cilindretto di rame, immerso nel campo magnetico, si metteva in movimento, tra la meraviglia dei presenti, sotto l’azione delle forze elettrodinamiche tra campo rotante e correnti indotte.

La struttura dell’esperienza del campo magnetico rotante di Galileo Ferraris
Il 18 marzo 1888 ne pubblicò la teoria, con una completa trattazione matematica fondata sull’analisi vettoriale, sulla rivista l’Elettricità della Reale Accademia delle Scienze(10). Nello stesso anno due mesi dopo (il 16 maggio), in America, Nicola Tesla, indipendentemente, depositava i brevetti sulla costruzione del motore asincrono (acquistati poi dalla Westinghouse). Nacquero contestazioni sulla priorità di tale scoperta, soprattutto da parte dello stesso Tesla. La questione finì nelle aule giudiziarie, ma alle fine la priorità dell’invenzione fu riconosciuta allo scienziato italiano. La questione comunque non lo amareggiò ed ebbe a dire: Ho visto a Francoforte che tutti attribuiscono a me la prima idea, il che mi basta. Gli altri facciano pure i denari, a me basta quel che mi spetta, il nome Già al convegno di Chicago del 1893 si riconobbe a Galileo Ferraris la scoperta del campo magnetico rotante.
Ferraris non brevettò la sua scoperta e questo mostra alcune cose sullo spirito della ricerca in Italia e negli USA. Lasciando a margine una discussione che ho portato avanti in altro lavoro, e cioè quella sulla legislazione sui brevetti, che la neonata Italia non aveva e/o non era in grado di imporre ad altri Paesi (la cosa ci costò molti problemi ad esempio nella dinamo di Pacinotti e nel motore a scoppio di Matteucci e Barsanti), resta la considerazione del modo di porsi di fronte alla scoperta scientifica. Ferrarsis, uno dei pochi ingegneri con una filosofia della fisica in grado di porsi problemi al di là del mero fatto tecnico, come ha mostrato G. Giuliani in The philosophy of physics of an engineer ( http://fisicavolta.unipv.it/percorsi/pdf/Ferrafil.pdf ), più volte ebbe modo di sostenere: Prima dell’importanza industriale vi è quella scientifica, prima dell’utile materiale, quello intellettuale. Vi sono scoperte che non possono essere proprietà di uno solo, perché appartengono al progresso dell’umanità(11).
TESLA CONTINUA CON LE SUE INVENZIONI
Mentre accadevano queste cose Tesla non solo era a riposo ma non cessava di produrre idee e realizzazioni varie, oltre naturalmente ad una pletora di brevetti.
Nel 1877 iniziò a cercare di realizzare una lampada a maggior efficienza di quelle in uso. Allo scopo brevettò un tubo a vuoto con un solo elettrodo.

Alimentando opportunamente l’elettrodo si originava una particolare luminescenza, la bremsstrahlung, la stessa che nel 1895 osserverà Röntgen, quando scoprì i raggi X. Tesla non poté osservare questo fenomeno perché il suo tubo non aveva il secondo elettrodo, l’anticatodo, che permetteva alla radiazione generata dal catodo di fuoriuscire dal tubo.

Tubo di Röntgen. La radiazione proveniente dall’elettrodo in basso a destra, colpisce l’anticatodo (al centro di figura) che le permette di fuoriuscire dal tubo.
A partire dal 1892 Tesla iniziò a rendersi conto che quella luminescenza danneggiava la pelle e questo sarà un effetto che Röntgen riconoscerà prodotto dai raggi X. Ma Tesla inventò cause diverse per questi danni alla pelle attribuendoli all’ozono ed all’acido nitroso generato dal contatto della radiazione con la pelle (sulle azioni che feriscono la pelle … noto che esse sono state male interpretate … Esse non sono dovute ai raggi Röntgen, ma semplicemente all’ozono generato in contatto con la pelle. Anche l’acido nitroso potrebbe esserne responsabile, ma per una piccola estensione). Dopo la scoperta di Röntgen, Tesla capì che la sua bobina era in grado di produrre raggi X più penetranti (di maggiore potenza) di ogni apparato utilizzato e pubblicò i suoi risultati(12).
Intanto Tesla, nel 1887, aveva lasciato la Westinghouse (portando la società quasi in bancarotta con il togliergli lo sfruttamento dei suoi brevetti) perché non più interessato in quel momento al perfezionamento dei sistemi polifase e nel 1889 con il denaro guadagnato mediante i suoi brevetti, aprì un laboratorio a New York dove si creò la fama dello scienziato pazzo. Ed i giornalisti sanno capire solo ciò che di scienza è eccentrico, anche se privo di significati di fondo. Fu così che crebbe la fama di Tesla, con dichiarazioni che i giornalisti non comprendevano ma amplificavano e con supposte sensazionali scoperte. Più tardi aprì un altro laboratorio ed utilizzò i due per trasmettere tra di essi dell’energia a distanza (accese delle lampade che precorrono i neon).
In questo laboratorio iniziò ad occuparsi di correnti ad alta frequenza collegando le sue bobine d’induzione ed i condensatori appositamente realizzati in modo da ottenere frequenze elevatissime, fino a 25.000 Hz. Scrive Carlson:
L’inventore lavorò a questa grandiosa idea per i successivi 15 anni. Paragonando un condensatore a un serbatoio di stoccaggio e una bobina d’induzione a una molla a spirale, Tesla si rese conto che un circuito configurato in maniera adeguata avrebbe potuto amplificare i segnali elettrici e portarli a frequenze e voltaggi mai raggiunti fino ad allora. Sfruttando quest’idea, costruì enormi «trasmettitori amplificanti» – oggi chiamati bobine di Tesla – che generavano scintille lunghe oltre 40 metri. L’inventore, inoltre, capì che la risonanza apriva la strada alla sintonizzazione dei segnali radio. Conferendo a un trasmettitore una certa capacità e induttanza si sarebbero prodotti segnali alla frequenza desiderata; analogamente, fornendo la stessa capacità e induttanza a un circuito ricevente, quest’ultimo avrebbe risposto ai segnali trasmessi alla frequenza originale.
Basandosi sull’idea fondamentale della risonanza elettrica, Tesla portò avanti contemporaneamente invenzioni nel campo dell’illuminazione, delle comunicazioni radio e della distribuzione senza fili di corrente elettrica. Sperando di creare una lampada ad alto rendimento che sostituisse la lampadina a incandescenza di Edison, l’inventore non solo creò le prime lampade a fluorescenza, ma si rese anche conto che una valvola elettronica era in grado di rilevare onde radio. Tesla però non sfruttò questa intuizione, e le valvole termoioniche furono sviluppate successivamente da J.A. Fleming e Lee De Forest.
Una volta perfezionati i circuiti che gli servivano per trasmettere e ricevere onde radio, Tesla li sperimentò servendosi di antenne che appese a palloni aerostatici librati sopra il suo laboratorio e il suo albergo di Manhattan. Ma aveva appena cominciato a ottenere risultati promettenti che il suo laboratorio fu distrutto da un incendio, nel marzo 1895, e tutti i suoi strumenti di ricerca e i suoi appunti andarono persi.
Nella primavera del 1899 Tesla chiuse il laboratorio che aveva messo in piedi a New York e costruì una struttura alle pendici del Pikes Peale, a Colorado Springs. Qui si occupò di quella che credeva sarebbe stata l’applicazione più importante per le onde elettromagnetiche: la distribuzione senza fili di corrente elettrica intorno al mondo. In quel periodo sembrava che in tutta l’America si stessero realizzando impianti elettrici. La richiesta di elettricità sembrava insaziabile, e Tesla sognava di battere le reti di terra che stavano rapidamente crescendo, fornendo sia l’elettricità sia lo scambio di messaggi senza l’uso di fili.
Il nuovo sogno di Tesla si basava sulla risonanza elettrica.
Come altri pionieri della trasmissione senza fili egli colse la duplice relazione tra trasmettitore e ricevitore. Innanzitutto il trasmettitore inviava onde radio al ricevitore attraverso l’aria. Poi, dato che entrambi gli strumenti erano collegati a massa, una corrente di ritorno passava dal ricevitore al trasmettitore attraverso la messa a terra. A differenza di tutti gli altri sperimentatori, che puntavano sulle onde radio trasmittenti che utilizzavano l’atmosfera, Tesla decise di concentrarsi sulla corrente di terra. Perché non usare il trasmettitore per inviare le onde al ricevitore tramite la terra, pensò, e poi usare l’atmosfera per il circuito di ritorno? Tesla pensò che una stazione trasmittente sarebbe stata in grado di pompare energia elettromagnetica nella crosta terrestre fino a raggiungere la frequenza di risonanza elettrica del pianeta; poi, con l’intero globo pulsante di energia, la si sarebbe potuta intercettare tramite stazioni riceventi sparse in tutto il mondo. Per mettere alla prova questa teoria Tesla assemblò a Colorado Springs diversi trasmettitori amplificanti di grandi dimensioni, e si persuase che avessero effettivamente trasmesso energia intorno al mondo. (Tesla credette anche che i suoi segnali avessero raggiunto Marte, convincendosi di aver ricevuto un messaggio di risposta dai marziani!). [Nel suo laboratorio a Colorado Springs, egli “registrò” alcune tracce di ciò che credeva fossero segnali radio extraterrestri; ciononostante i suoi pubblici annunci e i dati che aveva rilevato furono duramente respinti dalla comunità scientifica mondiale].
Sicuro che l’elettricità poteva essere trasmessa intorno al mondo passando sottoterra, nel 1900 tornò a New York. Era così certo del successo che alloggiò nel lussuoso Waldorf Astoria Hotel. Poi scrisse un saggio di 60 pagine per la rivista «Century», intitolato The Problem of Increasing Human Energy. I suoi sforzi promozionali diedero frutti, e nel 1901 il magnate J. Pierpont Morgan investì 150.000 dollari nello schema elettrico senza fili di Tesla. L’inventore consumò questo anticipo attrezzando, senza badare a spese, un nuovo laboratorio a Wardenclyffe, sulla costa settentrionale di Long Island. Nonostante il rifiuto di Morgan di sborsare altro denaro e la mancanza di risultati tecnici positivi, l’inventore costruì a Wardenclyffe un pilone d’antenna alto 57 metri. Ma anche se le sue conoscenze newyorchesi appartenevano a un’élite facoltosa, non riuscì a procurarsi i fondi necessari per portare a termine il suo progetto e si ammalò di esaurimento nervoso.
Dopo una parziale guarigione, Tesla sperò di raccogliere fondi per riprendere il lavoro a Wardenclyffe, spostando però i suoi sforzi creativi dall’ingegneria elettrica a quella meccanica. Rendendosi conto che nelle centrali elettriche si stavano sostituendo i motori a vapore a pistone alternativo con le più efficienti turbine rotanti a vapore, cominciò a studiare un modello di turbina con la girante priva di pale.
Come in tutte le altre invenzioni di Tesla, anche alla base di questa c’era un’intuizione importante. Così come nel suo motore a corrente alternata un campo magnetico rotante «trascinava» con sé il rotore, Tesla pensò che fosse possibile far sì che il vapore trascinasse, per via delle forze viscose, una serie di dischi sottili posti l’uno accanto all’altro e fissati all’asse di una turbina, facendoli ruotare, e sottoponendoli così a uno sforzo di taglio dipendente dalla velocità di flusso del fluido. La turbina di Tesla doveva funzionare a una frequenza di oltre 10.000 giri al minuto: troppo, per essere sopportata da un qualsiasi sottile disco d’acciaio.
Tesla non riuscì a convincere nessuno a costruire la sua turbina ma riuscì a brevettare un tachimetro per autoveicoli che si basava sullo stesso principio: l’uso di forze viscose che facevano girare dischi collocati l’uno accanto all’altro. Nei vent’anni successivi visse delle royalty che gli venivano corrisposte grazie al suo tachimetro. Nel frattempo scriveva articoli per riviste popolari sul futuro dell’elettricità e della radio. Lentamente, però, la depressione riprese ad affliggerlo, e l’inventore si trasformò in un misantropo che vagabondava da un albergo all’altro man mano che i conti arrivavano alla scadenza.

Tornando un poco indietro nel tempo, nel 1891 Tesla fu naturalizzato come cittadino USA stringendo amicizie con artisti e convertendosi alla indiana filosofia vedica (trasmigrazione del Sé; liberazione dal ciclo delle rinascita; i Veda hanno autorità su tale liberazione; Brahman, ispiratore e rivelatore dei Veda, è causa materiale e strumentale del mondo; il Sé è agente dei propri atti e quindi destinatario del bene o del male che da tali atti conseguono).
Nel 1892, dopo le famose esperienze di Hertz sulla propagazione delle onde elettromagnetiche, intravide la possibilità della telegrafia senza fili e nel 1893, a Saint Louis, realizzò una trasmissione radio mediante sistemi completamente diversi da quelli poi utilizzati da Marconi che iniziò le sue esperienze tra la fine del 1894 ed il 1895(13). Anche qui, sull’invenzione della radio, vi fu una dura battaglia di Tesla contro Marconi per rivendicare la priorità nell’invenzione della radio. Non sono in grado di entrare nel merito oltre che sostenere che le scoperte simultanee non sono rare. Ma, mentre di Marconi ho letto varie cose, di Tesla mi è stato difficile trovare argomenti se non dichiarazioni e testimonianze della prima trasmissione radio. In ogni caso, nel 1904, l’ufficio brevetti americano cambiò la sua decisione, assegnando a Guglielmo Marconi il brevetto per la radio precedentemente dato a Tesla. Nel 1911, l’High Court of Great Britain in un processo intentato a Marconi, deliberò che i brevetti di Marconi (relativi ad alcuni componenti necessari alla trasmissione radio) erano perfettamente validi. Nel 1915 Tesla intentò una causa contro Marconi per la paternità della radio. Nel 1943, invece, la Supreme Court of the United States attribuì a Tesla la precedenza su Marconi relativamente ad alcuni brevetti (la sentenza si può leggere al link: http://www.radiomarconi.com/marconi/popov/sentenza.html ). Ma qui vi sono dei dubbi sulla correttezza di una tale sentenza perché l’Esercito USA doveva a Marconi una gran quantità di denaro per aver sfruttato i suoi brevetti, con il togliere i brevetti a Marconi e con la morte avvenuta in quello stesso anno di Tesla, i problemi erano risolti. Anche qui non so però aggiungere argomenti. Posso solo dire che questa stessa corte USA operò in modo analogo quando dovette pagare l’uso del brevetto dei neutroni lenti (fatto a Roma da Fermi, Amaldi, Pontecorvo, Segré, Rasetti) nelle centrali nucleari USA: dopo un processo lunghissimo, liquidò i possessori del brevetto con neppure 25 mila dollari. Da ridere ! Vi è infine la questione del Nobel che l’Accademia svedese assegnò a Marconi nel 1909 e non a Tesla. Si dice che Tesla fosse candidato per il 1912 e che avesse rifiutato perché avrebbe dovuto condividere il premio con il suo, ora, nemico Edison. Ed anche perché il suo premio avrebbe seguito quello a Marconi.
Molte altre furono comunque le realizzazioni e, soprattutto, le idee sviluppate da Tesla, che spesso anticiparono molte e differenti realizzazioni, ma egli divenne famoso soprattutto per ciò che fece fino al 1892, fino ai suoi 36 anni. Ricordo comunque negli anni più prolifici della sua vita egli: generò tensione alternata di un milione di volt usando una sua bobina e investigò sull’effetto pelle nei conduttori, progettò circuiti regolatori, lampade a scarica di gas senza fili, fece ricerche sulla radioattività e sui raggi cosmici, realizzò una imbarcazione radiocomandata che però fu rifiutata dalla marina USA, intuì la robotica (Art of Telautomatics), inventò una “candela elettrica” (spark plug) per i motori a combustione interna a benzina, indagò l’elettricità atmosferica e la ionosfera, fu un precursore del sistema radar, ottenne un brevetto per il trasporto aereo mediante decollo verticale, progettò un’auto elettrica. Per tutti questi suoi meriti ottenne vari riconoscimenti tra cui varie lauree honoris causa ed ammissione ad alcune società scientifiche. Va ricordato inoltre che alla Conférence Générale des Poids et Mesures (CGPM) tenutasi a Parigi nel 1960, venne dato il nome tesla (T) all’unità di misura dell’induzione magnetica B (1 tesla = 1 weber/1 metro quadro) nel Sistema Internazionale (SI). [L’elenco completo dei brevetti di Tesla si trova in: http://www.hbci.com/~wenonah/new/tesla.htm ]
Negli anni del primo dopoguerra, dopo essere andato in bancarotta (1916), Tesla, come dice Wikipedia, “iniziò a mostrare evidenti sintomi di disturbo ossessivo-compulsivo; divenne ossessionato dal numero tre: sovente si sentiva costretto a girare attorno ad un palazzo tre volte prima di entrarvi, oppure voleva una pila di dodici tovaglioli ben piegati intorno al suo piatto ad ogni pasto, o altro ancora. La natura dei suoi disturbi era poco conosciuta a quel tempo e non erano disponibili terapie efficaci, perciò i sintomi vennero considerati come prova di una parziale infermità mentale, danneggiando senza dubbio ciò che era rimasto della sua reputazione”.
“… esigeva che la camera d’albergo dove alloggiava avesse un numero divisibile per tre. Si sa che egli era fisicamente contrario alla gioielleria, specialmente alle collane di perle e che era ossessionato dai piccioni: ordinava speciali semi per i volatili che nutriva nel Central Park, portandone alcuni nella sua stanza in hotel. Era un amante degli animali; spesso gioiva alla vista di una cucciolata di gatti”.
“Tesla, per sua volontà, visse gli ultimi anni della sua vita in una suite di due stanze al 33º piano del New Yorker Hotel, nella Room 3327, dove, giunto alla fine dei suoi giorni, mentre già scivolava in ciò che i più considerano uno stato mentale alterato, avrebbe chiesto di esser visitato quotidianamente da un particolare piccione bianco. Egli avrebbe affermato che il volatile era molto prezioso per lui. L’aneddoto racconta che un giorno il piccione si ammalò; Nikola tentò di soccorrerlo per rimetterlo in salute, ma esso morì tra le sue braccia. L’inventore non era un uomo religioso; credeva, infatti, che doveva esserci una spiegazione scientifica per ogni cosa ed era sostanzialmente ateo. Ma quando quel piccione bianco morì, Tesla giurava di aver visto una luce molto chiara venir fuori dai suoi occhi, così luminosa che nemmeno lui sarebbe riuscito a crearne una di pari intensità.
Questo episodio lo portò a credere che il candido uccello fosse in origine qualcosa di spirituale. Molti biografi annotano che Tesla considerò la morte del piccione come il colpo finale per lui e per il suo lavoro”.
Prima di terminare resta ancora da dire qualcosa in più sulla persona.
ALCUNE AFFERMAZIONI DI TESLA
La succinta The Story of Science in America di L. Sprague De Camp, Catherine C. De Camp, scritta da americani che in genere sono molto sciovinisti, quando parla di Tesla non è tenera:
Permaloso ed eccentrico, Tesla interrompeva sempre i suoi impegni di lavoro perché si sentiva incompreso o insultato.
E’ ora interessante invece tralasciare la parte tecnica del lavoro di Tesla per andare a ricercare alcune tra le sue affermazioni e posizioni sia su argomenti scientifici, sia su questioni di carattere generale.
Un suo saggio(14) che, nelle intenzioni, voleva essere scientifico e porlo sulla scia delle grandi questioni scientifiche poste nel Novecento, fu scritto da Tesla quando aveva 81 anni, nel 1937. Doveva essere una teoria unitaria del campo unificato ma risultava solo l’annuncio di un qualcosa riguardante la gravità che Tesla non aveva in realtà compreso. La gravità doveva essere una specie di fenomeno elettromagnetico costituito da onde longitudinali e trasversali. Letto il saggio, la comunità scientifica nel suo insieme sostenne che Tesla doveva iniziare a studiare concetti precedenti, prima di entrare in questioni complesse che non conosceva. Ma quanto era stato sviluppato dalla scienza avevano eccitato in lui interessi che sfociarono in dichiarazioni ed annunci di cose che stava facendo o avrebbe fatto che sconfinavano in pieno nella fantascienza. Le onde e le particelle del dualismo indotto dalla fisica dei quanti gli fece pensare un muro di luce che poteva essere mosso agendo sulle onde elettromagnetiche. Il movimento di tale muro avrebbe potuto modificare spazio e tempo, gravità e materia. Da qui vennero fuori annunci di sistemi antigravità, di viaggi nel tempo, di teletrasporto. Tutte cose che affascinano il pubblico che non si occupa di scienza ma che crede che questa sia scienza. Quindi Tesla è dientato un mito per chi si occupa di UFO, di paranormale ed amenità del genere.
Il nostro credeva di poter intervenire dicendo la sua su ogni questione e nel 1925, a proposito del principio di Mach affermò (le citazioni sono riprese da Wikipedia):
Non c’è nulla che sia dotato di vita – dall’uomo, che ha reso schiavi gli elementi, alla più agile creatura – in tutto questo pianeta che non oscilli durante una rotazione. Ogni volta che un’azione sia generata da una forza, anche infinitesimale, il bilancio cosmico viene alterato ed il moto universale ne risente degli effetti.
Naturalmente chi non ha capito è pienamente giustificato. Ma il meglio di sé Tesla lo ha dato in vari commenti alla Teoria della Relatività sia Speciale che Generale:
… la teoria della relatività, in ogni caso, è più anziana dei suoi attuali sostenitori. Fu avanzata oltre 200 anni fa dal mio illustre connazionale [sic!] Ruđer Bošković, il grande filosofo, che, non sopportando altre e più varie occupazioni, scrisse un migliaio di volumi di eccellente letteratura su una vasta varietà di argomenti. Bošković si occupò di relatività, includendo il cosiddetto continuum spaziotemporale … [questa affermazione mostra la totale ignoranza di Tesla sulla questione, ndr]
…[ha] un magnifico abito matematico che affascina, abbaglia e rende la gente cieca di fronte ad errori impliciti. La teoria è come un mendicante vestito color porpora che la gente ignorante scambia per un re …, i suoi esponenti sono uomini brillanti, ma sono metafisici, più che fisici …
Io continuo a ritenere che lo spazio non possa essere curvo, per il semplice fatto che esso non può avere proprietà. Sarebbe come affermare allo stesso modo che Dio ha delle proprietà. Egli non ne ha, ma solo degli attributi di nostra invenzione. Di proprietà si può parlare solo per la materia che riempie lo spazio. Dire che in presenza di corpi enormi lo spazio diventa curvo è equivalente ad affermare che qualcosa possa agire secondo nulla. Io mi rifiuto di sottoscrivere un simile modo di vedere.
Come può osservare il lettore attento, siamo qui di fronte ad un campionario di scempiaggini indegne di uno scienziato.
Ma la parte indegna di Tesla è la sua adesione all’eugenetica che egli proclamò in una intervista del 1937, proprio in concomitanza con i movimenti razzisti americani ed europei. Affermò il nostro:
[…] il nuovo senso di compassione dell’uomo iniziò ad interferire con lo spietato meccanismo della natura. L’unico metodo compatibile con le nostre nozioni di civilizzazione e di razza è quello di impedire la proliferazione degli esseri non adatti per mezzo della sterilizzazione e della guida consapevole dell’istinto riproduttivo […]. Fra gli eugenisti, è opinione comune che bisognerebbe rendere più difficile il matrimonio. È innegabile che, a chiunque appaia come un genitore poco raccomandabile, dovrebbe essere proibita la generazione di figli. Nel giro di un secolo, il caso di una persona normale che si unisca con una eugeneticamente non adatta, sarà improbabile quanto il caso che la veda sposata ad un criminale incallito.
In compenso riteneva che le donne dovessero avere il primato nel mondo e che presto avremmo avuto una società basata sulle api regine (1926). E diceva ciò anche se non si conoscono suoi rapporti con donne (ma neanche con uomini). Tesla doveva essere un completo asessuato.
LA FINE

Tesla morì ad 86 anni nel 1943. Al momento della sua morte, l’inventore stava continuando a lavorare sul teleforce, un progetto di raggio della morte (anche Marconi propose un tale raggio al regime fascista che lo finanziò), che aveva proposto senza successo al Dipartimento della Guerra degli USA. Ricerche del governo tra i suoi documenti mostrarono che, come spesso faceva, Tesla aveva dato annunci che erano molto vicini alla fantascienza. In ogni caso ciò che fu trovato fu classificato top secret.
Dopo la sua morte, come accennato la fama di Tesla crebbe in ambienti metafisici, esoterici ed anche religiosi. Non è il caso di entrare in dettagli perché la cosa sarebbe molto lunga ed alla fine noiosa. Ma qualche perla relativa alla considerazione odierna di Tesla la voglio dare ricavandola da vari titoli di siti in rete e ricordando che a Tesla il Giacobbo TV ha dedicato varie trasmissioni di Voyager.
Inizio con alcuni titoli:
– Un genio dimenticato in Italia: Nikola Tesla
in BIO ENERGY RESERCHES (http://www.bioenergyresearch.com/ita/tesla.htm )
– L’automobile spinta dall’etere di Nikola Tesla
in DISINFORMAZIONE (http://www.disinformazione.it/automobiletesla.htm )
– Nikola Tesla l’uomo che inventò il 20° secolo
in PARROCCHIE (http://www.parrocchie.it/correggio/ascensione/nikola_tesla.htm )
– L’UFO terrestre di Nikola Tesla
in CURIOSITY BOX (http://curiositybox.wordpress.com/2009/09/09/lufo-terrestre-di-nikola-tesla/
In tutti questi siti, ed in moltissimi altri rintracciabili con Google, Tesla è sempre presentato come un genio incompreso ed a lui si devono mirabolanti invenzioni che solo qualche cospirazione mondiale gli ha impedito di realizzare. Come esempio riporto quanto si dice di Tesla in edicolaweb:
Da http://www.edicolaweb.net/nonsoloufo/tu_tesla.htm
È stato uno scienziato brillante, un profeta che leggeva realmente nel futuro, ma che il suo tempo non fu in grado di comprendere. Il risultato finale è stato che uno dei maggiori benefattori dell’umanità è stato dimenticato. Tesla morì come aveva vissuto: solo e nell’anonimato, destinato all’oblio per l’ordine top secret che proibiva di parlare dei suoi lavori. …
Un esperimento particolare con quell’antenna resterà nella storia di questa civiltà: un fulmine uscì dal globo di ferro in cima all’antenna, crebbe di dimensioni fino a diventare un globo elettrico che mandava verso il cielo lampi scoppiettanti di lunghezza almeno di 50 metri. La zona fu pervasa da rombi di tuono e l’erba assunse il colore di un verde brillante come se ci fosse fosforescenza. Il fatto più traumatico sicuramente fu quello sopportato dagli abitanti, i quali, camminando nelle strade, vedevano sprizzare scintille elettriche che dai loro piedi finivano sul selciato. …
Quando la Wardenclyffe fu completata, Tesla annunciò un’altra delle sue scoperte: sarebbe bastato dare una potente energia ai suoi trasmettitori per trasformare la litosfera terrestre in un gigantesco portalampade. Bastava in pratica infilare un bastone metallico nel terreno, collegarlo ad un trasformatore, per avere elettricità a volontà. Tesla era dell’opinione che per generare l’energia iniziale fosse sufficiente usare impianti idroelettrici. Il punto debole di tanta invenzione stava nel fatto che se il trasmettitore avesse inviato, anziché su tutto il globo in maniera uniforme, una forte quantità d’energia in un solo punto, allora si sarebbe verificata una distruzione totale. Secondo i calcoli, con questo sistema si poteva inviare tranquillamente un’energia pari ad una bomba nucleare da 10 megatoni. La storia ci ricorda che Tesla non ebbe mai la possibilità di sperimentare la sua rivoluzionaria invenzione.
e ciò che dice di Tesla il suddetto sito delle Parrocchie:
Si tratta senza alcun dubbio di una delle personalità più incredibili, geniali e discusse dell’intero Novecento. E l’alone di mistero che circonda Nikola Tesla è ingigantito dalle circostanze particolari della sua morte, mai dei tutto chiarite, avvenuta l’8 gennaio del 1943 a New York, nel pieno del secondo conflitto mondiale. Nikola Tesla era un personaggio veramente singolare. Oltre ad essere alto 2 metri, era severo nello sguardo e scostante nei modi. Non si sposò mai e dichiarò per tutta la vita di essere ‘asessuale’ e che questa sua caratteristica era stata importantissima per favorire lo sviluppo dei suoi studi e delle sue intuizioni. Per tutta la vita rifuggì qualsiasi occasione mondana, e rarissimamente accettò di farsi ritrarre in fotografia.
La frase che tutti commuove e che tutti citano è una delle frasi attribuite a Tesla:
Il dono della forza della ragione ci viene da Dio, dall’Essere Divino, e se concentriamo le nostre menti su questa verità, stabiliamo un’armonia con questa grande forza. Mia madre mi aveva insegnato a cercare ogni verità nella Bibbia.
Carlson, per parte sua, conclude il suo articolo con le seguenti parole:
Tesla ha lasciato dietro di sé un’eredità controversa. Da un lato, l’inventore di origine serba è universalmente celebrato come il padre del motore a corrente alternata … Dall’altro canto, però, le sue pittoresche dichiarazioni lo hanno fatto diventare il santo patrono di varie sette spirituali alternative. Affascinati dalla pretesa di Tesla di aver scoperto i segreti mistici dell’universo, i suoi moderni ammiratori sostengono che individui potenti come Edison e Morgan cospirarono per impedire che Tesla perfezionasse le sue invenzioni e rivoluzionasse il mondo.
Rivendicazioni esagerate e teorie di cospirazione a parte, Tesla ha dato contributi enormi in campo ingegneristico. La capacità di concentrarsi sui principi fondamentali fu la sua più grande forza ma diventò anche la sua maggiore debolezza. Fin troppo spesso Tesla fu così inebriato dalla bellezza delle sue intuizioni di base da non volersi occupare degli sviluppi concreti delle sue invenzioni.
e, aggiungo io, come con Marconi non si rintracciano lavori teorici di questo tecnico. Mai che trattasse con elaborazioni teoriche, con l’analisi le sue scoperte. Una scienza come questa, da praticoni, non ha alcun futuro.
Io mi fermo qui sperando che questo lavoro, per me noioso, sia almeno utile a qualche lettore.
Roberto Renzetti
NOTE
(1) Uno storico deve tentare di rifarsi a documenti ufficiali e, mentre alcuni cantori di Tesla (come ad esempio Lossing, Benson John e Wysock, W.C., J.F. Corum, J.M. Hardesty e K.L. Corum), affermano che egli abbia completato i suoi studi in ingegneria meccanica ed elettrica, matematica e fisica, le Università interessate continuano smentendo questi autori (si vedano: http://www.serbnatlfed.org/Archives/Tesla/tesla-ey.pdf ; http://www.presse.tugraz.at//pressemitteilungen/2006/16.05.2006_graz.htm; Wohinz, Josef W; Kulishich, Kosta).
(2) Il brano che segue è quello che accompagna il disegno del disco nei Diari:
255. A copper disc was cemented on the top of a cylinder magnet, paper intervening, the top being the
marked pole; the magnet supported so as to rotate by means of string, and the wires of the galvanometer connected with the edge and the axis of the copper plate. When the magnet and disc together rotated unscrew the marked end of the needle went west. When the magnet and disc rotated screw the marked end of the needle went east.
256. This direction is the same as that which would have resulted if the copper had moved and the
magnet been still. Hence moving the magnet causes no difference provided the copper moves. A rotating and a stationary magnet cause the same effect.
257. The disc was then loosed from the magnet and held still whilst the magnet itself was revolved; but now no effect upon the galvanometer. Hence it appears that, of the metal circuit in which the current is to be formed, different parts must move with different angular velocities. If with the same, no current is produced, i.e. when both parts are external to the magnet.
(3) Il fenomeno scoperto da Arago e comunicato nel 1824 era il seguente: un disco di rame viene posto in rotazione sotto un ago magnetico: anche l’ago comincia a ruotare, se libero di farlo.


Il fenomeno, chiamato da Arago magnetisme de rotation, fu interpretato da Faraday attraverso l’induzione elettromagnetica. Quando un disco ruota sotto un ago magnetico sospeso, taglia le linee di forza associate all’ago e in tal modo si producono nel disco delle correnti indotte. A queste correnti sono associate delle forze circolari che agiscono sull’ago e lo fanno ruotare. Da notare che il fenomeno dell’induzione elettromagnetica fu interpretato da Faraday mediante il concetto di linee di forza tagliate e non col concetto di variazione del flusso concatenato, come abitualmente si studia l’induzione elettromagnetica. Il campo magnetico del magnete che taglia il disco induce in esso delle forze elettromotrici che fanno circolare delle correnti che, a loro volta, per opporsi alla causa che le ha generate, producono un campo magnetico che determina un’azione elettrodinamica che tende ad eliminare il moto relativo. Charles Babbage e J. Herschel dimostrarono successivamente che è vero anche il contrario ovvero che “un magnete in rotazione trascina il disco conduttore“:

(4) Qui servirebbe un’analisi più approfondita. In questo dispositivo non vi è propriamente una variazione di flusso concatenato con il conduttore, e quindi la legge di Faraday-Neumann-Lenz sembrerebbe non applicabile. Il fenomeno si spiega bene invece mediante la Forza di Lorentz che discende comunque dalla legge suddetta.
(5) Nel seguito delle sue ricerche Faraday modificò l’esperienza del disco che ruota tra le espansioni polari di un magnete. Le successive esperienze furono realizzate con il disco di rame incollato, attraverso un foglio di carta, ad un magnete cilindrico, in modo che la rotazione di magnete e disco di rame fosse solidale (figura a sinistra). Ebbene anche in questo caso i contatti striscianti prelevavano una corrente che invece non esisteva quando la rotazione era del solo magnete cilindrico (figura a destra).

In definitiva: il circuito è percorso da corrente se ruota il disco o il magnete insieme al disco; viceversa, non viene indotta alcuna corrente se ruota solo il magnete
(6) La ruota di Barlow, realizzata dal fisico inglese Peter Barrow (1776-1862) nel 1821, è mostrata nella figura seguente:

La ruota di Barlow. Si noti che, al di sotto delle espansioni polari del magnete, vi è la vaschetta contenente mercurio
Un disco di rame dentato (ma ciò non è necessario) è libero di ruotare, intorno al suo asse, fra le espansioni polari di un magnete, quindi in un campo magnetico perpendicolare al suo piano. La ruota è sistemata in modo che le sue punte entrino in contatto con un bagno di mercurio sistemato in basso. Collegando l’asse del disco ed il mercurio con i poli di un generatore di corrente continua (una pila), il circuito si chiude attraverso il raggio della ruota relativo al contatto del dente con il mercurio. Nasce allora una forza che provoca la rotazione continua del disco. Cambiando verso alla corrente o invertendo le polarità della calamita, il senso di rotazione della ruota si inverte. La ruota di Barlow costituisce un primo esempio di motore elettrico, cioè di un dispositivo atto a trasformare l’energia elettrica in energia meccanica.
(7) I brevetti di Tesla risalenti a questo periodo e tutti orientati alle correnti polifase sono (da Wikipedia):
- U.S. Patent 334,823 – Commutator for Dynamo Electric Machines – 1886 January 26 – Elements to prevent sparking on dynamo-electric machines; Drum-style with brushes.
- U.S. Patent 350,954 – Regulator for Dynamo Electric Machines – 1886 October 19 – Automatic regulation of energy levels; Mechanical device to shift brushes.
- U.S. Patent 335,786 – Electric arc lamp – 1886 February 9 – Arc lamp with carbon electrodes controlled by electromagnets or solenoids and a clutch mechanism; Corrects earlier design flaws common to the industry.
- U.S. Patent 335,787 – Electric arc lamp – 1886 February 9 – Arc lamp’s automatic fail switch when arc possesses abnormal behavior; Automatic reactivation.
- U.S. Patent 336,961 – Regulator for dynamo electric machines – 1886 March 2 – Two main brushes connected to helices coil ends; Intermediate point branch shunt connection for third brush.
- U.S. Patent 336,962 – Regulator for Dynamo Electric Machines – 1886 March 2 – Auxiliary brush[es] shunting a portion or whole of the field helices coil; Regulates energy flow; Adjustable level of current.
(8) L’articolo originale si può leggere in: http://www.tfcbooks.com/tesla/1888-05-16.htm . Gli scritti di Tesla si trovano in: http://www.tfcbooks.com/tesla/contents.htm
(9) Ferraris fu anche assessore presso il comune di Torino ed a lui si deve la realizzazione di una scuola per l’insegnamento dell’elettricità, prima struttura organicamente costituita in Italia e tra le prime del mondo. La sua scuola venne frequentata anche da funzionari delle varie Amministrazioni del nuovo Paese che si formava, inviati a Torino per apprendere la nuova disciplina.
(10) G. Ferraris, Rotazioni elettrodinamiche prodotte per mezzo di correnti alternate Il Nuovo Cimento, 23 (1888), 246-263. ( http://fisicavolta.unipv.it/percorsi/pdf/Ferrarisrotaz.PDF ).
(11) Questa nota non avrebbe senso in un Paese normale ma siamo nell’Italia del 2011 con i barbari al potere ed allora occorre sottolineare alcuni aspetti della personalità delle persone. Ferraris fu nominato senatore a vita per i suoi meriti scientifici. Nel discorso d’insediamento disse: lasciate che la mia mente. fissando l’avvenire si bei nella visione di una generazione non altro intenta che al bene del comune Paese.
(12) N. Tesla, HIGH FREQUENCY OSCILLATORS FOR ELECTRO-THERAPEUTIC AND OTHER PURPOSES, The Electrical Engineer, Vol. XXVI. November 17, 1898. No. 550. (http://www.tfcbooks.com/tesla/1898-11-17.htm )
(13) Per seguire l’opera di Marconi si può leggere: R. Renzetti, Il contributo scientifico di Guglielmo Marconi.
(14) Il breve saggio, Prepared Statement di Nikola Tesla, si può leggere in: http://www.tesla.hu/tesla/articles/19370710.doc
BIBLIOGRAFIA
(1) W. Bernard Carlson – L’inventore di sogni – Le Scienze 441, maggio 2005.
(2) Charles Singer (a cura di) – Storia della tecnologia – Boringhieri 1965
(3) Gordon D. Friedlander – Tesla Nikola – in Scienziati e Tecnologi, Arnoldo Mondadori Editore 1975
(4) L. Sprague De Camp, Catherine C. De Camp – The Story of Science in America – Charles Scribner’s Sons, New York 1967
(5) L. Pearce Williams – Michael Faraday – Basic Book, New York 1965
(6) W. P. Jolly – Guglielmo Marconi – Mursia 1974
(7) Degna Marconi Paresce – Marconi, mio padre – Frassinelli 1993
(8) U. Forti – Storia della scienza – Dall’Oglio 1968
(9) M. Faraday – Experimental Researches in Electricity – Encyclopedia Britannica, University of Chicago 1952
(10) J. Jamin – Petit Traité de Physique – Gauthier-Villars, Paris 1870
WEBOGRAFIA
(1) – http://en.wikipedia.org/wiki/Nikola_Tesla
(2) – www.fisicamente.net/FISICA/TECNICA_ELETTRICA.pdf
Categorie:Filosofia
Rispondi