di Roberto Renzetti
PARTE II: VERSO LO ZERO ASSOLUTO. L’ELIO LIQUIDO
DEWAR A LONDRA
Nel 1878 il professore di chimica a Cambridge, James Dewar (1842-1923), avendo saputo degli esperimenti di Cailletet e Pictet tenne alla Royal Institution di Londra una delle lezioni del venerdì nelle quali presentò gli esperimenti suddetti con una macchina di Cailletet che era arrivata da Parigi come regalo del ricco mecenate Warren de la Rue. Era l’inizio delle ricerche sul freddo dello scienziato britannico che via via le continuò a raccontare nelle lezioni del venerdì sempre più affollate e mondane(1).
Le prime lezioni erano dimostrative con una macchina costruita altrove. Per iniziare a diventare artefice di progressi occorreva mettere su un laboratorio con idee e macchine realizzate in proprio. Questa fase ebbe inizio nel 1884 quando già Z. F. Wroblewski e K. S. Olszewski avevano ottenuto i loro successi nella liquefazione in quantità dell’ossigeno e che Dewar illustrò ancora nelle conferenze del venerdì(2). Ci vollero due anni prima che il Presidente della Royal Society, Sir George Gabriel Stokes, annunciasse a quel pubblico che aveva assistito alla solidificazione dell’ossigeno realizzata da Dewar(3). Questo successo originò in seguito una lite sulla priorità con Olszewski per un motivo sciocco. Dewar aveva pubblicato i suoi risultati nell’appendice di un suo articolo dal titolo Recent Research on Meteorites ed esso era sfuggito ad Olszewski proprio perché non pensava che in fondo ad un tema come le meteoriti vi fosse una discussione sull’ossigeno solido. E così rivendicò la priorità per tutto il tempo necessario con due articoli, Claim for Priority su Nature e On the Liquefaction of Gases sul Philosophical Magazine. Dewar, che era di carattere irascibile, rispose con durezza anche perché queste priorità continuavano ad essere rivendicate da molti. Ma questa solidificazione voleva dire che dal 1887, anno nel quale Dewar era diventato direttore dei suoi laboratori in sostituzione di John Tyndall, qualche progresso nella macchina era stato fatto e tale progresso, dovuto all’applicazione dell’effetto Joule–Thomson, venne annunciato e descritto dallo stesso Dewar. Queste ricerche venivano comunicate continuamente nelle conferenze del venerdì con una peculiarità che Dewar mantenne sempre: non dava dettagli costruttivi degli apparati e macchine utilizzati. Ciò comportava due cose importanti: da una parte i fenomeni che si descrivevano e mostravano dovevano essere visibili e quindi la liquefazione di un gas doveva essere in quantità non microscopica e dall’altra i liquidi realizzati dovevano essere conservati per un certo tempo proprio per permetterne la visione ad un vasto pubblico. La prima eventualità era stata risolta a partire dagli esperimenti di Cracovia. La seconda la risolse lo stesso Dewar realizzando lo strumento che ancora oggi è in uso e porta il suo nome, il vaso Dewar (noto anche come thermos o criostato). La sua elaborazione partiva da un espediente trovato da Cailletet per far vedere il liquido che aveva ottenuto. Nei primi tentativi si formava ghiaccio sulla parete esterna del capillare di vetro contenente il poco gas liquido realizzato, ghiaccio che impediva la visione di ciò che c’era dentro il medesimo capillare. Per risolvere il problema, l’ingegnere francese rivestì il capillare con un secondo tubo di vetro ed alla base dell’intercapedine mise una sostanza che assorbisse l’umidità. A Cracovia si copiò il sistema con un perfezionamento datato 1884. Sulla parete esterna del recipiente di vetro contenente etilene liquido, che riparava l’ossigeno liquido dal calore esterno, si faceva scorrere vapore di etilene freddo. Questo espediente fu utilizzato nei successivi esperimenti di Olszewski e nelle dimostrazioni di Dewar.

Evoluzione dell’isolamento del gas liquido fino al criostato. In (a) e (b) i due successivi sistemi per isolare il gas liquido dal calore esterno di Cailletet. In (c) il sistema di Dewar.

Ossigeno liquido in un vaso Dewar (la colorazione azzurrognola è caratteristica dell’ossigeno liquido).
L’obiettivo di Dewar era però quello di liquefare l’idrogeno (e quindi di mostrarlo) ma da alcuni conti sui calori latenti di evaporazione risultava che i sistemi di isolamento di Cailletet non avrebbero permesso di mantenere l’idrogeno liquido. A questo sistema Dewar, nel 1892, apportò le modifiche che lo misero in grado di contenere e mantenere l’idrogeno liquido e mostrò il suo apparato in una forma definitiva in una conferenza del gennaio del 1893(4). In una delle esperienze di quegli anni Dewar osservò una cosa notevole soprattutto per quanto vedremo più oltre: sia l’ossigeno che l’ozono liquido sono attratti fortemente da un magnete. La novità delle esperienze di questi anni, rispetto a ciò che si aveva, è l’uso del vuoto come isolante di gran lunga migliore dell’aria che prima c’era nell’intercapedine. A ciò si aggiunsero altri semplici ed efficacissimi sistemi come la sottigliezza del vetro che conteneva il vuoto ed il suo essere stato reso speculare. Questo strumento fu un grandissimo avanzamento sulla strada del raggiungimento di temperature sempre più basse perché permise di disporre di grandi quantità di gas liquido (fino ad un litro rispetto al centimetro cubico precedente) per un tempo importante che poi sarebbero servite per operare su altre liquefazioni. Mendelssohn ricorda qui che, quando Dewar presentò questo apparecchio alla Royal Institution, si lamentò dei pochi fondi di cui disponeva la ricerca ed aggiunse che per fortuna la Goldsmith’s Company aveva dato un importante finanziamento. Dico questo per far rendere conto che la ricerca avanzata ormai era affare che costava moltissimo. Essa o poteva essere finanziata da uno Stato o da grandi industrie private. Le industrie, evidentemente, finanziavano solo quei progetti che vedevano in grado di far ritornare dei soldi e sembra proprio che gli industriali britannici avessero buon occhio.
Dopo un lavoro(5) del 1895 dedicato a nuovi esperimenti, nel 1896 venne pubblicato un lavoro(6) di Dewar che rispondeva a varie rivendicazioni di priorità, sia sulla realizzazione del contenitore Dewar, sia sulle esperienze che aveva fin lì realizzato. La macchina che utilizzava era del tipo che utilizzava l’effetto Joule- Thomson che ho discusso alla fine della parte prima di questo lavoro e che riporto per semplicità.

Riferendoci alla figura vediamo il funzionamento di una macchina di Linde (o Hampson). In A (recipiente di sinistra) viene compresso un gas che, dopo essere passato attraverso un condensatore C, arriva ad uno scambiatore di calore D e quindi al recipiente B dove subisce l’espansione attraverso un beccuccio. Abbiamo qui un leggero abbassamento di temperatura di modo che il gas che si espande, in D, raffredda quello in arrivo. In tal modo al beccuccio in B vi è un continuo raffreddamento finché non inizia la liquefazione del gas che si raccoglie in E. Il beccuccio ha così sostituito il motore ad espansione delle precedenti macchine con grande risparmio e semplificazione. Tali semplificazioni hanno però comportato da un lato il lavorare con pressioni più elevate e dall’altro avere maggiori quantità di gas, con la perdita totale in efficienza.
Ma anche sull’uso di questa macchina Dewar ebbe da dover discutere e questa volta con Hampson che l’aveva brevettata in Gran Bretagna. In definitiva Dewar affwrmava che sia lo scambiatore di calore, introdotto da Siemens nel 1857, che l’effetto Joule-Thomson, più o meno dello stesso periodo, erano ben noti a tutti.
Tornando al lavoro di Dewar del 1896, in esso vi erano degli esperimenti d’interesse che venivano descritti tra i quali quelli sull’espansione dell’idrogeno in un apparato simile a quello utilizzato per liquefare l’aria costituito da scambiatore e effetto Joule-Thomson. Uno di questi mostrava che immettendo nel sistema il gas idrogeno a temperatura ambiente, esso non si raffreddava. Se veniva invece immesso con un raffreddamento preventivo mediante aria liquida, l’idrogeno si raffreddava anche se non dava segni di liquefazione. La temperatura dell’idrogeno era scesa di molto e Dewar se ne rese conto indirizzando un getto di questo idrogeno gassoso raffreddato su dell’ossigeno liquido. Quest’ultimo congelò immediatamente. Da valutazioni che fece, Dewar pensava di trovarsi una ventina di gradi sopra lo zero assoluto e quindi capì che ormai si era già in situazione di studiare cosa fa la materia a quelle temperature e che la liquefazione dell’idrogeno era vicinissima. Aggiunse anche un cenno sul modo di abbassare ancora la temperatura: Queste difficoltà verranno superate mediante l’uso di un vaso a vuoto [un vaso Dewar, ndr] di forma differente e ricercando un isolamento termico migliore: che sia possibile raccogliere e manipolare l’idrogeno in vasi a vuoto di concezione adeguata, è cosa al di fuori di ogni dubbio.
Dewar mostrava di essere vicino e la corsa iniziò a farsi frenetica perché a Cracovia si avevano notizie dei lavori di Olszewski che aveva liquefatto l’aria ed analoghe notizie arrivavano da Leida dove era al lavoro Kamerlingh Onnes, anch’egli con l’aria liquefatta con il metodo a cascata. E finalmente, il 10 maggio 1898, Dewar riuscì nell’impresa di liquefare l’idrogeno ottenendo 20 cm3 di idrogeno liquido. Nel resoconto che fece continuavano a non essere descritte le macchine ma solo le temperature in gioco(7).
Scriveva Dewar che l’idrogeno era stato liquefatto al primo tentativo con un preraffreddamento di – 205°C, che equivale a 68°K, e che per raccogliere tutti i 20 cm3 erano stati necessari 5 minuti (la pressione era di circa 180 atmosfere). Era un liquido incolore, con un menisco netto, molto poco denso. E la temperatura ? Dewar si era reso conto che i suoi termometri elettrici (termocoppie) si erano bloccati, vicini allo zero assoluto iniziavano strani fenomeni: non si registrò la differenza di potenziale tra la coppia di metalli dalla quale risalire al valore della temperatura. Essa doveva comunque essere molto bassa perché Dewar immerse nel criostato due provette sigillate, una contenente ossigeno gassoso e l’altra aria, ed ambedue i gas solidificarono immediatamente. Le esperienze furono ripetute con nuovi tipi di termometri elettrici basati sulla variazione di resistenza in un filo di platino al variare della temperatura. Quando lavorava con aria ed ossigeno liquidi la resistenza di tale filo diminuiva proporzionalmente alla diminuzione di temperatura. Questa proporzionalità vi era anche quando il termometro era stato raffreddato al punto di ebollizione dell’idrogeno ma la temperatura segnata dallo strumento risultava alta (35°K) ed il fenomeno non si spiegava. Sembrava proprio che vi fosse una variazione di resistività avvicinandosi allo zero. Dewar provò allora ad usare un termometro a gas costruito con ogni cura in modo che il gas contenuto nel termometro avesse un comportamento il più vicino possibile ad un gas perfetto. In tal modo misurò la temperatura dell’idrogeno liquido, intorno ai 20°K, ma in modo non perfettamente definito(8).
VERSO LA LIQUEFAZIONE DELL’ELIO
Continuando con una sorta di tradizione, anche qui le polemiche non smisero. Questa volta fu Hampson, uno dei due del brevetto del 1895 di macchine per fabbricare il freddo (l’altro, lo ricordo, era Linde), che scrisse nel 1898 a Nature per dire che si stupiva di Dewar per non aver citato il suo contributo alla liquefazione dell’idrogeno. Hampson si sarebbe recato alla Royal Institution nel 1894 ed avrebbe discusso con Robert Lennox, assistente di Dewar, della sua macchina per creare freddo con incorporato l’uso dell’effetto Joule-Thomson. Dewar, nel suo lavoro del 1896 sulla liquefazione dell’aria che anticipava la liquefazione dell’idrogeno, aveva parlato della macchina di Linde ed aveva citato quella di Hampson solo in una nota. Vi era evidentemente qualche problema tra i due ma, di fronte alle cose scritte da Hampson su Nature, Dewar nella sua replica a Nature tirò fuori tutto il suo cattivo carattere e reagì furiosamente affermando che Hampson era una nullità. La brutta polemica proseguì ripetendo riti già officiati e che non finirono qui. Sembra proprio che vi sia stata la volontà di qualcuno di acquisire notorietà perché la macchina di Dewar fondata, sull’effetto Joule-Thomson, era in funzione molto prima che Hampson brevettasse la sua macchina.
In ogni caso Dewar andava avanti e l’anno successivo, 1899, ottenne la solidificazione dell’idrogeno (- 255°C). I primi tentativi seguirono alcuni trucchi e metodi già utilizzati per altre fasi di liquefazione ed in particolare l’abbassare la pressione aspirando i vapori al di sopra del gas liquefatto. Qui non funzionò per l’estrema criticità della situazione infatti il calore che si sottraeva in questo modo era inferiore a quello che era immesso per il funzionamento dell’apparato aspirante. Sembrava che si dovesse intervenire ancora isolando termicamente tutto l’isolabile ma avanzava anche una sorta di sfiducia sul riuscire ad andare oltre proprio per la sproporzione che via via aumentava tra quanto si voleva togliere q e quando si doveva aggiungere per togliere ciò che si voleva. Ma, anche qui, ad una lettura più attenta (abbassamento inatteso del calore di evaporazione dell’idrogeno), si affacciava qualcosa che sembrava contraddire le leggi della fisica ordinaria. Dewar superò anche questo ostacolo nel modo raccontato da Mendelssohn:
Dewar, infine, superò anche l’ostacolo del basso calore di evaporazione ponendo il suo vaso a vuoto [vaso Dewar, ndr], contenente l’idrogeno liquido da solidificare, in un altro vaso a vuoto riempito di aria liquida. Quest’ultimo fungeva allora da schermo freddo, minimizzante il flusso di calore nella parte centrale del criostato. Quando la pressione del vapore aspirato cadeva a 5 cm di mercurio, nel liquido appariva una schiuma che cominciava poi a formare una massa chiara trasparente: l’idrogeno era stato fatto solidificare. Come era prevedibile dalla natura chiara del liquido, l’idrogeno solido non si rivelò un metallo, come invece alcuni chimici avevano predetto con sicurezza.
C’era ancora la difficoltà di determinare la temperatura del punto triplo. Dewar la valutò, dalle letture del suo termometro a gas, a circa 16°K, ma più tardi fu chiaro che egli era stato troppo cauto in tale valutazione: infatti si era avvicinato allo zero assoluto entro 14 gradi. Si può ottenere un ulteriore raffreddamento, aspirando con una pompa il vapore sovrastante il solido, anche se non ci si deve aspettare con ciò un grande abbassamento della temperatura per il fatto che la pressione di vapore diventa presto molto piccola. Qui ancora una volta Dewar sottovalutò il risultato ottenuto: ritenne infatti che la più bassa temperatura da lui raggiunta con l’idrogeno solido fosse pari a 13°K. È difficile per noi oggi dire quanto in là egli sia effettivamente andato, perché tutto dipende dai dettagli dell’apparecchiatura sperimentale, ma probabilmente scese fino a 12°K o anche ad una temperatura leggermente inferiore.
A questo punto restava l’obiettivo liquefazione dell’elio, era l’ultimo gas restato e la sfida per liquefarlo diventava sempre più difficile perché eravamo già a 12°K e della liquefazione dell’elio non vi era traccia. Inoltre, anche qui, incombeva la concorrenza dei laboratori di Cracovia e soprattutto di Leida. Dewar riprese i suoi tentativi nel 1901 ritornando alla macchina di Cailletet che, facendo a meno dell’effetto Joule-Thomson, richiedeva meno gas di quanto non ne richiedessero le ultime macchine cicliche usate da Dewar. Non vi era dubbio che uno dei primi problemi da affrontare per liquefare l’elio era disporre di elio e di questo gas ve ne era davvero poco. Egli ottenne poco elio dalle sorgenti calde delle miniere di Bath e Wildbad. Da tali miniere si ricavava un gas che era principalmente azoto nel quale vi era una proporzione bassissima (0,0005) di elio che andava separato dall’azoto (ma anche dall’ossigeno e dall’anidride carbonica) con reazioni chimiche ed anche con raffreddamenti successivi. Il cattivo carattere di Dewar gli creò un grave problema. Il suo laboratorio era vicino a quello di Ramsay e con il suo aiuto avrebbe potuto conseguire maggiori quantità di elio e quindi lavorare con la macchina ad effetto Joule-Thomson. Ma Dewar aveva avuto da ridire con Ramsay tanto che i due non si parlavano. Tutto era iniziato in una riunione della Royal Institution del 1895. Dewar parlava dei suoi tentativi di liquefare l’idrogeno. Ramsay, a fine conferenza, dice che a Cracovia avevano liquefatto idrogeno in quantità. Dewar era rimasto male ed aspettò qualche annuncio ufficiale che non venne fin quando egli stesso nel 1898 non riuscì a liquefare l’idrogeno. Quando lo comunicò alla Royal Institution, ancora una volta Ramsay intervenne dicendo che a Cracovia già lo avevano liquefatto. Dewar si inalberò e chiese le prove. Qualche tempo dopo Ramsay ammise con uno scritto sui Proceedings of the Royal Institution che vi erano stati degli equivoci e che la priorità era certamente di Dewar. Chi ci aveva rimesso in questa controversia ed in un primo tempo fu Ramsay che aveva bisogno di idrogeno liquido per separare l’elio dal neon. Ma dopo un poco di tempo questo problema ricadde sulla mancanza di elio da parte di Dewar. E su questo probabilmente si decise chi avrebbe liquefatto l’elio. Ma Ramsay si era trovato un giovane assistente, Travers, per realizzare una macchina per liquefare idrogeno. Travers la costruì in breve tempo ed a bassissimo prezzo (cosa che suonò come altro attacco a Dewar che invece aveva sempre detto che le ricerche sulle basse temperature erano costosissime). Così Ramsay produceva idrogeno liquido e per maggior disgrazia di Dewar, nel 1901, anch’egli era diventato un concorrente sulla via della liquefazione dell’elio.
Nel 1901 Dewar fu invitato a tenere una Bakerian Lecture sulle ricerche che portava avanti(9). Raccontò di come eliminava le impurità dall’elio, facendolo passare in un tubo ad U immerso in idrogeno liquido esse si depositavano in basso. La temperatura da cui partiva nella sua macchina di Cailletet era quella del punto triplo dell’idrogeno (14°K) ed operava ad 80 atmosfere. Ma non aveva raggiunto la liquefazione. Aveva però fatto dei conti ed aveva valutato di essere sceso a 9°K (anche se doveva essere arrivato a meno, a circa 2 o 3 °K) che risultava essere il punto triplo dell’elio (qualche anno prima, nel 1896, aveva tentato di liquefare l’elio Olszewski che dava per il suo punto triplo valori più bassi di 9°K(10)). Altri suoi calcoli mostravano che, partendo da idrogeno liquido o solido sarebbe stato possibile liquefare l’elio con il metodo utilizzato perché la temperatura critica dell’elio non sarebbe dovuta essere più bassa di 6 o 8°K, con un punto di ebollizione di 4 o 5°K. A fine conferenza Dewar sostenne che con l’elio non sarebbe finita la corsa alla liquefazione perché, secondo lui, doveva esistere un altro gas inerte che liquefaceva a temperature ancora più basse dell’elio.
Una cosa a questo punto risultava chiara, con macchine di Cailletet non si andava avanti: troppo poco elio e molto calore prodotto dal sistema di compressione ed espansione. Prima però di affrontare l’impresa di una nuova macchina basata sull’effetto Joule-Thomson, Dewar volle cercare di stabilire quale era il punto critico dell’elio. Ci riuscì nel 1904 con un esperimento basato sull’assorbimento dell’elio da parte del carbone di legna alla temperatura dell’idrogeno liquido. Trovò il valore di 6°K e la cosa gli sembrò promettente per il raggiungimento della liquefazione(11). Solo un anno dopo una notizia non piacevole venne da Cracovia: Olszewski aveva trovato che il punto triplo dell’elio non si sarebbe dovuto trovare più su di 1 °K(12) e quella temperatura sembrava davvero lontana tanto che lo stesso ricercatore polacco scrisse che probabilmente l’elio non si poteva liquefare. Risultati analoghi venivano dai lavori di Kamerlingh Onnes a Leida. Dewar si mise al lavoro cercando ogni possibile soluzione(13) e comunque convinto che occorresse cambiare macchina. Il suo collaboratore, Lennox, suggerì che sarebbe stato conveniente costruire la macchina ciclica interamente in metallo, evitando le parti in vetro. Dewar si oppose perché voleva vedere dentro. In definitiva le difficoltà si erano accumulate con la maggiore che continuava ad essere la non disponibilità del gas che costringeva ad una data macchina e con le difficoltà (che Ramsay avrebbe potuto superare) dell’eliminazione delle impurità nell’elio disponibile, impurità che regolarmente ostruivano punti delicati della macchina. In particolare non si riusciva a separare completamente l’elio dal neon ed il neon diventava ghiaccio al tentare di abbassare la temperatura per liquefare l’elio e quel ghiaccio bloccava meccanicamente i passaggi del gas elio. A ciò si deve aggiungere un incidente che mandò in fumo l’intero lavoro. Un tecnico aprì una valvola sbagliata e si perse tutto l’elio di cui si disponeva.
Nel 1908 in una memoria(14) che ripeteva un titolo di 7 anni prima, Il Nadir della temperatura, Dewar raccontò tutti i problemi che gli si erano presentati ma si disse convinto di riuscire a liquefare l’elio se solo ne avesse avuto una quantità intorno ai 100 o 200 litri. Ma il 9 luglio arrivò da Leida la notizia che distrusse ogni speranza di Dewar L’elio è stato liquefatto dal prof. dott. Kamerlingh Onnes, presso l’Università di Leida, il 9 luglio 1908.
Dewar si dedicò ad altro. Divenne sempre più litigioso e si isolò da tutti. Con lui la Gran Bretagna smise di fare ricerche sulle basse temperature.
KAMERLINGH ONNES A LEIDA
L’Olanda aveva una ottima tradizione su questioni inerenti alle basse temperature. Ricordo che le problematiche si iniziarono a porre nel Settecento con i lavori dell’olandese Martinus von Marum e che fu Van der Waals a sistemare teoricamente le problematiche connesse con le curve di Andrews. Proprio quest’ultimo risultato servì da impulso alla fondazione nel 1904 di un Laboratorio Criogenico a Leida aggregato all’Università.
Nel 1882 la cattedra di fisica sperimentale a Leida venne assegnata ad un giovane che aveva lavorato sulle ricerche e sulle conclusioni di Van der Waals, Heike Kamerlingh Onnes (1853-1926) che aveva studiato ad Heidelberg con Kirchhoff e Bunsen. Una delle elaborazioni di Van der Waals che più colpì Kamerlingh Onnes lo aveva portato a sostenere la teoria degli stati corrispondenti secondo la quale le sostanze si comportano in modo analogo rispetto ai tre stati di aggregazione della materia. I suoi primi lavori furono indirizzati proprio allo studio delle isoterme di Van der Waals e dei punti critici dei gas non ancora liquefatti. La sua era la ricerca delle costanti a e b, che comparivano nell’equazione di Van der Waals [ (P + a/V2)(V – b) = nRT ], per differenti gas.

Ed ora eravamo in situazione che quei valori dovevano essere determinati con estrema precisione poiché erano finiti, appunto, i tempi pioneristici. Ed il nostro, con formazione di ottimo fisico sperimentale che non disdegnava però gli approcci teorici, era persona che aveva nella precisione uno dei suoi riferimenti importanti, tanto che inaugurò il suo corso di fisica con una lezione che aveva per titolo proprio L’importanza della ricerca quantitativa nella fisica(15). Ed egli attrezzò il suo laboratorio in modo che fosse funzionale proprio a ricerche di elevatissima precisione tanto che, a parte i suoi successi personali, quei laboratori furono esempio per la costruzione di vari altri laboratori in varie parti del mondo. La sua abilità personale, oltre a venir fuori nella sua pazienza e cortesia nei rapporti umani, era anche legata ad una programmazione delle ricerche non del giorno per giorno ma su periodi anche lunghi. Trasformò la ricerca in una impresa legata con l’industria; nel suo laboratorio si soffiava il vetro e si realizzavano strumenti di precisione; si stampava una rivista scientifica, Comunicazioni del Laboratorio di Fisica dell’Università di Leida, che aggiornava in modo comprensibile su ogni passo che si faceva sulla strada delle basse temperature e che divenne uno strumento indispensabile per ogni laboratorio di ricerca che si occupasse dei medesimi problemi. In particolare su tale rivista egli pubblicò una serie di articoli, Methods and apparatus used in the cryogenic laboratory, finalizzati proprio a far comprendere ai lettori come organizzare un laboratorio di basse temperature. Proprio per disporre di gas liquidi in quantità egli realizzò tra il 1892 ed il 1894 un impianto a cascata per la produzione di ossigeno, azoto ed aria liquidi. L’insieme di queste realizzazioni trasformò Leida in una sede di visite scientifiche da tutta Europa ma anche in una sede in cui lo scienziato che avesse voluto sarebbe potuto entrare per fare le sue esperienze.
Vi fu un solo intoppo durato due anni sul finire dell’Ottocento, quello di un amministratore (tanto ligio quanto ignorante) che parlò del pericolo che rappresentavano quei laboratori per la popolazione. Le autorità fecero sospendere l’attività e nominarono una Commissione per valutare la denuncia. In breve tempo la cosa si risolse a favore dei Laboratori. E la cosa non deve stupire chi vive in questo disgraziato Paese che è l’Italia. Altrove le cose funzionano così nel rispetto degli interessi di tutti. Si decide in fretta con personale competente. Infatti in quella Commissione non vi era un parente o un portaborse di quel politico che aveva fatto la denuncia ma persone come Van der Waals.

Kamerlingh Onnes e Van der Waals (in piedi).
Kamerlingh Onnes era più indietro nei suoi lavori rispetto a quelli dei laboratori concorrenti. Ancora nel 1906, otto anni dopo i successi di Dewar, non aveva prodotto idrogeno liquido in quantità utili per i tentativi successivi di liquefazione di altri gas. Ma le sue macchine erano inesorabilmente al lavoro producendo 4 litri di liquido l’ora. Ciò gli permise di trovarsi improvvisamente in vantaggio rispetto ai suoi “rivali” che sembravano operare in piccoli laboratori artigiani in confronto a chi aveva a disposizione un grande impianto industriale. L’elio, estratto da alcune sabbie di monazite, gli veniva nel frattempo procurato in quantità importanti tramite l’interessamento di suo fratello che dirigeva l’Ufficio delle Informazioni Commerciali. Come scriveva Kamerlingh Onnes, la preparazione di elio puro in grandi quantità divenne principalmente una questione di perseveranza e cura. Intanto le officine meccaniche avevano disponibile il progetto della macchina che avrebbe dovuto liquefare l’elio. Si trattava di un grande impianto basato sulla macchina ciclica di Linde che fu pronto ad operare nel giugno del 1908.

Kamerlingh Onnes (a destra) e G. J. Flim, che insieme a Kesselring, era a capo delle officine meccaniche dei Laboratori, a Leida nel 1908.
L’ESPERIMENTO DECISIVO
Onnes aveva capito che occorreva un’ottima conoscenza del comportamento dell’idrogeno e dell’elio attraverso le loro isoterme per individuare con assoluta precisione la temperatura critica dell’elio ed indirizzò i suoi lavori sperimentali proprio a questo studio che fu lungo e metodico, dal 1906 al 1908 (16). Studiò tali isoterme dai 100 °C ai – 217 °C che è la temperatura in cui l’ossigeno gela e, da tali risultati estrapolò che il punto critico dell’elio doveva trovarsi intorno ai – 250 °C. Questo risultato avrebbe permesso di utilizzare l’effetto Joule-Thomson per far espandere l’elio attraverso una valvola con la conseguenza che l’elio si sarebbe raffreddato se si fosse partiti dal punto di congelamento dell’idrogeno. Un confronto con l’idrogeno portava Onnes ad una temperatura critica di 6°K la quale era in accordo con la legge degli stati corrispondenti(17) che dava un valore di 5,3 °K. Comunque Onnes sospettava che con l’elio, ancora più che con l’idrogeno, questa legge non funzionasse alla precisione e che questo valore fosse in pratica inferiore. E questa era la migliore stima che si potesse fare della temperatura critica. Andando avanti con le sue ricerche, man mano che le macchine gli permettevano di scendere a temperature inferiori, egli ebbe conferma dei suoi precedenti risultati studiando le isoterme dell’elio da – 252°C a -259°C. Questi risultati erano tali che Onnes non si scoraggiò per le notizie dei fallimenti di Londra e Cracovia e decise di provare a condensare l’elio attraverso un’unica espansione in un tubo di vetro da laboratorio. Onnes utilizzò più gas elio di quanto ne avessero utilizzato i suoi competitori, lo raccolse in uno speciale recipiente dopo l’espansione curando molto l’isolamento.
Il 28 febbraio Onnes fece espandere 7 litri di elio da 100 ad 1 atmosfera con una temperatura di – 259 °C. Con grande stupore, il recipiente di vetro sottostante alla valvola di espansione si riempì di una massa bianca come la neve mentre al più ci si aspettava una debole nebbiolina. L’esperienza venne ripetuta 8 o 9 volte, sempre con lo stesso risultato. Ed Onnes riassunse i fatti davanti all’Accademia Reale Olandese affermando che in corrispondenza all’espansione dell’elio, ad un certo punto apparve una densa nebbia grigia da cui usciva fuori una massa solida galleggiante nell’elio gassoso che somigliava in parte ad un batuffolo di cotone ed in parte a delle masse dense, che sembravano galleggiare in uno sciroppo liquido, aderendo alle pareti e scivolando verso il basso nello stesso tempo in cui svanivano con rapidità (circa 20 secondi). E non vi era traccia di un mescolamento(18). Onnes pensò e subito dopo gridò di aver conseguito la solidificazione dell’elio e l’annunciò il giorno successivo all’Accademia e con un telegramma a Dewar che sportivamente si congratulò e pensò di dare la notizia al Times. Sei settimane dopo risultò che tutto era stato un clamoroso errore con tutte le conseguenze di perdita di prestigio, almeno momentanea.
Onnes ritornò a studiare le sue isoterme dell’elio le quali avevano mostrato avere qualche problema alle temperature più basse dover la temperatura critica sembrava essere più bassa di quella a temperature maggiori. Vi erano poi gli ordinari incidenti tra cui l’esplosione di un contenitore di vetro per ricostruire il quale sarebbe occorso un mese di lavoro, i problemi delle pompe aspiranti che non sembravano essere all’altezza della situazione. Furono moltissime le cose da riorganizzare e mettere a punto ma finalmente, il 10 luglio del 1908 l’esperienza ebbe successo: si riuscì a produrre elio liquido e con sommo orgoglio ma anche mostrando di essere esausto Onnes ne dette comunicazione all’Accademia raccontando ciò che accadeva minuto per minuto, appuntando proprio l’ora in corrispondenza della quale avveniva un dato evento(19). L’esperimento iniziò alle 5, 45 del mattino con la liquefazione di 20 litri di idrogeno che terminò alle 13, 30.

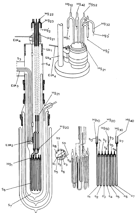
Immagine schematica del liquefattore dell’elio collegato ad un criostato per elio. L’idrogeno (H2) ha la funzione di preraffreddamento. Il gas elio (He) penetra nell’apparato in un circuito chiuso A, dopo di che passa attraverso le spirali del rigeneratore (nelle quali ritorna come gas preraffreddato il gas che viene immesso nel sistema), uscendo dalla valvola di espansione K (sulla quale si può operare dall’esterno con una lunga asta) per andare verso il sistema di raffreddamento mediante l’effetto Joule-Thomson. Questo ciclo si ripete più volte finché non si arriva alla liquefazione dell’elio che viene sifonato fuori, dentro un criostato separato in cui vi sono sia gli strumenti che le sostanze da studiare.

In a un vaso Dewar ed in b un criostato a vaso doppio. La freccia rossa mostra il collegamento alla pompa da vuoto. In questo disegno è l’azoto liquido che mantiene freddo l’elio liquido. Il foro 1 chiuso da un tappo di gomma è da dove è immesso l’elio liquido; il numero 2 indica un anello di gomma per rendere ermetica la chiusura; il numero 3 indica un qualunque dispositivo che si voglia raffreddare.
Con estrema cautela si passò a preraffreddare l’intero circuito mediante questo idrogeno liquido. Serviva cautela per evitare qualsiasi infiltrazione di aria che sarebbe immediatamente diventata ghiaccio ed avrebbe sia otturato ogni condotto sia impedito la visualizzazione. Alle 16,20 fu inserito elio nel sistema ed il criostato iniziò a ricevere una sostanza a delle temperature fino ad allora mai raggiunte (coscientemente). Le operazioni erano seguite con un termometro a gas elio che doveva dare indicazioni di dove si scendeva. Questo termometro restò fermo per molto tempo. Con alcuni aggiustamenti manuali alla valvola di espansione ed alla pressione quel termometro iniziò ad indicare una discesa di temperatura che dopo un poco cessò. Intanto stava terminando l’idrogeno liquido disponibile. Erano le 19,30 e sembrava che ormai l’esperimento fosse fallito. Il professor Schreinemakers che si era affacciato nel laboratorio, come vari altri, per vedere cosa accadeva dell’esperimento annunciato, fece una semplice osservazione che scosse tutti. Disse se per caso quel termometro non dava segni di discesa perché era immerso in una sostanza (l’idrogeno) in ebollizione e tutti (o quasi) sanno che durante i cambiamenti di stato la temperatura si mantiene costante. Non era per caso già liquefatto l’elio e vi era solo la difficoltà di vederlo ? Magari illuminando meglio dal basso il recipiente che avrebbe dovuto contenere la sostanza liquefatta … Fatto ciò che era stato consigliato e trovato l’elio liquido. Una data davvero storica: l’ultimo gas era stato liquefatto !

Schema dell’intero e complesso apparato utilizzato da Onnes che compare nel suo lavoro originale.
Un altro visitatore, il prof. Kuenen, dopo essersi soffermato a guardare il liquido osservò che il menisco era molto poco visibile nel punto d’incontro del liquido con il contenitore e che l’aspetto generale era lontano da quello dell’ossigeno e dell’idrogeno mentre si avvicinava all’anidride carbonica vicina al punto critico. Questi fenomeni sembravano marginali ma in seguito avrebbero assunto notevolissima importanza.
Onnes andò avanti con l’esperimento spingendo al massimo per ottenere la temperatura più bassa possibile ed intanto aveva raccolto 60 cm3 di elio liquido. La sua speranza era quella di ottenere elio solido facendo bollire l’elio liquido, aspirandone i vapori e quindi riducendone la pressione fino a un centesimo di atmosfera. A tal fine consumò 50 cm3 dell’elio liquido prodotto senza cenno di solidificazione. Onnes pensò che il punto triplo dell’elio doveva essere a temperature inferiori senza rendersi conto che stava intorno ad 1°K. Onnes non riuscì mai a solidificare l’elio e la comprensione del problema vi fu solo dopo la sua morte che avvenne nel 1926 dopo che ebbe il Nobel per la fisica nel 1913 (per la sua scoperta della supercondittività del 1911).

Particolare della figura precedente che compare nell’articolo originale di Onnes
Era stata un’impresa gigantesca andata avanti per molti anni. Forse la più grande impresa dell’epoca che iniziava a mettere in campo la big science, quella ricerca scientifica che o si fa con il sostegno dello Stato, a volte degli Stati, o con grandi contributi privati. Probabilmente non emerge la big science in quanto ho detto ma vi è tutta, in ogni macchina, apparato, compressore, macchina da vuoto, valvola, manometro, termometro, pompe, strumenti di misura vari.

Uno schema che dà l’idea del manometro di cui disponeva Onnes. Si trattava della sistemazione di una serie di manometri differenziali montati in modo che la pressione da misurare passasse dall’uno all’altro e fosse garantita la migliore misura. In totale si aveva una colonna di mercurio di 45 metri. Dalla Nobel Lecture di Onnes.
Onnes tornò ancora a lavorare con l’elio per tentare di ottenerlo allo stato solido. Ci provò nel 1909 e 1910 ma non accadde nulla. Riuscì, abbassando via via la tensione di vapore, ad arrivare ad 1,04°K e forse anche a meno. Per scendere ancora occorreva arrivare agli anni Venti, nel dopo guerra, quando si realizzarono pompe da vuoto molto migliori per le esigenze delle lampade ad incandescenza e, soprattutto, delle valvole radio.

Foto del laboratorio che compare nell’articolo originale di Onnes.
LA MATERIA VICINA ALLO ZERO ASSOLUTO
Onnes non si rese completamente conto, al momento dei suoi successi, di cosa aveva aperto in ambito fisico. Una vera rivoluzione nei comportamenti della materia a quelle temperature vicine allo zero assoluto. Per ora abbiamo intravisto qualche strano comportamento sul quale tornerò più oltre. Ad esso occorre aggiungere la densità dell’elio liquido misurata dallo stesso Onnes, risultava incredibilmente bassa, un ottavo di quella dell’acqua.
Fu proprio Onnes ad indirizzare la sua ricerca alle proprietà della materia a quelle temperature. Una delle ricerche che per prima fu realizzata a partire dal 1911 era relativa a quell’anomalia della resistenza e della resistività(20) dei conduttori che sembravano diminuire quando la temperatura diminuiva fino ad annullarsi allo zero assoluto (ricordo che questo fu un problema per Onnes che gli impedì di utilizzare i termometri funzionanti con le variazioni della resistenza di certi metalli) e, con gli sviluppi commerciali dell’elettricità, la cosa risultò di interesse industriale e generale. Il problema della resistenza alle basse temperature se l’era posto anche Dewar ma aveva complicato i problemi più che risolverli.

Elio liquido
Egli aveva misurato la resistività del platino in funzione della temperatura ed aveva trovato che essa diminuiva, al diminuire di T, meno di quanto ci si sarebbe dovuti aspettare. Sembrava insomma che, al diminuire la temperatura la resistenza dovesse crescere fino a diventare infinita, una teoria che andava per la maggiore all’epoca, indipendentemente dai risultati sperimentali. Eravamo agli inizi della teoria degli elettroni di Lorentz. Di struttura atomica ancora si sapeva molto poco e si pensava che, a basse temperature, gli elettroni dovessero restare tutti strettamente legati ai loro atomi senza che il loro moto fosse in alcun modo permesso. Ciò voleva dire che la resistenza dei conduttori, allo zero assoluto, sarebbe dovuta diventare infinita. Sembrava quindi che Dewar avesse trovato una prima conferma sperimentale ai primi abbozzi di teoria atomica della conduzione elettrica. Ma vi erano altre teorie che, all’epoca stessa, provenivano da Berlino. Il chimico fisico Walther Nerst (1864-1941) avanzava l’ipotesi opposta su motivazioni che discuteremo più oltre. Secondo Nerst cioè, all’approssimarsi allo zero assoluto, la resistenza doveva annullarsi.
Kamerlingh Onnes si mise a ricercare proprio da lì, dalle temperature dalle quali Dewar aveva lasciato e, con il suo metodo preciso e rigoroso, pubblicò una serie di memorie sulle misure sperimentali realizzate sulla resistività di vari metalli a bassissime temperature(21). Anche qui sorsero varie difficoltà nelle prime esperienze perché sembrava che quando la temperatura diminuiva la resistenza si mantenesse costante. Si era in uno stallo completo senza poter sostenere l’una o l’altra teoria e/o misura. Vi fu però un’osservazione risolutiva dello stesso Onnes sui campioni di metallo che utilizzava. Dato uno stesso tipo di metallo, la resistenza (indipendentemente dal variare dalla temperatura) variava da campione a campione ed era minore quanto più puro era il metallo. Ciò poteva solo dipendere dalle impurità contenute nel campione ed Onnes si spostò su questa linea di ricerca. Scelse quindi i metalli che, con le tecnologie dell’epoca, si potevano meglio purificare iniziando dall’oro che era migliore del platino sotto questo profilo. L’esperienza con l’oro andava nel senso di quanto sostenuto da Nernst, la resistività diminuiva al diminuire della temperatura. Con una profonda differenza però che Onnes non colse subito perché le sue idee, sulla linea di Nernst, furono un pregiudizio. Ora affermare con Nernst che allo zero assoluto la resistività diventa nulla rimarrebbe, se il fatto risultasse confermato, nell’ambito della inutilità della cosa, viste le difficoltà per arrivare a qualche grado sopra tale zero. Ma trovare ciò che stava trovando Onnes, che la resistività si annullava alle temperature agibili con l’elio liquido era un fenomeno dalle caratteristiche profondamente differenti. In ogni caso Onnes fornì una formula del comportamento della resistività nel caso dell’oro che prevedeva una resistività che andava a zero con lo zero assoluto. E qui è utile dare un riferimento alla fisica teorica che veniva reclamata, anche se in modo piuttosto pasticciato. Per spiegare la considerevole diminuzione di resistenza, virtualmente a zero, ai 4,2°K ed il fatto che la resistenza resterebbe a zero per temperature inferiori, Onnes si servì della teoria dei quanti di Planck. Utilizzando gli oscillatori della teoria dei calori specifici di Einstein ed un miscuglio di Planck, Einstein e teoria degli elettroni di Lorentz, Onnes presentò la sua formula della conducibilità elettrica in funzione della temperatura. A basse temperature non erano gli elettroni ma gli oscillatori che tendevano a congelare, in funzione delle loro frequenze ricavabili dai calori specifici.
Ma Onnes era estremamente metodico e l’esperienza con l’oro non poteva soddisfarlo. Iniziò con il successivo metallo che poteva facilmente essere ottenuto con elevato grado di purezza mediante distillazioni multiple sotto vuoto, il mercurio. Arrivato con il mercurio alle temperature bassissime dell’elio liquido, come quelle precedentemente utilizzate per l’oro, Onnes trovò che la resistività era praticamente sparita. Mentre alla temperatura dell’idrogeno liquido la resistività era ancora relativamente alta e lo era ancora alla temperatura di ebollizione dell’elio liquido, scendendo di qualche grado, tale resistività sembrava annullarsi. Il 27 aprile 1911 comunicò questi risultati all’Accademia affermando, erroneamente, che essi erano in accordo con la sua formula ricavata nel caso dell’oro. Comunque si riproponeva di fare altre misure il cui risultato comunicò un mese dopo (il 27 maggio). Questa volta aveva migliorato gli strumenti di misura. La resistività era misurata tramite un galvanometro differenziale con il metodo della sovrapposizione degli shunts.

Partendo da destra: i campioni di mercurio utilizzati da Onnes nell’esperienza dell’aprile del 1911; di seguito tali campioni sistemati all’interno di capillari per la successiva immersione nella zona di raffreddamento del criostato contenente elio liquido (figura grande a sinistra). Dalla Nobel Lecture di Onnes.
Questa volta Onnes si rese conto che la resistività del mercurio precipitava proprio poco sotto il punto di ebollizione dell’elio e conseguentemente che non c’era accordo con la formula che aveva provato a costruire in un precedente lavoro. Serviva indagare ancora e sei mesi dopo, nel novembre, uscì una sua memoria che mostrava che Onnes aveva accettato i risultati trovati: in due centesimi di grado vi era il precipitare della resistività (vedi figura seguente)

In ascisse vi è la temperatura in gradi Kelvin ed in ordinate vi è la resistività.
E’ interessante sovrapporre i grafici delle esperienze precedentemente fatte da Onnes per il platino e l’oro (vedi figura seguente).

La curva del mercurio è quella che viene giù ripida (vi è una qualche differenza con la precedente figura perché ora in ordinate abbiamo una scala differente). In alto vi è la curva del Platino (Pt) impuro la cui resistitività era stata misurata prima alla temperatura dell’idrogeno liquido (I) quindi a quella dell’elio liquido (II). Subito al disotto la curva per l’oro (Au) impuro con le stesse considerazioni fatte per il platino. Ancora più in basso le curve per l’oro puro.
Onnes stette un intero anno a lavorare sul mercurio per capire gli strani fenomeni che aveva notato e della cui esistenza dava un solo cenno in chiusura della memoria del novembre 1911. Rileggiamo Onnes nel 1913 in 3 successive e lunghe memorie del febbraio, marzo e maggio. Studiava le proprietà di altri materiali alle basse temperature anche per scoprire la validità della legge di Ohm. Si convinse che esiste un punto di transizione al di sotto del quale tale legge non ha più valore ed introduce (nella memoria del marzo) il termine superconduttività. A questo punto vale la pena leggere cosa dice Mendelssohn a proposito dell’introduzione di questa parola:
Sembra che egli l’abbia introdotta puramente per ragioni di brevità di espressione, e dal primo uso che ne fece non pare che avesse ancora compreso appieno questa nuova proprietà. In realtà, durante una relazione ad un congresso scientifico a Washington, egli parlò del suo lavoro sul mercurio come di una realizzazione dello «stato superconduttivo, la cui esistenza era divenuta probabile solo grazie agli esperimenti sull’oro e sul platino». Fino a questo momento, la superconduttività deve essere apparsa a Onnes ancora come un fatto che, sebbene degno di nota, non era tuttavia del tutto inatteso: egli evidentemente la considerava come un caso estremo del normale meccanismo di conduzione elettrica attraverso un metallo.
Non possiamo entrare a questo punto nelle peculiarità che Kamerlingh Onnes osservò nei primi esperimenti sul mercurio superconduttivo e che lo fecero esitare a pubblicare le sue osservazioni. Il modello che lentamente emergeva dalle osservazioni sue e degli altri metteva in evidenza il fatto che la superconduttività, lungi dall’essere un caso estremo di conduzione ordinaria, è un fenomeno che ha solo piccole connessioni con qualunque proprietà nota della materia. Essa sfidò l’interpretazione teorica per quasi mezzo secolo ed ancor oggi [prima metà anni Sessanta del Novecento, ndr], anzi, siamo ben lungi dal poterne dare una spiegazione completa.
La superconduttività fornisce un esempio pratico di quanto possa essere difficile fare una grande scoperta, anche quando il corrispondente effetto sia notevole e non richieda più di un esperimento abbastanza semplice per essere rilevato. Lo scienziato, il quale considera gli avvenimenti che osserva come manifestazioni di un complesso più organico, cercherà sempre di collegare quanto scopre con tutte le nozioni acquisite dalla scienza, e ciò gli rende difficile spiegare a prima vista un fenomeno che non abbia connessioni con qualche fatto noto. Cosi era abbastanza inevitabile che Kamerlingh Onnes tentasse di trovare un posto alla superconduttività nella struttura della conduzione ordinaria. Nel suo caso particolare il problema era ulteriormente confuso dalla sua assolutamente erronea affermazione secondo cui la conduzione ordinaria dovrebbe diventare infinita ad una certa bassa temperatura. Solo gradualmente, poiché i suoi esperimenti dimostravano sempre più quanto la superconduttività differisca dal modello noto della conduzione elettrica, Kamerlingh Onnes riuscì a capire la grandezza della sua scoperta. Più di vent’anni dopo, quando egli era ormai prossimo alla fine della vita, alcuni aspetti centrali della superconduttività rimanevano ancora da scoprire; ma anche cosi Onnes ebbe la soddisfazione di sapere che aveva scoperto nella superconduttività un aspetto totalmente nuovo della materia, fino allora nascosto nel mondo delle temperature bassissime che proprio lui aveva aperto. Egli intravide anche un altro fenomeno altrettanto strano, senza tuttavia afferrarne il significato fondamentale. Accadde in gran parte come per la superconduttività: proprio la grandezza della scoperta che stava per essere fatta impedì di compierla.
Ho già accennato alla densità dell’elio liquido che era sorprendentemente molto bassa. Ebbene quest’ultimo fenomeno è quello a cui si riferisce Mendelsshon. Onnes, che non lasciava problemi in sospeso, affrontò sperimentalmente il problema per rendersi conto se questa densità variasse al variare della temperatura. Trovò una risposta affermativa: la densità dell’elio liquido risulta sempre molto bassa ma ha un massimo in corrispondenza di 2,3°K.

In ascisse vi è la temperatura ed in ordinate vi è la densità. A partire dal punto di ebollizione dell’elio fino a 2,2°K la densità cresce per poi decrescere un poco.
La curva trovata mostrava che l’elio liquido aumenta la sua densità al discendere della temperatura e la cosa fin qui era comprensibile. Ma fino ai 2,3°K dopodiché iniziava una discesa della densità che non ci si aspettava. E, di fronte ad una tale incomprensibile situazione, Onnes pubblicò il risultato nell’articolo del novembre del 1911 e lo comunicò nel 1913 nella sua Nobel Lecture senza ulteriori ricerche perché in quel momento era la superconduttività che interessava tutti. La questione venne ripresa solo nel dopoguerra quando Onnes portò avanti le sue ricerche insieme ad uno studente di dottorato Jan D.A. Boks(22). Nel fare queste nuove esperienze si imbatterono in un dato che era davvero fuori di ogni ordinaria previsione. Altri lavori Onnes li fece con il fisico statunitense Leo Dana che era in visita di studio a Leida. In connessione con lo studio approfondito di quella anomalia della densità, nel fare le misure del calore specifico al variare della temperatura, arrivati alla temperatura in cui si aveva il massimo di densità dell’elio (2,3°K) il calore specifico saltava a valori enormi (la conduttività termica aumentava improvvisamente di un milione di volte). Non sembrava possibile e non vi credettero. Non li inserirono quindi nella rapporto finale che descriveva i loro lavori che doveva essere pubblicato nel 1926. Accadde così che, mentre il lavoro era in attesa di essere stampato, Dana era tornato ad Harvard e Onnes era

Ciò che avevano trovato Onnes e Dana nel 1926 e che non pubblicarono (tra l’altro perché Onnes non si era fidato delle misure fatte dal suo collaboratore). Poco oltre nel tempo la temperatura in cui vi è questo vistoso aumento del calore specifico sarà chiamata temperatura Tλ dalla forma a λ del grafico che rappresenta il calore specifico intorno a quella temperatura.

Sovrapposizione dei due grafici trovati per l’elio. In corrispondenza della temperatura di 2,3°K si ha il massimo di densità già visto ed anche lo schizzare in alto del calore specifico.
morto e così quella scoperta rimase in sospeso in attesa di essere sviluppata altrove perché, con la scomparsa di Onnes, la ricerca sulle basse temperature, dopo breve tempo con il passaggio dei laboratori al suo ex studente Willem Hendrik Keesom (1876-1956), si spostò altrove. Ma ciò che aveva seminato Onnes doveva ancora dare ottimi frutti proprio con i lavori di Keesom. Intanto, nel 1926, Keesom, dopo alcuni lavori fatti con Onnes(23), era riuscito a solidificare l’elio operando non solo con la temperatura, che era appena sotto 1°K, ma anche con la pressione portata a 26 atmosfere(24). Questa solidificazione così ottenuta lasciava pensare ciò che poi si mostrò chiaramente: l’elio non ha un punto triplo. Il suo diagramma di stato differisce da tutti le altre sostanze risultando quello di figura seguente (il nome linea λ sarà dato successivamente ma ora lo userò per comodità):

Nel 1927, Keesom insieme a Mieczyslaw Wolfke fecero il passo conseguente a quanto sperimentalmente si era trovato. In una memoria intitolata Due differenti stati liquidi dell’elio(25), Keesom e Wolfke conclusero che nel diagramma di fase dell’elio (quello della figura precedente) vi è una linea (quella indicata come linea λ) attraversando la quale si hanno due diversi comportamenti dell’elio. A temperature più elevate si ha l’elio ordinario, che i due chiamarono Elio I; a temperature più basse si ha un altro elio, l’Elio II. Le due fasi dell’elio sono stabili e presentano proprietà fisiche differenti. Un esempio evidentissimo della transizione di fase in corrispondenza di quella linea si ha anche visivamente. Mettendo dell’elio in un criostato e togliendo il suo vapore con una pompa si ottiene un raffreddamento progressivo dell’elio. In questo modo la temperatura può essere portata sotto 1°K. Durante il pompaggio, quando si passa in corrispondenza della linea λ si osserva un bollire vigorosissimo dell’elio in corrispondenza di quella sola temperatura, passata la quale l’elio diventa completamente quieto senza alcun segno di ebollizione. L’esistenza di due fasi dell’elio fece pensare che in definitiva anche l’elio aveva un punto triplo, quello che si trova tra solido, elio I ed elio II. Occorreva considerare che l’elio II fosse cristallino, un cristallo liquido. L’ipotesi risultò errata come mostrò l’osservazione dell’elio II ai raggi X (Taconis a Leida).

A sinistra l’elio liquido in corrispondenza della linea λ ed a destra, dopo un’ulteriore discesa della temperatura, quando si è superata tale linea (da Mendelssohn).
E Keesom sei anni dopo, nel 1932, riprese anche i lavori non pubblicati da Dana ed Onnes, insieme ad un ricercatore tedesco che si trovava a Leida per approfondire la sua preparazione, Klaus Clusius (che qualche anno dopo entrò nel programma di ricerca nucleare di Hitler). I due ricercatori, studiando il calore specifico dell’elio, ritrovarono la curva λ che Onnes e Dana avevano avuto paura di pubblicare(26).

La curva sperimentale che compare nel lavoro di Keesom e Clusius.
Tutti questi risultati sperimentali imponevano che anche la fisica, che era dietro le ricerche sulla via dello zero assoluto, doveva subire importanti cambiamenti anche con l’integrazione delle moltissime elaborazioni teoriche che dall’inizio del secolo si erano susseguite. Molti chiarimenti vennero nel 1938. In soli due anni si fecero moltissimi passi avanti in una sorta di rincorsa per riuscire a fare delle cose prima che la guerra che si profilava esplodesse e bloccasse di nuovo le ricerche. Un numero di Nature, il 141 del 1938, con gli articoli del fisico di Cambridge, J.F. Allen e di quello di Mosca P. Kapitsa, riportava tutti i risultati che si erano ottenuti.
Di tutto questo parlerò nella Parte III del lavoro.
NOTE
(1) James Dewar, The liquefaction of gases, Proceedings of the Royal Institution 8, 657-663, 1878.
(2) James Dewar, On the Liquefaction of Oxygen and the Critical Volumes of Fluids, Philosophical Magazine, 18, 210-216, 1884.
(3) Questa notizia venne data anche da Dewar in un articolo dal titolo Recent Research on Meteorites, Proceedings of the Royal Institution, 11, 541-550, 1886.
(4) James Dewar, Liquid atmospheric air, Proceedings of the Royal Institution 14, 1-12, 1893.
(5) James Dewar, On the Liquefaction of Gases, Philosophical Magazine 39, 298-305, febbraio 1895.
(6) James Dewar, New Researches on Liquid Air, Proceedings of the Royal Institution 15, 133-146, 1896.
(7) James Dewar, Preliminary Note on the Liquefaction of Hydrogen and Helium, Proceedings of the Royal Society of London, 63, pp. 256-258, 12 May 1898. Nel titolo si parla anche di liquefazione dell’elio. Le cose non stavano così perché quello che Dewar aveva considerato elio condensato non erano altro che delle impurità. La cosa è perfettamente ammissibile perché l’elio è un elemento estremamente raro sulla Terra (fu ufficialmente scoperto sulla Terra da W. Ramsay nel 1895) tanto è vero che la prima volta fu scoperto sul Sole (indipendentemente Lockyer e Janssen, mediante analisi spettroscopica durante l’eclisse solare del 18 agosto 1868). Inoltre è un gas totalmente inerte e non forma composti con altre sostanze.
James Dewar, On the boiling point of liquid hydrogen under reduced pressure, Proceedings of the Royal Society of London, 64, pp. 227-231, 1898.
James Dewar, The boiling point and density of liquid hydrogen, Proc. Chem. Soc. (London). 1898.
James Dewar, Liquid Hydrogen, Proceedings of the Royal Institution, 16, 1-14, 1899.
James Dewar, Solid hydrogen, Nature (London), 60 (1560): p. 514, 1899.
(8) James Dewar, The boiling point of liquid hydrogen as determined by a rhodium-platinum resistance thermometer, Proc. Chem. Soc. (London) 1899.
James Dewar, The boiling point of liquid hydrogen, determined by hydrogen and helium gas thermometers, Proc. R. Soc. London. 1901.
(9) James Dewar, The Nadir of Temperature and Allied problems. Bakerian Lecture, Proceedings of the Royal Society, 68, 360-366, 1901.
(10) K. Olszewski, Ein Versuch das Helium zu Verfl üssigen, Annalen der Physik 59, p. 184, 1896.
(11) James Dewar, The Absorption and Thrmal Evolution of Gases Occluded in Charcoal at Low Temperatures, Proc. R. Soc. London, 74, pp. 122-127, 1904.
(12) K. Olszewski, Weitere Versuche, das Helium zu Verfl üssigen, Annalen der Physik, 17, pp. 994-998, 1905.
(13) James Dewar, Studies with the liquid hydrogen and air calorimeters. Chem. News J. Ind. Sci., 92 (2395): p. 181-4, 1905.
James Dewar, Studies with the liquid hydrogen and air calorimeters, Proc. R. Soc. London, Ser. A. 1905.
James Dewar, New Low-Temperature Phenomena, Proceedings of the Royal Institution 18, 177-192, 1905.
James Dewar, Studies on charcoal and liquid air, Proceedings of the Royal Institution 18, 433-447, 1906.
(14) James Dewar, The Nadir of Temperature and Allied problems, Proceedings of the Royal Society, 79, 413-422, 1908.
(15) H. Kamerlingh Onnes, De beteekenis van het quantitatief onderzoek in de natuurkunde (Leiden 1882).
(16) H. Kamerlingh Onnes, Isotherms of monatomic gases and their binary mixtures. I. Isotherms of helium between +100°C and -217°C’, Koninklijke Nederlandsche Akademie van Wetenschappen (in seguito KNAW) Proceedings, 10 II, 1907-1908, Amsterdam, pp. 445-450. Comm. 102a, 1908.
H. Kamerlingh Onnes, Isotherms of monatomic substances and their binary mixtures. II. Isotherms of helium at -253°C and -259°C’, KNAW, Proceedings, 10 II, 1907-1908, Amsterdam, pp. 741-744. Comm. 102b, 1908.
(17) Questo principio afferma che se le variabili pressione P, volume V e temperatura T di un dato gas sono rimpiazzate dalle corrispondenti variabili ridotte (la pressione divisa per la pressione critica P/Pc, il volume diviso per il volume critico V/Vc e la temperatura divisa per la temperatura critica T/Tc) tutti i gas devono avere (circa) lo stesso comportamento.
(18) H. Kamerlingh Onnes, Experiments on the condensation of helium by expansion, KNAW, Proceedings, 10 II, 1907-1908, Amsterdam, pp. 744-747. Comm. 105, 1908.
(19) H. Kamerlingh Onnes, The liquefaction of helium, KNAW, Proceedings, 11, 1908-1909, Amsterdam, pp. 168-185. Comm. 108, 1909. L’articolo si può trovare al seguente link: http://www.digitallibrary.nl/proceedings/search/detail.cfm?startrow=1&view=image&pubid=2616&search=&var_pdf=&var_pages=
(20) Ricordo che la resistività di un conduttore è la resistenza che un suo campione di lunghezza e sezione unitarie offre al passaggio della corrente. Essa è il ρ che compare nella seconda legge di Ohm che lega la resistenza R di un materiale conduttore con la sua resistività ρ, lunghezza ℓ e sezione S:
R = ρ.(ℓ/S)
La resistività di un conduttore metallico è piccola e generalmente cresce linearmente con la temperatura. Nel caso dei metalli, siano:
ρt la resistività alla temperatura t
ρ0 la resistività a 0 °C
α il coefficiente di temperatura della resistività elettrica a 0 °C
allora, in prima approssimazione:
ρt = ρ0.[1+ α.t + …]
e poiché anche α dipende dalla temperatura, la trasformazione di questa formula con l’introduzione della temperatura assoluta [ρT = ρ273.T/T0] ha una validità limitata ad un ristretto ambito di temperature, dove α può essere considerato mantenersi costante.
(21) Kamerlingh Onnes, H., Further experiments with liquid helium. B. On the change in the resistance of pure metals, at very low temperatures. III. The resistance of platinum at helium temperatures, KNAW, Proceedings, 13, pp. 1107-1113. Comm. 119, 1911.
Kamerlingh Onnes, H., Further experiments with liquid helium. C. On the change of electric resistance of pure metals at very low temperatures etc. IV. The resistence of pure mercury at helium temperature, KNAW, Proceedings, 13 II, Comm. 120b, pp. 1274-1276, 1911.(Aprile)
Kamerlingh Onnes, H, Further experiments with liquid helium. D. On the change of electrical resistance of pure metals at very low temperatures, etc. V. The disappearance of the resistance of mercury, KNAW, Proceedings, 14 I, pp. 113-115, Comm. 122b , 1911. (Maggio)
Kamerlingh Onnes, H., Further experiments with liquid helium. G. On the electrical resistance of pure metals etc. VI. On the sudden change in the rate at which the resistance of mercury disappears, KNAW, Proceedings, 14 II, pp. 818-821. Comm. 124c, 1911. (Novembre)
Kamerlingh Onnes, H. Further experiments with liquid helium. H. On the electrical resistance of pure metals etc. VII. The potential difference necessary for the electric current through mercury below 4°19K, KNAW, Proceedings, 15 II, pp. 1406-1430. Comm. 133 a,b,c, 14, 1913.
Kamerlingh Onnes, H., Further experiments with liquid helium. II. On the electrical resistance etc. VIII. The sudden disappearance of the ordinary resistance of tin, and the super conductive state of lead, KNAW, Proceedings, 16 II, pp. 673-688, Comm. 133d, 1914.
(22) Kamerlingh Onnes, H., Sur des observations concernant l’équilibre des phases liquides et gazeuses de l’hélium à basses pression, Receuil des Travaux Chimiques des Pays-Bas XLII, nos. 7/8, 535-538, (15 July-August 1923).
H. Kamerlingh Onnes, J.D.A. Boks, Further experiments with liquid helium. V. The variation of density of liquid helium below the boiling point, Reports and Communications of the Fourth International Congress of Refrigeration, Comm. 170b, June 1924.
L.I. Dana and H. Kamerlingh Onnes,, KNAW, Proceedings, 29 II Further experiments with liquid helium. B.A. Preliminary determinations of the latent heat of vaporization of liquid helium, pp. 1051-1060. Comm. 179c (contains additional information), 1926.
L.I. Dana and H. Kamerlingh Onnes, Further experiments with liquid helium. B.B. Preliminary determinations of the specifi c heat of liquid helium, KNAW, Proceedings, 29 II, 1926, Amsterdam, pp. 1061-1068. Comm. 179d (contains additional information), 1926.
(23) Keesom, W.H. en Kamerlingh Onnes, H., The specific heat at low temperatures. I. Measurements on the specific heat of lead between 14° and 80°K. and of copper between 15° and 22°K, KNAW, Proceedings, 17 II, pp. 894-914. Comm. 143, 1915.
Keesom, W.H., The specific heat at low temperatures. II. Measurements on the specific heat of copper between 14 and 90°K, KNAW, Proceedings, 18 I, pp. 484-493. Comm. 149a, 1915.
Keesom, W.H. en Kamerlingh Onnes, H., The specific heat at low temperatures. III. Measurements of the specific heat of solid nitrogen between 14°K. and the triple point and of liquid nitrogen between the triple point and the boiling point, KNAW, Proceedings, 18 II, pp. 1247-1255. Comm. 149a, 1916.
Keesom, W.H. en Kamerlingh Onnes, H., On the question of the possibility of a polymorphic change at the point of transistion into the supraconductive state. KNAW, Proceedings, Comm. 174b (1924).
Keesom, W.H., Prof. Dr. H. Kamerlingh Onnes †; Zijn Levenswerk, de Stichting van het Cryogeen Laboratorium, Physica 6, 81-98, 1926 (ricordo di Onnes da parte di Keesom).
(24) Keesom, W.H., Solid helium, KNAW, Proceedings, 29, 1926, Amsterdam, pp. 1136-1145. Comm. 184b, 1926.
(25) Keesom, W.H., Wolfke, M., Two different liquid states of helium, in KNAW, Proceedings, 31, Amsterdam, pp. 90-94. Comm. 190b, 1928.
(26) Keesom, W.H., Clusius, K., Ueber die spezifische Wärme des flüssigen Heliums, KNAW, Procedings, 35, 307-319. Comm. 219e, 1932.
Keesom, W.H., Keesom, A.P., On the heat conductivity of liquid helium, Physica 3, 359-360. Comm. 242g, 1936.
BIBLIOGRAFIA
(1) AA. VV. – Scienziati e Tecnologi dalle origini al 1875 – EST Mondadori 1975
(2) O.U. Lounasmaa, G. Pickett – I superfluidi dell’elio 3 – Le Scienze 264, 1990
(3) N. David Mermin, David M. Lee – L’elio 3 superfluido – Le Scienze 107, 1977
(4) Eugene M. Lifshitz – La superfluidità – Articoli da Scientific American, Zanichelli 1969
(5) Articoli di Enrico Bellone su: Paolo Rossi (diretta da) – Storia della scienza – UTET 1988
(6) O.V. Lounasmaa – Nuovi metodi per avvicinarsi allo zero assoluto – Le Scienze 19, 1970.
(7) Kurt Mendelssohn – Sulla via dello zero assoluto – Il Saggiatore 1966. Da questo libro ho ripreso molte delle figure riportate nel testo.
(8) D.K.C. Macdonald – Verso lo zero assoluto – Zanichelli 1967
(9) V.V. Syčev – Sistemi termodinamici complessi – Editori Riuniti, Edizioni MIR 1985
(10) V. Edelmán – Cerca del cero absoluto – Editorial MIR MOSCU 1986
(11) Ya. Smorodinski – La temperatura – Editorial MIR MOSCU 1983
(12) P. Kapitsa – Experimento, Teoría, Práctica – Editorial MIR MOSCU 1985
(13) http://www.knaw.nl/publicaties/pdf/20071021.pdf
(14) H. Kamerlingh Onnes – Nobel Lecture – http://nobelprize.org/nobel_prizes/physics/laureates/1913/onnes-lecture.html
Categorie:Fisica
Rispondi