di Roberto Renzetti
PRIMA PARTE: IL MECCANICISMO, L’ILLUMINISMO, I BERNOULLI, EULER
1 – INTRODUZIONE
E’ necessario fare un discorso preliminare sul perché passo ora a discutere di un secolo e non più dei singoli scienziati.
Durante il Seicento, a partire dai lavori di Galileo, si erano moltiplicati in tutta Europa studi che tendevano ad approfondire, correggere, ampliare la grande mole di argomenti che improvvisamente si erano presentati. Ricordo che con la progressiva demolizione della fisica di Aristotele vi era letteralmente un intero mondo da ricostruire: una meccanica, una dinamica, un’astronomia, un’ottica, un’acustica, un fluidodinamica, …. e, per la necessità di sempre maggiore comprensione e precisione, erano diventati di enorme importanza affinare, perfezionare ed inventare gli strumenti matematici necessari ad elaborare quanto la ricerca sperimentale veniva offrendo. Si era infatti capito che il mero empirismo non faceva fare passi in avanti, occorreva passare all’interpretazione non ingenua della realtà e per far questo occorreva coniugare la matematica con i risultati delle esperienze. Dopo Galileo, abbiamo seguito i principali contributi di vari scienziati fino ad arrivare a Newton ed alle critiche principali ai suoi lavori. Con Newton abbiamo in mano i fondamenti della meccanica ed anche enormi aperture verso l’ottica senza dimenticare l’avvio di quello strumento matematico che è l’analisi matematica, indispensabile per fare passi in avanti nell’elaborazione dei dati dell’esperienza. Tutto questo deve essere messo in relazione con gli importanti lavori di Huygens, con la formulazione leibniziana dell’analisi e con altri e differenti contributi, ai quali abbiamo accennato, includendo le critiche di Leibniz e Berkeley ai lavori di Newton.
Il Settecento si apre con una panoramica in ambito scientifico che vede la meccanica al centro degli interessi e con Newton come lo scienziato per eccellenza. In tutto il secolo si vivrà una situazione strana di quasi blocco di ulteriori ricerche in ambiti indagati da Newton per la sudditanza in cui ci si metteva di fronte a quell’opera così completa, articolata e determinata logicamente. Si avranno importanti avanzamenti, non vi è dubbio, ma soprattutto in studi particolari su quanto Newton aveva fatto o solamente abbozzato. E’ questo il secolo in cui nasce ed arriva a perfezione la meccanica razionale (con il seguito in quella analitica), quella scienza che studia con sommi dettagli ogni minima articolazione della meccanica newtoniana passando da casi ideali a situazioni reali ed introducendo, nello studio del moto, la meccanica dei vincoli. Per realizzare questa mole di lavori estremamente complessi si dovette spingere su quell’analisi matematica che con Newton e Leibniz era rimasta ai primi vagiti e che, alla fine del Settecento, sarà entrata nella piena maturità. Insomma il Settecento è il secolo in cui si formalizzerà quanto Newton aveva descritto o trattato solo per via geometrica e con l’introduzione di alcuni principi fondamentali come quelli di conservazione (centro di gravità, momento, aree, forza viva, …) per rendere più agevole la trattazione dei problemi teorici che la meccanica proponeva. Intorno a questi studi e ricerche, con il raffinamento degli strumenti, in connessione ad un importante avanzamento della tecnica, si perfezioneranno alcune osservazioni astronomiche ed altre scienze particolari che inizieranno a svilupparsi e potranno affermarsi proprio perché da quelle parti Newton non aveva indagato (elettrologia, chimica e termologia, principalmente).
La più imponente scuola di fisica (meglio fisica-matematica) è certamente quella francese (in cui occorre comprendere anche quella svizzera) che fornirà scienziati eccelsi che daranno contributi fondamentali allo sviluppo della scienza. Può sembrare strano ma la Gran Bretagna che in qualche modo vedeva chiudersi il periodo delle feroci lotte di successione ed affermarsi un regime liberale, va perdendo il primato che per qualche tempo aveva avuto. Tale primato passa decisamente alla Francia dominata dalla chiusa, imbelle e bigotta monarchia assoluta, in stretta connessione con un clero autoritario e privilegiato.
2 – IL MECCANICISMO NELLA SECONDA META’ DEL ‘700
I primi anni del ‘700 videro un’aspra lotta negli ambienti scientifico-filosofici per l’affermazione di un programma di ricerca su di un altro (quello cartesiano, quello newtoniano e quello leibniziano). Questa lotta si accompagnava ad un’altra lotta, ancora più dura, che ormai da anni si portava avanti per la gestione del potere politico-economico da parte della nuova classe emergente: la borghesia. Il cambiamento del modo di produzione (dall’economia feudale a quella capitalistica) che si era avuto nel secolo precedente, insieme alla rivoluzione agricola della metà del ‘700, soprattutto in Gran Bretagna, nella Francia settentrionale e nei Paesi Bassi, aveva comportato l’affermarsi della nuova classe che disponeva ora di ingenti capitali(1). La produzione di molte merci e la conseguente necessità di maggiori scambi rendeva la borghesia insofferente ai condizionamenti del potere politico ed alle chiusure doganali. Si richiedeva un cambiamento radicale di indirizzo politico, la rottura di vecchi schemi, che vedevano ancora i proprietari terrieri (la nobiltà sostenuta dal clero ed il clero medesimo) come detentori del potere, il passaggio dalle chiusure nazionali al liberalismo economico(2). In campo nazionale occorreva creare nuovi bisogni, in campo internazionale occorreva aprirsi nuovi mercati di sbocco (colonialismo). Queste aspirazioni si erano andate realizzando in Gran Bretagna già a partire dalla seconda metà del secolo precedente ed in modo abbastanza indolore. La rivoluzione borghese(3) era stata non del tutto traumatica in quel paese e la monarchia non aveva più il potere assoluto. Un regime parlamentare, dominato dall’alta borghesia (banchieri, industriali, compagnie coloniali, …), si era sostituito ad essa nel governo dello Stato.
La Francia invece, come accennato, restava dominata da una monarchia assoluta (sostenuta saldamente dal clero) ed era dilaniata ed impoverita da continue guerre. In questo paese i contrasti tra i detentori del potere e la borghesia si accentuarono per tutto il secolo fino a sfociare nella Rivoluzione del 1789.
E la scienza non era immune dalle influenze di questa situazione. Durante la prima metà del secolo vi fu un notevole calo di sforzi e di interesse nella scienza pura ed applicata; questo periodo, al confronto con quelli immediatamente precedente e seguente, risultò particolarmente sterile. Fu proprio la ripresa della borghesia, dopo la stasi che si ebbe agli inizi del ‘700 in seguito a grossi crolli economici e successive risistemazioni sia in campo agricolo che industriale, che ridette, a partire dalla metà del secolo, nuovo slancio alla ricerca scientifica. Nel periodo che va dalla fine del ‘600 alla metà del ‘700, la scienza visse di rendita, organizzando, sistemando ed elaborando quanto era stato precedentemente sviluppato, senza avere alcun legame con il mondo della produzione (al contrario di quanto era accaduto nel secolo precedente in cui qualche legame vi era pur stato). In questo senso Newton fu una miniera inesauribile cui attingere ma, per altri versi, la sua grandezza risultò un ‘handicap’: il suo sistema risultava cosi apparentemente perfetto da scoraggiare i più a criticarlo ed a superarlo (i progressi che nella ricerca si fecero durante il ‘700 furono in gran parte in settori che Newton aveva appena toccato o non aveva trattato per niente). Il successivo balzo in avanti della borghesia dette nuovo slancio alla ricerca scientifica che, viste le peculiari situazioni politico-economiche, particolarmente della Gran Bretagna in confronto al continente(4), si sviluppò su strade e metodologie di carattere nazionale.
In Inghilterra presto si impose la fisica newtoniana che, in connessione con la filosofia di Locke, rappresentò un notevole avanzamento rispetto al razionalismo cartesiano e all’ induttivismo baconiano. L’esigenza costante era quella di fondare ogni conoscenza scientifica su una solida base sperimentale ed i filosofi naturali a questo si dedicarono tralasciando per lungo tempo ogni aspetto immediatamente applicativo della ricerca scientifica(5). In ogni caso l’attività pratica dell’uomo veniva tenuta in grande considerazione, fatto che è proprio dell’ideologia borghese. Ci si liberò subito dei residui metafisici presenti nell’opera di Newton del quale si prende a modello essenzialmente l'”Optics” per lo sviluppo di modelli meccanici basati su corpuscoli o su fluidi meccanici. Il processo di ‘laicizzazione’ della scienza si portava a compimento con la scomparsa di Dio dalla spiegazione dei fatti naturali.
Ben diversa è la situazione nel resto dell’Europa continentale.
In Francia i filosofi naturali si occupavano essenzialmente di scienza pura. Soprattutto nella prima metà del secolo, l’eredità del razionalismo cartesiano, faceva discutere della concezione del mondo, delle dottrine della Chiesa e della struttura dello Stato. Nel clima politico che ho precedentemente delineato ed in questa prospettiva culturale si inseriva la diffusione dell’Illuminismo.
3 – L’ILLUMINISMO
Il movimento culturale che prende il nome di Illuminismo nacque in Inghilterra ed ebbe i suoi maggiori sviluppi in Francia, nazione che contribuì grandemente alla sua diffusione nel resto d’Europa.
L’Illuminismo, che si ispira alla filosofia di Newton e di Locke e che ha nel primo un riferimento costante come rappresentante della ragione scientifica (osservazioni sperimentali e conseguenti elaborazioni teoriche, con la matematica, delle medesime) contro ogni metafisica, si svolse essenzialmente su tre grandi linee-guida:
1) La ragione è in grado di spiegare tutti i più grandi problemi dell’uomo. Lo spirito scientifico ha il primato su ogni forma di oscurantismo.
2) L’uomo ‘illuminato’ ha il dovere di difendere la cultura. Occorre che i filosofi naturali, essi stessi, facciano i divulgatori dello spirito scientifico. L’operazione di divulgazione porta con sé il superamento delle vecchie credenze che sono ancora alla base della diffusione, e quindi del potere, della religione.(6)
3) La condizione umana può essere radicalmente migliorata proprio dall’abbattimento di miti, pregiudizi, superstizioni. L’uomo che si è impadronito dello spirito scientifico può progredire.
Questa grande fiducia nelle possibilità dell’uomo nasceva certamente dai grandi successi che, nel secolo precedente, la filosofia naturale aveva conseguito. Ed il massimo sintetizzatore di quei successi e di quella filosofia naturale era proprio Newton che ora si ergeva a modello da imitare.
Con l’uso dei metodi scientifici indicati da Newton sarebbe stato possibile sbarazzarsi dei residui scolastici e metafisici presenti in Descartes ed in Leibniz. D’altra parte le filosofie cartesiana e leibniziana rispondevano bene agli interessi di chi manteneva vecchi privilegi e pertanto, da questi ultimi, erano state accettate e rese funzionali al loro sistema di potere. La lotta quindi contro il cartesianesimo ed il leibnizianesimo, per l’affermazione della filosofia di Newton, aveva in sé una grande carica rivoluzionaria e si configurava come lotta di potere con l’illusione che, di per sé, l’affermazione del newtonianesimo avrebbe comportato quella di nuove classi sociali (la borghesia).(7)
Fu certamente il grande impegno di un uomo come Voltaire (1694-1778) che riuscì a far conoscere(8) al grande pubblico francese l’opera di Newton.(9)
Furono poi i lavori di Condillac, Helvetius, Diderot, D’Alembert e molti altri fino a Laplace che imposero la filosofia di Newton nel continente. Ma questo passaggio dall’Inghilterra al resto d’Europa avverrà con notevoli cambiamenti della stessa. Pur mantenendo formalmente l’azione a distanza si introdurranno modelli fluidistici (calore, elettricità, magnetismo) che di fatto hanno bisogno di una trattazione ‘a contatto’; le forze, che nonostante tutto risultano oscure e vaghe, non sono più considerate come cause di accelerazioni ma come ‘semplici variabili delle equazioni differenziali che ne formulano le condizioni di equilibrio e di conservazione’; l’etere, che per Newton assolveva un ruolo importante, viene piano piano accantonato; lo spazio ed il tempo perdono il loro ruolo centrale diventando meri elementi di calcolo; le equazioni del moto si vanno sempre più configurando come ristrutturazione e non come ampliamento delle premesse newtoniane; Dio scompare nella spiegazione e nel sostegno del mondo.(10)
Dunque il movimento illuminista, in Francia, si staccò sempre più radicalmente dal razionalismo aprioristico di tipo cartesiano per abbracciare un nuovo tipo di razionalismo fondato su fatti empirici(11). In definitiva si lavora sempre più per risolvere problemi concreti piuttosto che occuparsi di concezioni del mondo. Le questioni tecniche, nel secolo precedente affidate in gran parte alla pratica del lavoro artigianale, vengono sempre più sottomesse a trattamento teorico e questo fatto comporterà un progressivo avvicinamento tra scienza e tecnica (anche se per tutto il XVIII secolo almeno, sarà la tecnica ad avere il primato delle conquiste più originali e feconde). Anche qui con i dovuti distinguo. Mentre infatti in Inghilterra, ancora per lungo tempo, il fatto tecnico potrà evolvere autonomamente e con grande e riconosciuta dignità come conseguenza della scelta, fatta dalla cultura inglese, di prendere a modello lo sperimentalismo del’”0ptics” di Newton per avvicinarsi alla comprensione dei fenomeni, ben altrimenti le cose si svolgeranno in Francia. In questo paese il modello metodologico cui i filosofi della natura si ispirano è quello matematico dei “Principia” e, non a caso proprio in Francia, la Meccanica diventerà Meccanica Razionale, Meccanica cioè che partendo dal fatto concreto, nel suo svolgersi, sempre più perde di vista il punto di partenza per passare ad elaborazioni in cui la matematica assume un ruolo determinante e che sempre di più usa metodi propri della matematica stessa. Si lavora per fornire alla Meccanica una validità scientifica che non dipenda più dalle semplici osservazioni empiriche.
Si tratta di ricavare tutti i fenomeni e tutte le leggi da alcuni principi molto generali. All’interno poi dei processi di elaborazione matematica dei lavori di Newton che, come abbiamo già accennato, trascendono l’opera stessa del nostro per configurarsi come ristrutturazione piuttosto che come generalizzazione di quest’opera, scaturiranno fatti nuovi come conseguenza della mera formalizzazione della teoria. La matematica non può qui, in alcun modo, essere considerata come puro e semplice strumento tecnico, come linguaggio che descrive fatti già noti, ma, al contrario, come qualcosa che, partendo dalla descrizione dei fenomeni, è in grado di predirne degli altri al suo interno. Sempre più quindi la matematica diventerà indispensabile per comprendere le tematiche in discussione e per poterne discutere con cognizione. Ed il filosofo che si sente sfuggire l’immediata lettura di un fatto naturale a causa del suo occultamento in equazioni via via più complesse, non potrà far altro che richiamarsi alla realtà che lui conosce, quella che i sensi gli sottopongono (ad esempio: Berkeley).
La potenza della matematica, nell’interpretazione e nella predizione di nuovi fenomeni, era molto chiara agli addetti ai lavori dell’epoca e non a caso insisteranno molto sulla sua insostituibilità scienziati come Daniel Bernouilli (1700-1782) e J. Fourier (1768-1850) e filosofi come I. Kant (1724- -1604). E questa potenza risulta tutta nella meccanica razionale ed analitica.
La ‘meccanica razionale’ è “una scienza che studia rigorosamente (a partire da un ristretto numero di leggi generali – n.d.r.) i sistemi meccanici perfetti, macchine ideali senza attriti, sul modello della ‘macchina celeste’, retta da forze agenti a distanza lungo la congiungente con intensità [inversamente] proporzionale al quadrato della distanza.“(11) E quindi, in nome del meccanicismo newtoniano, Lagrange (1736-1813) potrà affermare(12) nella prefazione della sua Meccanica Analitica (1788):
“Non si troveranno figure in quest’opera. I metodi che io espongo non richiedono né costruzioni né ragionamenti geometrici o meccanici, ma solamente operazioni algebriche soggette ad un andamento regolare ed uniforme. Quelli che amano l’Analisi vedranno con piacere la meccanica divenirne una nuova branca e mi saranno grati d’averne esteso così il dominio.”(13)
Ed anche D’Alembert, come del resto tutta la scienza che si affermò come ufficiale(14), non era alieno da avere una visione aristocratica del progresso sociale, in ogni caso condizionato dalla conoscenza “dei principi razionali e matematici”.
Alcuni però iniziarono una revisione di questa concezione e “Diderot, in particolare, attaccò, in ‘De l’Interpretation de la Nature’ (1753), l’eccessiva matematizzazione della scienza francese nel quadro di una rivalutazione baconiana della pratica degli artigiani.”(15)
Per tutto il ‘700, comunque, la Francia privilegerà la scienza teorica pura, mentre l’Inghilterra la scienza sperimentale ed applicativa (solo nei primi anni dell’ ‘800 questo dato si invertirà ed, in particolare, in Francia ci si occuperà di problemi applicativi soprattutto al fine di sostenere le necessità degli eserciti di Napoleone).(16)
In ogni caso, quanto abbiamo detto sull’accettazione della filosofia di Newton da parte degli illuministi francesi, non deve far intendere che non permanessero fortissimi influssi cartesiani che si compenetravano via via sempre di più con alcune problematiche leibniziane. Ed a proposito degli influssi di Leibniz sul ‘700 francese, si osservi che “D’Alembert, pur combattendo anche lui i principi della metafisica leibniziana, manifesta sempre la più grande ammirazione per il genio filosofico e matematico di Leibniz; e l’articolo di Diderot su Leibniz nell’Encyclopedie ne tesse un elogio entusiastico.”(17)
Anche in questo secolo quindi, come avevamo già osservato a proposito della rivoluzione scientifica del secolo precedente, non c’è l’egemonia incontrastata di una sola filosofia, ma l’ intrecciarsi di varie tematiche e problematiche che certamente vedranno il prevalere, per un lungo periodo, della filosofia di Newton ma che, allo stesso tempo, alimenteranno e nutriranno quelle correnti di pensiero che, prendendo le mosse essenzialmente da Leibniz, confluiranno, agli inizi del secolo seguente, in un’aspra critica del meccanicismo stesso (senza più alcuna distinzione sul tipo di meccanicismo).
4 – IL TRIONFO DEL MECCANICISMO E LE PRIME ISTANZE CRITICHE.
In tutto ciò che ho scritto fin qui ho cercato di delineare i caratteri fondamentali del XVIII secolo, il secolo dell’Illuminismo.
Resta, a questo punto, da completare il quadro generale, da aggiungere qualche considerazione, da trarre qualche conclusione e di cercar di mettere insieme le prime istanze critiche emergenti.
Gli ideali dell’Illuminismo, programma di emancipazione della borghesia, trovano un importante compimento, alla fine del secolo, con le rivoluzioni americana e francese;(18) con esse si sanziona il trionfo della borghesia e si comincia a delineare lo stato democratico-borghese con i suoi principi che saranno poi alla base di tutta la concezione liberale. Dagli Stati Uniti e dalla Francia questi principi ai propagheranno per tutta Europa e faranno da punto di riferimento ai moti liberali ottocenteschi.
Per altri versi il secolo assolverà al fondamentale ruolo di accelerare, portando a compimento, il processo di diffusione e laicizzazione della cultura. Da una parte, sulla scorta di quanto iniziato nel secolo precedente, si rafforzano e si moltiplicano le Accademie Scientifiche, dall’altra vengono fondate nuove scuole, collegi ed università.(19) A questa operazione lavorano sia privati che regnanti illuminati. L’insegnamento assume caratteri che sempre più vanno a laicizzarlo e a toglierlo dalle mani di vari ordini religiosi. La cacciata dei gesuiti da molti paesi (Portogallo – 1759; Francia – 1762; Spagna, Regno di Napoli, Ducato di Parma – 1767/1768) e la soppressione di questo ordine da parte di Papa Clemente XIV (20) nel 1773 contribuirà grandemente a ciò. Possono cominciare a penetrare gli insegnamenti di Newton (fortemente osteggiati proprio dai gesuiti) e nuovo slancio acquista la separazione tra scienza e religione, iniziatasi alla fine del ‘600. Questo legame non era ancora sciolto del tutto, “anche in questioni riguardanti puramente la scienza della natura si osservava e si difendeva con zelo l’autorità della Scrittura.”(21) Durante questo secolo molte cose cambiano e “lo scherno che Voltaire riversa continuamente sulla «fisica biblica» ci sembra oggi sorpassato ed insipido; ma chi voglia dare un giusto giudizio storico non deve dimenticare che nel secolo XVIII quello scherno era lanciato contro un avversario serio e pericoloso.”(21) “Si tratteggia per la prima volta una storia fisica del mondo, lontana da ogni sorta di dogmatismo religioso e desiderosa di basarsi soltanto sui principi universali della conoscenza teorica della natura”(21) e Voltaire, per più di 50 anni, lavorò allo smantellamento del sistema tradizionale portando a termine una “opera di distruzione che fu condizione indispensabile della nuova costruzione della fisica”.(21) E tutta quest’epoca confluirà, da una parte, nel lavoro di Kant, in cui definitivamente si affermerà l’impossibilità di una scienza metafisica(22) e, dall’altra, nei lavori di Laplace, dei quali parleremo più oltre, in cui la natura è descritta come completamente indipendente da Dio ed interamente comprensibile all’uomo (è solo questione di tempo). A lato di ciò, durante il ‘700, cambierà lo status dello scienziato. Il lavoro scientifico, che fino al secolo precedente era essenzialmente affidato a singoli ingegni, che usavano delle loro rendite da altre attività, per fare della scienza, diventa ora sempre più opera di professionisti con la conseguenza di allargare sempre di più la base sociale degli addetti ai lavori. Insomma per fare scienza nel ‘700 si è di più, si proviene da strati sociali un poco più differenziati , si comincia ad essere pagati.
Ma il carattere saliente di questo secolo, da un punto di vista filosofico e scientifico, è il trionfo del meccanicismo che per molti versi ho cercato di delineare nelle pagine precedenti. L’opera di Newton, con gli aggiustamenti, le sistemazioni, le integrazioni e le omissioni di tutto quel complesso di fisici – matematici che vi lavorarono, viene universalmente accettata. La meccanica, nella sua nuova formulazione, acquista piena e superiore dignità scientifica. Il sistema del mondo di Newton trova clamorose conferme in tutta l’ osservazione astronomica e geodetica. E non solo. Anche in campi che Newton non aveva toccato o solo sfiorato, la sua fisica trova grandi applicazioni portando ad ulteriori e fondamentali conferme. La legge dell’inverso del quadrato della distanza, a fondamento della gravitazione, la si ritrova in magnetostatica (Michell) ed in elettrostatica (Coulomb) e Laplace potrà affermare che questa legge “relativa alla forza, vale per tutte le emanazioni che provengono da un centro come quella della luce.“(23)
Certo il pregiudizio non era estraneo alle ricerche di elettricità e magnetismo: le leggi dell’inverso del quadrato sono trovate perché sono cercate; i modelli di fluido o di particelle per l’elettricità discendono direttamente dall’adesione a Descartes – Huygens o a Newton. In ogni caso, al di là di pur autorevoli contraddittori, il mondo ordinato e determinato della fisica newtoniana aveva preso completamente piede alla fine del XVIII secolo.
La natura sembrava obbedire tutta a quella legge dell’inverso del quadrato e a quelle forze che agivano istantaneamente nel vuoto,(24) a distanza e lungo la congiungente rettilinea i centri delle masse o delle cariche in gioco. Tutti i fenomeni naturali, il mondo, sembravano completamente determinati; occorreva solo il tempo necessario ad effettuare materialmente tut te le operazioni e poi nulla sarebbe più sfuggito alla capacità dell’uomo di tutto comprendere e descrivere. Questo stato d’animo, questo atteggiamento, è ben rappresentato da Laplace che, nel suo Saggio filosofico sulle probabilità (1814) si rammaricò di non poter essere completamente determinista per mancanza di dati. Egli scrisse:
Un’Intelligenza che, per un dato istante, conoscesse tutte le forze da cui è animata la natura e la situazione rispettiva di tutti gli esseri che la compongono, se per di più fosse abbastanza profonda per sottomettere questi dati all’analisi, abbraccerebbe nella stessa formula i movimenti dei più grandi corpi dell’universo e dell’atomo più leggero: nulla sarebbe incerto per essa e l’avvenire, come il passato, sarebbe presente ai suoi occhi.(25)
E’ questo il manifesto del meccanicismo a cavallo dei secoli XVIII e XIX che illustra bene il substrato culturale su cui lavoravano i fisici-matematici francesi di quel periodo. Ma, si badi bene, questa enunciazione laplaciana introduce degli elementi non perfettamente in linea con la filosofia naturale di Newton. L’introduzione della probabilità per la comprensione dei fenomeni fisici, che Laplace introduce per rimpiazzare provvisoriamente la mancanza di quell’Intelligenza, è un elemento destinato a diventare sempre più estraneo alle primitive costruzioni newtoniane.
In definitiva, a parte questo elemento non in linea con Newton, restano forze a distanza, legge dell’inverso del quadrato, azioni rettilinee nel vuoto e corpuscoli, particelle che, a partire dalla teoria corpuscolare della luce di Newton, avevano sancito il loro successo con la teoria cinetica dei gas di Daniel Bernouilli (1738). Ormai la spiegazione del mondo consisteva nel ridurre tutti i fenomeni naturali alle interazioni meccaniche di particelle considerate come parti ultime della materia. Bastava, come abbiamo visto or ora per Laplace, conoscere le condizioni iniziali (posizioni e velocità) di un dato sistema di particelle per calcolarsi, con la meccanica, la sua successiva evoluzione a stati diversi in fenomeni diversi. Ed è importante notare che, con la meccanica, non era soltanto possibile calcolarsi l’evoluzione in avanti, ma anche l’evoluzione all’indietro. Niente infatti, a partire dalla formulazione newtoniana, impediva la reversibilità dei fenomeni naturali proprio perché le equazioni della meccanica risultano simmetriche rispetto al tempo (e questo almeno dal punto di vista degli sviluppi analitici poiché rimanevano i «piccoli» particolari costruttivi sui quali da anni si affannavano i tecnici, costruttori di macchine a vapore, per cercare di ottenere un poco più di lavoro meccanico dalla quantità di calore che impiegavano).
5 – ALCUNI ASPETTI DEL PROGRESSO DELLA RICERCA SCIENTIFICA NEL XVIII SECOLO
Non è in alcun modo possibile avvicinarsi alla comprensione dei profondi mutamenti che si ebbero nell’interpretazione dei fenomeni naturali durante tutto l’800, se non si colgono alcuni aspetti delle ricerche scientifiche che si svilupparono nel secolo dell’Illuminismo.
Durante il XVIII secolo, soprattutto nella sua prima metà, la scienza, come abbiamo già. detto, non fece quei balzi prodigiosi e spettacolari che erano stati caratteristica del secolo precedente. Ciò nondimeno si lavorò molto gettando le basi dell’ulteriore grande sviluppo della scienza dell’800.
E’ comunque ora molto più difficile che per il passato seguire i vari filoni di ricerca nella loro complessa articolazione ed intersezione, con una qualche pretesa di completezza: oltre alla grande opera di sistemazione analitica della meccanica newtoniana, a cui si scompagnarono possenti sviluppi della matematica, si tratterebbe di indagare gli avanzamenti dell’astronomia osservativa e le ricerche in nuovi campi della fisica (termologia, elettricità, magnetismo, …). Per quel che riguarda i nostri scopi, basterà solo dare un quadro di riferimento con la preoccupazione di cogliere quegli aspetti che, seppure non immediatamente, risulteranno avere una connessione più o meno stretta con le problematiche che stiamo cercando di discutere in questo lavoro.
A partire dai lavori di Newton, si assiste ad una grande divaricazione dei vari campi di ricerca. Lo sforzo che si tenta à proprio quello di interpretare ogni singolo fatto, che sembra del tutto slegato da ogni altro fatto, in termini di meccanica newtoniana: si tenta cioè di ricondurre tutto alla meccanica. Gran parte poi delle indagini sperimentali che vengono portate a compimento, vanno a ricercare nei fenomeni quelle azioni alla Newton (rettilinee, a distanza, inversamente proporzionali al quadrato della distanza) che devono necessariamente regolare ogni fatto naturale. Le problematiche sono complesse ed il tentativo che uno fa di ricercare una traccia, un filone, potrebbe indurre all’erronea ammissione di uno sviluppo lineare e cumulativo della scienza, fatto che in nessun modo intendo sottoscrivere.(26)
E passiamo ora a dare un quadro dei principali scienziati del XVIII secolo (alcuni di essi saranno solo menzionati, mentre altri, più significativi per gli sviluppi successivi, saranno trattati con qualche dettaglio) che, a vario titolo, si sono inseriti in quanto ho tentato di delineare. Il posto preminente, per quanto ho detto, andrà ai fisici-matematici francesi.
6 – LA FAMIGLIA BERNOULLI
Come osserva Boyer, le scoperte di un grande matematico, come Newton, non diventano immediatamente patrimonio di tutti. Anzi, rischiano di venire dimenticate ed obsolete se non vengono comunicate e se qualcuno non si prende l’onere di divulgarle, approfondirle, diffonderle. In questo senso Newton è un pessimo esempio, egli infatti era incapace di comunicare ed anche il suo metodo, quello delle flussioni era ostico alla divulgazione. Dove mancò Newton, riuscì Leibniz che era invece estremamente disponibile al confronto, alla spiegazione, alla divulgazione delle sue scoperte ad altri scienziati. Tra questi vi furono due eminenti studiosi e scienziati che si assunsero il ruolo di proseguire la sua opera, due fratelli di una famiglia con una storia travagliata, Jacob e Johann Bernoulli.(27) Il primo personaggio noto della famiglia è Jacob il Vecchio, ugonotto belga costretto a fuggire a Basilea in Svizzera nel 1583 per le persecuzioni dei cattolici spagnoli. Un suo figlio, Nikolaus, fu il padre dei due Bernoulli citati che, a loro volta, dettero vita a molti altri noti matematici e fisici come mostrato nella genealogia seguente.

Esula dagli scopi di questo lavoro entrare nei dettagli degli sviluppi del calcolo e pertanto molti dei lavori sia dei matematici Bernoulli, sia di altri, saranno solo citati o accennati se non immediatamente legati a questioni di carattere fisico.
6 – 1 – JACOB I BERNOULLI (1654 – 1705)
Nel senso di quanto appena detto occorre ricordare che fu Jacob I, il primo dei Bernoulli che dette contributi importanti al calcolo. Nacque e visse in Svizzera, indirizzato alla carriera teologica dal padre. In uno dei suoi molti viaggi, in questo caso in Inghilterra, per imparare e scambiare opinioni con le principali persone colte dell’epoca, conobbe Robert Boyle (1676). Da questo momento iniziò la sua passione per la scienza ed in particolare per la matematica (che condivise con il fratello minore Johann I, che invece il padre avrebbe voluto o mercante o medico) diventandone professore a Basilea nel 1687. Si formò sugli scritti di Wallis e Barrow ma fu Leibniz, con il quale intrattenne una lunga corrispondenza, che gli aprì la strada al calcolo differenziale. A lui è dovuto il termine calcolo integrale (Leibniz utilizzava il termine calcolo sommatorio) ed il fatto che la derivata di una funzione in un suo punto di massimo o minimo non è necessariamente uguale a zero, potendo risultare o infinita o indeterminata.

Jacob I Bernoulli
La sua opera principale, Ars conjectandi, fu pubblicata postuma nel 1713. In essa si riprendeva un lavoro minore di Huygens, De ludo aleae, che aveva iniziato lo studio della probabilità nella teoria dei giochi. Qui la probabilità diventava una scienza degna di diventare un nuovo capitolo della matematica (che sarà sviluppata anche da altri componenti la famiglia). L’opera risulta divisa in quattro parti. Nella prima è riportato il lavoro citato di Huygens con opportuni commenti. Nella seconda parte si affronta lo studio delle permutazioni e combinazioni che già avevano avuto una qualche trattazione in Wallis. Qui troviamo l’introduzione dei coefficienti binomiali e polinomiali oltre alla dimostrazione della potenza del binomio. Nella terza e quarta parte vi sono esemplificazioni di calcolo delle probabilità con l’enunciazione della famosa legge

dei grandi numeri o legge empirica del caso.(28) A proposito di cose che già altri avevano fatto (e con Jacob I Bernoulli inizia a porsi questo problema) vale la pena ricordare che in questo periodo, a parte i plagi dei quali non mi occupo, vi sono varie scoperte simultanee e varie cose sono semplicemente riscoperte senza che l’autore abbia conosciuto il primo che ha realizzato una data cosa. Ciò dipende strettamente dalla pubblicità che una data scoperta ha ed all’epoca le cose si conoscevano o per un circuito importantissimo di corrispondenze o per le conferenze periodiche che si tenevano nella varie accademie scientifiche che, ad imitazione di quelle italiane ormai morenti a causa della Chiesa (quella dei Lincei a Roma, fondata nel 1609, venne chiusa nel 1630; quella del Cimento a Firenze, fondata nel 1657, venne chiusa nel 1665) si andavano creando in giro per l’Europa (la prima fu la Royal Society di Londra, fondata nel 1660, alla quale seguì l’Académie des Sciences di Parigi, fondata nel 1666)(19) o per le prime riviste scientifiche che, spesso come emanazioni delle Accademie, venivano pubblicate (le Philosophical Transactions della Royal Society dal 1665; il Journal des Sçavans dell’Académie des Sciences dal 1665; gli Acta Eruditorum, su cui pubblicherà Jacob I,dell’Accademia delle Scienze di Berlino dal 1668). Può sembrare qualcosa di molto esteso ma in realtà riguardava pochissime persone. Tornando a Jacob I, nella seconda parte dell’Ars Conjectandi compaiono i famosi numeri di Bernoulli che sono i coefficienti di una formula ricorsiva che egli utilizzava per trovare le somme delle potenze degli interi. In particolare questi numeri sono molto utili per realizzare gli sviluppi in serie di funzioni trigonometriche e iperboliche. E qui vi è l’occasione per ricordare che la grande passione di Jacob I, oltre allo studio della probabilità e delle funzioni, era proprio lo sviluppo in serie e lo studio delle convergenze di tali serie.
A Jacob I è dovuto lo studio di una curva, la lemniscata (luogo dei punti per i quali è costante il prodotto delle distanze da due punti fissi chiamati fuochi), studio che comparve negli Acta Eruditorum nel 1694, fatto notevole è che la scrisse in coordinate polari che erano state usate anni prima (1671) da Newton ma che, come priorità di pubblicazione, spettano proprio a Jacob I.

La lemniscata di Bernoulli: r2 = a2.cos 2q (in coordinate polari r,q; con a costante)
2a2(x2 – y2) = (x2 + y2)2 (in coordinate cartesiane)
Altra curva cui si dedicò fu la spirale logaritmica, già nota a Torricelli e Descartes, individuando sue notevoli proprietà e scrivendola ancora in cordinate polari ed ortogonali (era talmente orgoglioso delle cose realizzate relativamente a questa spira mirabilis, che la volle sulla sua tomba con la scritta Eadem mutata resurgo).

La spirale logaritmica : r = rbq (in coordinate polari r,q; con b e r costanti)
Un solo cenno ad un altro grande contributo di questo Bernoulli, all’equazione differenziale che porta il suo nome:
y’ + P(x)y = Q(x)yn
che fu risolta da lui medesimo, da Leibniz e dal fratello Johann (si tratta di dividere ciascun termine per yn e quindi operare la trasformazione
z = 1/yn-1
in modo da ottenere un’equazione lineare in z).
6 – 2 – JOHANN I BERNOULLI (1667-1748)
Pur avendo iniziato negli studi mercantili che gli aveva indicato il padre ed avendoli conclusi nel 1690, nel 1691 iniziò a scrivere manuali che erano l’espressione della sua grande passione, il calcolo differenziale. Nel 1692, mentre si trovava a Parigi, dette lezioni ad un giovane nobile, il marchese de l’Hôpital (1661 – 1704). Johann I aveva firmato un contratto che, in cambio di un salario

Johann I Bernoulli
fisso, lo obbligava ad insegnargli ogni cosa che conoscesse, includendo ciò che avesse scoperto. E fu così che una delle più importanti scoperte di Johann I sulle forme indeterminate è passata alla storia con il nome di de l’Hôpital perché quest’ultimo la riportò nel primo libro d’analisi mai pubblicato, Analyse des infiniment petits (1696). Di che si tratta ? Se f(x) e g(x) sono due funzioni differenziabili nel punto x = a nel quale risulta f(a) = 0 e g(a) = 0, e se esiste anche il limite:

allora risulterà:

Il libro di de l’Hôpital ebbe un grande successo mentre quello di Johann I non vide la luce che nel 1924. Johann I aveva comunque pubblicato molti contributi all’analisi su varie riviste ed acquistò fama sufficiente per essere chiamato nel 1705, a ricoprire il posto del fratello scomparso nell’insegnamento della matematica a Basilea. A lui si debbono vari contributi nello studio delle funzioni (brachistocrona) da cui prese spunto l’inizio del calcolo delle variazioni; lavorò in geometria differenziale e studiò le geodetiche di una superficie; inventò il calcolo esponenziale e studiò le aree sottese da funzioni esponenzziali, trovando alcuni importanti sviluppi in serie; …
Era persona di carattere molto aggressivo, probabilmente per il torto iniziale ricevuto in quella sua scoperta che rese famoso un altro. Fu uno strenuo difensore di Leibniz nella disputa con Newton per l’invenzione dell’analisi e si imbarcò in molte altre polemiche (famosa quella con Taylor per la priorità nella scoperta degli sviluppi in serie di Taylor (1685 – 1731) poiché ambedue disconoscevano che la priorità era di Gregory), addirittura con suo figlio Daniel che vinse un premio dell’Académie des Sciences di Parigi al quale aveva concorso anche lui
6 – 3 – DANIEL BERNOULLI (1700 – 1782)
Tra i molti Bernoulli, tutti prima o poi professori di matematica, l’ultimo che merita di essere citato anche per i suoi contributi alla fisica à Daniel, figlio di Johann I.

Daniel Bernoulli
A seguito degli spostamenti del padre, Daniel nacque a Groningen nel 1700 ma tornò a Basilea nel 1705. La sua formazione fu con il padre ed il fratello Nicolaus, Nel 1716 si iscrisse a medicina prima a Basilea, poi ad Heidelberg e quindi a Strasburgo dove si laureò nel 1721. In quel momento non vi erano cattedre disponibili a Basilea e Daniel optò per continuare la sua preparazione a Venezia (1723), presso il primario di quella città, il professor Micoletti.
Durante la sua vita ebbe il privilegio di lavorare con eminenti personaggi come Euler e D’Alembert (dei quali mi occuperò in seguito). Tra il 1725 ed 1733 fu professore a Pietroburgo pubblicando sui Commentarii della neonata Accademia delle Scienze della medesima città ma la gran parte della sua vita si svolse a Basilea dove insegnò varie discipline (astronomia, medicina, filosofia) e dove morì nel 1782. La sua opera principale fu l’ Hydrodynamica, sive de viribus et motibus fluidorum commentarii pubblicata nel 1738.
Daniel Bernoulli, come accennato, fu matematico che seguì negli studi di calcolo di probabilità iniziati in famiglia. Il suo contributo più importante a tale calcolo è relativa alla distinzione che egli fece tra speranza matematica e speranza morale (si può anche dire: tra fortuna fisica e fortuna morale). Come spiega Boyer, Daniel Bernoulli assumeva che un piccolo aumento dei mezzi materiali di una persona produce un aumento del suo grado di soddisfazione che è inversamente proporzionale ai mezzi. Ciò porta alla conclusione che, con il crescere della fortuna fisica in proporzione geometrica, la fortuna morale cresce in proporzione aritmetica. Ancora relativamente alle probabilità a lui è anche dovuto uno studio sui vantaggi delle vaccinazioni contro il vaiolo ed a lui e a suo fratello maggiore (Nicolaus II, che si trovò con lui un certo periodo a San Pietroburgo) un problema noto come paradosso di San Pietroburgo che fu alla base della teoria economica e finanziaria dell’avversione al rischio(29). Altri suoi contributi in matematica si ebbero nello studio delle equazioni differenziali di Riccati e sulle proprietà delle figure curve delimitate.
Ma Daniel, nella sua Hydrodinamica(30), dette dei contributi fondamentali alla fisica ed in particolare all’idrodinamica, risultando colui che gettò le basi della teoria cinetica dei gas.
Il trattato si apre con una storia dell’idraulica, seguita da una breve presentazione dell’idrostatica in cui sono discusse, velocità, durata e quantità di fluido uscente dall’apertura di un recipiente.

Egli, prendendo spunto dal principio di conservazione della forza viva, costruì una equazione che descriveva il moto in un condotto di un fluido ideale (cioè incomprimibile, non viscoso e privo di vortici). Uguagliando le variazioni di descensus actualis con quelle dell’ascensus potentialis relative al centro di gravità, trovò che:
In un condotto nel quale un fluido ideale si muove in regime stazionario con velocità v, in tutte le sezioni del condotto risulta:
p + ρgh + ½ ρ v2 = costante
dove p è la pressione che spinge il fluido nel condotto, ρ è la densità del fluido, g è l’accelerazione di gravità ed h è l’altezza del centro di massa della sezione rispetto al sistema di riferimento prefissato.
Nella relazione scritta il secondo termine è chiamato pressione idrostatica e rappresenta la pressione esercitata sul fondo di una colonna di fluido di altezza h e densità r mentre il terzo termine è chiamato pressione dinamica e rappresenta la pressione esercitata da un fluido per il solo fatto di trovarsi in moto con velocità v. Quanto qui scritto compendia molte proprietà del moto dei fluidi. Intanto abbiamo a che fare con il principio di continuità (scoperto due secoli prima da Leonardo da Vinci e qui riconfermato) secondo il quale l’acqua, scorrendo da un tubo più largo ad uno più stretto, aumenta di velocità e, scorrendo da un tubo più stretto ad uno più largo, diminuisce di velocità. A ciò Daniel aggiunse osservazioni fondamentali del tutto inedite e cioè che l’acqua nel tubo largo che scorre lentamente ha sempre una pressione maggiore di quella nel tubo piccolo che scorre velocemente. Ciò vuol dire che vi è una relazione precisa tra pressione e velocità del fluido, ad aumentare di una grandezza diminuisce l’altra e viceversa con la conseguenza che vi è una somma che resta costante. Riguardando all’indietro quanto scritto si può ben capire che da questi ragionamenti Daniel pensò di poter applicare ai fluidi la conservazione leibniziana della forza viva azzardando un’operazione che, fino a lui, era pensata valere solo per i corpi solidi (per assimilare i fluidi ai solidi Daniel si servì di alcuni concetti in uso nell’analisi matematica: immaginò il fluido che scorre in un condotto come costituito da tanti dischi infinitesimi rigidi successivi e solidi, spingentisi l’un l’altro).
E’ da notare che le motivazioni che spinsero Daniel Bernoulli ad occuparsi di questi problemi fu un problema medico che gli era sorto dallo studio della scoperta di Harvey della circolazione del sangue. Ancora nel 1727 non si aveva a disposizione nessuno strumento per misurare velocità e pressione del sangue e si operava sugli infermi con metodi più o meno aristotelici (salassi o incisione di vene per togliere il surplus di sangue che si riteneva causa della malattia). Iniziò a Pietroburgo a cercare sperimentalmente di misurare la pressione dell’acqua che scorreva in tubi di ferro. Non riuscì a realizzare quanto si proponeva.
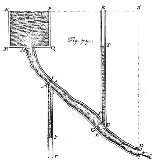
Occorre qui ricordare che il francese Edme Mariotte (1620 – 1684) era riuscito una cinquantina di anni prima a misurare la pressione dell’acqua non che scorre in un tubo ma che fuoriesce da esso. Egli mandò questo getto ad urtare contro l’estremità di una piccola bilancia equilibrata dall’altra parte con delle masse di piombo. Con facili calcoli aveva trovato la pressione dell’acqua che fuoriesce da un tubo. Ma la cosa, per ovvii motivi, non sembrava opportuna per la misura della pressione sanguigna. Fu riflettendo su questo che Daniel ricordò alcune affermazioni di Harvey: se si fora un’arteria il sangue schizzerà ad una data altezza, maggiore se la foratura avviene al momento della contrazione del cuore. Daniel provò allora a fare un piccolo foro in un tubo in cui scorreva acqua ed a sistemare in corrispondenza di tale foro un tubicino di vetro. Fu così che, dalla quota a cui l’acqua saliva in quel tubicino, si poteva risalire alla pressione dell’acqua nel tubo e, fatto notevole, negli esperimenti realizzati, neppure una goccia d’acqua andò versata. E la realizzazione pratica dello strumento non si fece

Disegno di Daniel Bernoulli che illustra il modo di misurare la pressione di un liquido in un condotto.
attendere (intorno al 1730): si trattava di un tubicino di vetro che aveva un’estremità appuntita ed in grado di forare un’arteria per permettere al sangue di salire nel tubicino medesimo. Il sistema permetteva di conoscere la pressione sanguigna (anche la minima e la massima) con la perdita di quantità piccolissime di sangue, quello che restava nel tubicino (occorrerà attendere il 1896 per la realizzazione, da parte del medico italiano Scipione Riva Rocci, di quello strumento gonfiabile a forma di bracciale da mettere intorno al braccio in grado di misurare la pressione senza forare nessuna arteria).
Nell’Hydrodynamica troviamo un ultimo contributo (scritto nel 1733) che non può essere taciuto di Daniel Bernouilli. Si tratta dei primi calcoli che gettano le basi della teoria cinetica (e statistica !) dei gas a partire da ipotesi relative alla struttura della materia. In realtà era stato Euler a elaborare qualcosa in proposito in un articolo sui Commentarii del 1729 (Tentamen explicationis phaenomenorum aeris). A partire da un articolo di Johann Bernoulli che discuteva dei vortici di Descartes, egli concepì l’aria come costituita da minute particelle sferiche in rotazione a distanze differenti tra loro. La molecola di Euler era molto complessa perché costituita da tre strati: un’anima sferica di etere involta di una cappa della vera sostanza dell’aria che a sua volta era avvolta ancora da una cappa d’acqua. Le forze scambiate tra questi costituenti originavano i comportamenti della molecola ed in particolare la forza centrifuga di rotazione, l’umidità, e così via. Senza andare oltre, questo modello era molto rudimentale e solo lontanamente adombrava quello cinetico che oggi accettiamo.
Daniel Bernoulli invece immaginò un gas costituito da molecole elastiche in continuo movimento nel vuoto. Gli urti tra queste molecole, nel suo modello teorico, hanno un ruolo fondamentale, anche perché, con questo innocuo modello, si metteva in discussione la visione corpuscolarista di Newton basata sulle forze repulsive agenti tra particelle e non sugli urti tra di esse. In tale visione i fenomeni termici erano studiati, utilizzando le leggi della dinamica ed il continuo movimento intorno a posizioni prefissate dei corpuscoli ed i gas erano pensati come fluidi elastici costituiti da molecole non puntiformi ma sferiche che occupavano piccoli volumi. Le particelle erano omogenee, rigide, elastiche, dotate di peso, soggette ad un moto molto rapido che espandendosi in modo casuale in tutte le direzioni obbediva alle leggi della meccanica classica; la loro distribuzione nel fluido era irregolare e non soggetta a forze esterne, così che il moto in assenza di urti poteva
essere considerato rettilineo. Tali corpuscoli erano altresì supposti come perfettamente lisci: un eventuale moto rotatorio intorno all’asse passante per il loro centro avrebbe potuto così essere trascurato e la loro velocità sarebbe stata calcolata esclusivamente in relazione alla velocità del centro. Il sistema così descritto prevedeva una quantità considerevole di collisioni, responsabili a livello microscopico dei fenomeni macroscopicamente controllabili in termini di volume, pressione e temperatura; queste proprietà non erano più distinte in due classi, l’una concernente la densità e la pressione, l’altra riguardante la relazione tra calore ed espansione, ma riunite sotto l’unica tesi della struttura corpuscolare della materia.
Mediante le argomentazioni di Daniel era possibile constatare che gli urti si verificavano con maggiore frequenza in proporzione alla diminuzione delle distanze reciproche fra le particelle, di conseguenza il numero delle collisioni era inversamente proporzionale alla distanza media che intercorreva tra esse. Le distanze medie erano calcolate utilizzando la cinetica e la statistica, in tal modo si poteva determinare, in riferimento alle condizioni microscopiche del sistema, l’incremento della pressione in relazione alla diminuzione del volume e all’aumento della temperatura e accertare la dipendenza del calore della materia dalla velocità dei singoli corpuscoli e dall’intensità degli urti. La figura che Daniel ci presenta è la seguente. Essa è di per sé esemplificativa del suo modello.

Figura di Daniel Bernoulli (Hydrodinamica, 1738)
Scrive Bernoulli:
1. Le proprietà dei fluidi elastici dipendono in modo particolare dai seguenti fatti: 1) essi hanno peso; 2) essi si espandono in tutte le direzioni a meno che non vengano ostacolati; e 3) essi si lasciano comprimere sempre di più, al crescere della forza premente. Sono queste le proprietà dell’aria cui ora ora rivolgiamo in particolare la nostra attenzione.
2. Immaginiamo pertanto un contenitore cilindrico ACDB situato in posizione verticale [vedi figura], e, in esso, un pistone mobile EF sul quale si trova un peso P. Supponiamo che lo spazio ECDF contenga delle particelle molto piccole che siano in moto molto rapido; in quanto esse colpiscono il pistone EF e lo tengono innalzato con i loro urti, allora esse costituiscono un fluido elastico che si espande non appena il peso P viene rimosso o viene ridotto; ma se P viene fatto aumentare, allora il fluido diventa più denso e preme sul fondo orizzontale eD come se non fosse dotato di proprietà elastica. Invero, sia che le particelle siano in quiete, sia che si trovino in movimento, il loro peso non muta, così che la base sopporta simultaneamente il peso e l’elasticità del fluido. Sostituiamo dunque l’aria con un fluido che sia conforme rispetto alle principali proprietà dei fluidi elastici, e passiamo a spiegare alcune sue proprietà che già sono state notate ed a gettar luce su altre che non sono ancora state prese in considerazione.
Siamo, come si può notare, di fronte alle ipotesi fondamentali della teoria cinetica dei gas alle quali seguono altre ipotesi:
3. Consideriamo che le particelle racchiuse nel nostro cilindro cavo siano infinite di numero. Quando esse riempiono lo spazio ECDF allora diciamo che esse costituiscono l’aria ordinaria, che sarà il nostro campione di riferimento. Il peso P che mantiene il pistone nella posizione EF è eguale al peso dell’atmosfera sovrastante, che indichiamo con P [ … ]
Ed un peso che agisce su una superficie è una pressione. Troviamo quindi che una grandezza macroscopica come la pressione viene descritta da una enorme quantità di fatti microscopici come gli urti di molecole piccolissime.
Proseguendo nell’elaborazione del modello, Daniel passa al quantitativo con ragionamenti che, semplificando, sono i seguenti. Supponiamo che il recipiente sia di forma cubica, di lato d e quindi di volume V = d3.

Dentro tale cubo iniziamo con il sistemare un solo atomo di massa m. Anche qui semplifichiamo e supponiamo che la sua traiettoria sia parallela a quattro facce del cubo e perpendicolare alle altre due, come mostrato in figura. Questo atomo, ad un dato istante, abbia velocità v. Esso urterà su una parete del recipiente e, appena dopo l’urto, la sua velocità sarà rimasta invariata in modulo v, ma avrà verso opposto – v.
Vediamo le cose dal punto di vista della variazione della quantità di moto. Prima dell’urto l’atomo avrà quantità di moto q1 = mv, dopo l’urto questa quantità di moto sarà q2 = – mv. La variazione della quantità di moto Δq in questo urto sarà data da:
Δq = q1 – q2 = mv – (- mv) = 2 mv
L’atomo rimbalzerà alternativamente sulle due facce opposte della scatola. Vediamo quanto tempo t intercorre tra due urti successivi dell’atomo contro la stessa faccia. Si ha:
t = 2d/v.
Ci chiediamo ora: quanti urti n farà su quella faccia il nostro atomo in un dato tempo, mettiamo Δt ? Questo numero n sarà dato dal tempo complessivo Δt, diviso per il tempo t che intercorre tra due urti successivi:
n = Δt/t => n = Δt/(2d/v) = (v/2d).Δt.
Quindi, per ogni urto si ha una variazione di quantità di moto pari a 2d/v; nel tempo Δt si ha il numero di urti ora visto; quale sarà la variazione totale di quantità di moto ΔQ nel tempoΔt? Si ha:
.

Ma una variazione totale di quantità di moto nel tempo non è altro che il secondo principio della dinamica, quello che ci definisce la forza:

In definitiva, quell’atomo che rimbalza su quella superficie del cubo gli trasmette, nel tempo dato, una forza data dalla relazione precedente. Poiché poi questa forza la si esercita su una superficie (S = d2), si avrà a che fare con una pressione che è proprio il rapporto tra forza e superficie (P = F/S):

Occorre ora passare dall’un atomo solo all’enorme quantità di atomi che si hanno dentro il recipiente e lo facciamo con un ragionamento, dello stesso tipo di quello di Daniel Bernoulli che affrontava questo problema con una grande preparazione in questioni di statistica e probabilità.
Debbo ora fare un’osservazione. Ho iniziato con una ipotesi semplificativa: il fatto che la traiettoria di quell’atomo fosse parallela a quattro facce e perpendicolare alle altre due. Potrebbe sorgere il dubbio che, il complesso dei ragionamenti sia vincolato a questa ipotesi ed infici le conclusioni. Non è così. Se la traiettoria fosse diretta come vi pare, noi possiamo sempre scomporre il vettore velocità nelle sue tre componenti spaziali parallele agli spigoli del cubo. Allora l’operazione che noi abbiamo fatto corrisponde ad aver studiato una sola delle tre componenti e, identici ragionamenti si possono fare per le altre due componenti, arrivando ad identiche conclusioni. Passo ora al numero degli atomi: essi avranno le traiettorie più varie ed urteranno in modo completamente imprevedibile le facce del cubo oltre ad urtarsi tra loro. Ma, anche qui, possiamo pensare di scomporre i vettori velocità di ogni singolo atomo sempre parallelamente agli spigoli del cubo. Cosa ci si aspetta? Che un terzo di queste componenti avrà una direzione spaziale, un terzo un’altra ed un terzo l’ultima! Insomma, non vi sono motivi per pensare che una direzione dello spazio sia privilegiata rispetto ad altre (in assenza di forze esterne). In tal modo, se il numero degli atomi nel cubo è N, quelli che dovremo considerare sbattere su una faccia (o come tali o come componenti delle loro velocità, il che alla fine è lo stesso), quella che abbiamo preso in considerazione, sarà N/3, cioè un terzo di quelli che abbiamo a disposizione. Ciò vuol dire che l’ultima relazione scritta si completa moltiplicandola per N/3:

Si vede subito che al primo membro abbiamo il prodotto PV pressione per volume del gas. Al secondo membro abbiamo una quantità che, se fosse costante, ci darebbe la legge che Boyle aveva trovato sperimentalmente. Ora su Nm/3 non vi sono dubbi (Nm rappresenta la massa totale del gas). Il problema si pone per v2 e la cosa era presente a Daniel quando scriveva:
6. La pressione dell’aria aumenta non solo a causa della riduzione del volume, ma anche a causa di un aumento di temperatura. Poiché è ben noto che il calore cresce di intensità con il crescere del movimento interno delle particelle, ne segue che ogni aumento nella pressione dell’aria, a cui non corrisponda una variazione di volume, indica un più intenso moto delle sue particelle: e ciò è in accordo con la nostra ipotesi. Ed invero è chiaro che, qualora le particelle siano in moto più violento, il peso P deve essere più grande al fine di mantenere l’aria nel volume ECDF.
In ogni caso, all’epoca, fu supposta la costanza di v2 ad una data temperatura. L’ipotesi era stata avanzata da Euler nel 1729 e non è scontata: occorreranno i lavori, piuttosto elaborati, di Joule e Maxwell della metà dell’Ottocento, per poter affermare una cosa del genere. Lo stesso Bernoulli interpretava la sua analisi come la dimostrazione del fatto che incrementi di pressione prodotti da medesime variazioni di temperatura devono essere proporzionali alle densità. Propose quindi di considerare v2 come una scala di temperatura, per la misura della quale progettò e costruì un termometro ad aria). Il tutto andò comunque nel senso di interpretare i conti di Daniel Bernoulli come un ritrovare, per via puramente teorica, la legge di Boyle.
7 – LEONHARD EULER (1707 – 1783)
Euler, senza esagerare uno dei massimi matematici di tutti i tempi, nacque a Basilea nel 1707. Anche questo giovanetto aveva un padre, pastore calvinista, che lo voleva nella carriera ecclesiastica ma fortunatamente e rapidamente i tempi cambiavano. E la fortuna vestì anche i panni di un bravo maestro che lo ebbe sotto le sue cure, Johann Bernoulli, il padre di Daniel del quale ho già parlato. Gli stessi figli di Johann, sia Daniel che Nicolaus, frequentarono il giovane Euler che, attraverso tanta matematica che lo circondava, scoprì la sua vera vocazione, la matematica appunto. Ma, accanto ad essa, egli coltivò anche teologia, medicina, astronomia, fisica, lingue orientali. Studiò a Basilea (teologia ed ebraico ed in seguito medicina) e divenne magister a 17 anni (1724) con una tesi che metteva in parallelo la filosofia di Descartes e quella di Newton. A 19 anni pubblicò il suo primo lavoro negli Acta Eruditorum e partecipò ad un concorso dell’Académie des Sciences di Parigi relativo all’alberatura delle navi. Lo studio della medicina insieme a quello della matematica lo portarono a studiare l’orecchio e quindi a quello del suono e delle vibrazioni in genere. Poiché, come con Daniel, quando volle provare a fare l’insegnante (o di matematica o di fisiologia) a Basilea, tutti i posti erano occupati, ebbe una sorta di chiamata da Daniel a San Pietroburgo dove invece si era in situazione di grande espansione (la sovrana era l’illuminata Caterina I di Russia). Furono i giovani Bernoulli, Daniel e Nicolaus, che avvertirono Euler dell’apertura di una scuola di medicina presso la locale Accademia. Euler raggiunse allora l’amico Daniel (l’anno prima, infatti, Nicolaus era morto annegato) ma, per disgrazia, Caterina moriva proprio allora e ci volle un poco perché in Russia si tornassero a coltivare le scienze. Intanto Euler trovò impiego come luogotenente di marina fino al 1730 quando, con la salita al trono di Anna Ivanovna (nipote di Pietro il Grande), si ricominciò con le scienze. Euler divenne allora professore di fisica all’Accademia con molto tempo libero da poter dedicare ai suoi studi. In tali condizioni, appena sei anni dopo, vide la luce un’opera imponente di Eulero in due volumi, la Mechanica sive Motus Scientia analytice exposita, il primo grande trattato in cui l’analisi matematica veniva

applicata allo studio del movimento (il completamento di questa impresa fu, come vedremo, di Lagrange). Rivolgimenti politici in Russia crearono instabilità. Daniel Bernouilli tornò in Svizzera nel 1733 per assumere la cattedra di matematica a Basilea ma Euler decise di restare. Lavorava instancabilmente in ogni questione che attraesse il suo interesse. Vinse per 12 volte il premio biennale bandito dall’Académie des Sciences di Parigi (Daniel Bernoulli lo vinse 10 volte). Conosceva molto bene le lingue e ciò gli fu di grande aiuto in un’epoca in cui gli scienziati erano costretti amuoversi da una parte all’altra dell’Europa per trovare impiego. Pubblicò a ritmo forsennato sui Commentarii dell’Accademia. Pubblicò oltre 500 tra articoli e libri ed i Commentarii ebbero materiale da pubblicare fino a 50 anni dopo la morte di Euler. Aveva una facilità di inventare e scrivere matematica che riusciva a produrre articoli anche quando giocava con i suoi 13 figli (in totale si contano come suoi lavori, compresi i postumi, 886 titoli). Continuò anche quando perse la vista dell’occhio destro a seguito di una cataratta (1735). Ma pian piano anche l’altro occhio subì la stessa sorte. A nulla valse un’operazione che risolse per poco tempo ma poi procurò un’infezione che rese Euler completamente cieco (1776) all’età di 69 anni. Nel 1741 Euler aveva lasciato

San Pietroburgo accettando l’invito di Federico il Grande di Prussia come membro dell’Accademia di Berlino. Restò 25 anni a Berlino ma non smise mai di collaborare con l’Accademia di San Pietroburgo che continuava a passargli l’assegno. In realtà Euler non era soddisfatto della sua permanenza a Berlino perché Federico preferiva i filosofi ai matematici ed in particolare gli preferiva Voltaire che risultava più divertente. Cercò comunque di assecondare le sue richieste occupandosi di matematica finanziaria (annualità, ammortamenti, pensioni, assicurazioni e … vedove di guerra), di meccanica pratica, di navigazione di canali. Inoltre lavorò molto nella divulgazione prendendo occasione da un interesse per le nuove meraviglie della fisica che nel 1760 espresse la principessa Filippina di Anhalt-Dessau, nipote di Federico. Le lezioni di Euler furono raccolte in un famoso libro divulgativo: Lettres a une princesse d’Allemagne. Alla fine però, nel 1766, il ciclope matematico (così lo chiamava Federico), lasciò Berlino per tornarsene in Russia da Caterina II dove, come accennato, divenne cieco. La disgrazia lo accompagnò per gli ultimi 17 anni di vita ma egli non cessò di produrre lavori che dettava ai figli e che si era esercitato a scrivere su una grande lavagna. Morì improvvisamente nel 1783, mentre prendeva un tè con un nipote, all’età di 76 anni.
A questo punto occorre rendere conto, naturalmente molto in breve, dei contributi di questo gigante della matematica, soprattutto, come nello scopo di questo lavoro, relativamente a ciò che più si approssima alle scienze fisiche a cominciare dal suo lavoro del 1736, Mechanica sive Motus Scientia analytice exposita.
Egli diede importanti contributi alla geometria elementare, studiò le funzioni trigonometriche, scoprì i logaritmi immaginari dei numeri negativi, mostrò che un numero complesso ha un numero infinito di logaritmi. Dimostrò l’identità
eiφ = coφ + i senφ

nella quale se si pone θ = π si trova:
eiπ + 1 = 0
che è una delle formule più sorprendenti ed importanti che si conoscano. In essa, in una sintesi straordinaria, compaiono tre costanti matematiche fondamentali, che derivano da storie e contesti diversi, legate insieme in una relazione breve, elegante e di profondo contenuto (osservo che tale formula è anche una dimostrazione della trascendenza di π e quindi dell’irresolubilità del problema della quadratura del cerchio – Lindemann, 1882).
Ma di Euler è anche la moderna nomenclatura della matematica, suo è il numero e base dei logaritmi neperiani, sua è l’unità immaginaria i (rilanciata dall’uso che ne fece Gauss), suo è il simbolo Σ che denota la sommatoria, sua è stato l’impulso all’uso di π, suo è il simbolo del fattoriale n!, sua è l’introduzione della costante euleriana γ, fu egli che per primo introdusse il concetto di derivata prima di una funzione come limite del rapporto tra due quantità variabili e suo è il denotare una funzione di x con f(x), ancora suo è il simbolismo delle derivate parziali ed il teorema della permutabilità dell’ordine delle derivazioni parziali (1734). Nell’analisi offrì una sistemazione dell’idea di funzione: un’espressione analitica che contiene la variabile ed una o più costanti, combinando operazioni algebriche, logaritmi, esponenziali, funzioni goniometriche. Distinse poi i vari tipi di funzioni in algebriche e trascendenti. Chiarì il concetto di funzioni esplicite ed implicite, di funzioni univoche e plurivoche. Fece i primi passi nello studio delle funzioni analitiche (poi riprese da Lagrange). Introdusse poi le funzioni a variabile complessa (1748) nella ricerca di punti comuni tra due curve algebriche. Anche in geometria egli introdusse delle regole ancora oggi seguite: l’indicare i lati di un triangolo con le lettere minuscole a, b, c ed i vertici opposti con le lettere maiuscole A, B, C; l’indicare con r, R ed s rispettivamente i raggi dei cerchi inscritti e circoscritti ed il semiperimetro del triangolo stesso. Sua è la semplice formula seguente relativa ad un triangolo: 4rRs = abc e sua è anche la scoperta che in un triangolo qualsiasi ortocentro, baricentro e circocentro, giacciono su di una medesima retta (retta di Euler) e che la distanza tra il primo ed il secondo è doppia di quella fra il secondo ed il terzo. Dette un notevole contributo al teorema fondamentale dell’algebra (un’equazione di grado ennesimo ha n soluzioni, reali o complesse) al quale aveva lavorato D’Alembert e che sarà enunciato definitivamente da Gauss (1799). Lavorò in geometria analitica (trasformazione di coordinate, coordinate polari ed intrinseche, studio di funzioni fino al quarto grado, funzioni trascendenti … alla luce del calcolo differenziale) e sui triangoli sferici (rettangoli o no). Integrò molte equazioni differenziali, di tipi ed ordine diversi. Suoi sono gli integrali euleriani (1731), oggi noti come funzioni B e G). Espresse il volume del tetraedro in funzione dei suoi spigoli e dimostrò la relazione che in un poliedro lega il numero F delle facce a quello V dei vertici e S degli spigoli (F + V = S + 2). Altri importanti contributi si ebbero nello studio delle serie (che egli usava troppo disinvoltamente, però), nella teoria dei numeri, nei logaritmi dei numeri negativi, … Notevole è lo studio della convergenza della serie infinita dei reciproci dei quadrati dei numeri interi, un problema che molti matematici avevano tentato invano di risolvere. Egli trovò:
Non poteva mancare ad uno spirito così profondamente indagatore un profondo interesse per i numeri primi. Sua è una formula empirica che molto spesso ci fornisce numeri primi:
a2 + a + 41,
con a numero naturale. Se sostituiamo a con un numero naturale, otterremo spesso numeri primi (dal numero 412 in poi iniziano ad aversi numeri composti.). Ed altro suo grande successo in tale campo fu la dimostrazione di una formula che Fermat aveva dato senza dimostrazione (una sorta di maledizione quella di Fermat). I numeri primi possono essere di due tipi: quelli equivalenti a 4n + 1 e quelli equivalenti a 4n – 1, dove n un numero intero qualsiasi. Il teorema di Fermat affermava che tutti i numeri del primo tipo sono sempre la somma di due quadrati (ad esempio, 29 = 22 + 52), mentre quelli del secondo tipo non possono essere espressi in questo modo (23 = x2 + y2, non ha soluzioni). Euler, in sette anni di lavoro, riuscì a trovare la dimostrazione di questo teorema.
I primi problemi topologici, che aprirono la strada all’universo della topologia, furono posti da Euler ed il primo e più famoso sembra essere quello dei ponti di Königsberg. Nella figura seguente: l’area grigia rappresenta il fiume Pregel che attraversa Königsberg, C rappresenta l’isoletta di Kneiphof, D un’altra isola mentre A e B sono le rive del fiume. Il tutto è collegato mediante 7 ponti.

La domanda è la seguente: è possibile attraversare tutti i 7 ponti in un modo qualsiasi, ritornando al punto di partenza senza passare più di una volta suil medesimo ponte ? A tale quesito si erano avute risposte empiriche che sembravano dare risposta negativa. Occorreva però una risposta di carattere generale che avesse validità assoluta e tale risposta la fornì Euler nel 1735. Egli stabilì che la posizione esatta dei ponti e delle isole è irrilevante, quindi semplificò il problema nel modo seguente:

– la terra è schematizzata con punti che sono dei nodi
– i ponti sono schematizzati con segmenti o archi
– si tratta allora di riuscire a percorrere la figura precedente (oggi nota come grafo)con un tratto continuo di penna senza passare mai su una linea già percorsa.
La soluzione generale che egli dette al problema di percorribilità di una dato tragitto è che il relativo grafo composto soltanto da nodi pari, collegato cioè a un numero pari di archi, è sempre percorribile e si può ritornare al punto di partenza senza sovrapposizioni di percorso. Se un grafo contiene nodi pari e soltanto due nodi dispari è ancora percorribile, ma non si può più ritornare al punto di partenza. Se contiene invece più di due nodi dispari, non è più percorribile, senza sovrapposizioni di percorso. La passeggiata sui ponti di Königsberg è di quest’ultimo tipo, e porta a un grafo composto da quattro nodi dispari, quindi non ha soluzione. Quello che sembrava un piccolo rompicapo senza importanza, nelle mani di Eulero diventò un grande problema matematico, punto di partenza della teoria dei grafi e di una nuova scienza: la topologia, che investe oggi notevole importanza nello studio delle reti come internet.
Lo studio dei grafi portò a risultati sorprendenti. Uno di questi è la cosiddetta formula di Eulero, scoperta dal matematico nel 1751. Se in un grafo piano contiamo il numero di vertici e lo chiamiamo V, il numero di lati e lo chiamiamo E, e il numero di facce e le chiamiamo F, è sempre vera la seguente relazione V – E + F = 1.
Altre ricerche, più vicine alla fisica matematica, riguardarono lo studio del complicato problema dei tre corpi che risultò di grandissimo aiuto al calcolo esatto delle tavole lunari che erano di notevolissima importanza all’astronomia nautica (date le posizioni ed i moti di Sole, Terra e Luna, corpi attraentisi mutuamente, determinare le loro posizioni ed i loro movimenti ad un dato istante assegnato). Il metodo, e non poteva essere altrimenti, era approssimato ma permetteva di fornire risultati utili nella pratica se solo ci si sottometteva a lunghi calcoli.
Euler partecipò anche ad una querelle, tra le tante, che si pose all’epoca, quella del principio di minima azione (in ogni mutamento che si produce in natura, risulta minima l’azione spesa nel mutamento, dove con azione, almeno in un primo tempo, si intendeva il prodotto dello spazio percorso per la velocità di un mobile). Tale principio era stato enunciato dal francese Pierre Louis Moreau de Maupertuis (1698 – 1759), molto amico di Euler. Nel 1751 Maupertuis si scagliò contro l’olandese Samuel Koenig (1712 – 1757) perché aveva assegnato la paternità di tale principio a Leibniz e perché aveva osato metterlo in dubbio (nel suo enunciato, affermava, la parola minimo deve talvolta essere sostituita con massimo e con ciò crollano le conseguenze teistiche che lo stesso Maupertuis ne aveva tratto: un principio pieno di saggezza, degno dell’essere supremo). Oggi sappiamo che aveva ragione Koenig ed infatti i principi del tipo minima azione oggi sono chiamati variazionali proprio perché sottendono la possibilità di minimo o di massimo). Maupertuis chiese addirittura l’intervento di re Federico contro Koenig e chiamò a raccolta tutti gli accademici amici perché lo condannassero e lo radiassero dal numero degli accademici. A tale appello aderì immediatamente Euler che scrisse a nome di vari accademici una dura lettera a Koenig. Quest’ultimo rispose con un appello rivolto alle persone colte: Appel au public. Tale appello fu bene accolto, in particolare da Voltaire che ridicolizzò sia Maupertuis che Euler in un suo pamphlet, Diatribe du docteur Akakia, médicin du Pape. Voltaire specificò poi che aveva scritto quelle cose, tra l’altro, per rivendicare la libertà degli uomini di cultura in una corte, quella tedesca, in cui nessuno aveva osato parlare in difesa di Koenig.
Ho poco fa fatto una rapida rassegna degli infiniti contributi di Euler alla matematica. E’ appena il caso dire che i lavori di Euler decretarono il trionfo del calcolo di Leibniz rispetto al metodo delle flussioni di Newton. Sul fronte fisico, invece, Euler si schiera con Newton. In particolare aderisce alle idee di spazio e tempo dei Principia di Newton. Le sue idee in proposito le troviamo nella citata Mechanica sive Motus Scientia analytice exposita del 1736, nelle Réflexions sur l’espace et le temps del 1748 e nella Theoria motus corporum solidorum seu rigidorum ex primis nostrae cognitionis principiis stabilita et ad omnes motus qui in huiusmodi corpora cadere possunt accomodata del 1765. Vi è però una profonda e fondamentale novità che distingue questa sua adesione da quelle di Cotes, Clarke e Newton medesimo. Non vi sono in Euler adesioni con qualche implicazione teologica, egli rimane sempre in un ambito solamente scientifico e, più in generale, la sua posizione riguarda anche la filosofia che, a suo giudizio, non può entrare ad indirizzare la scienza, soprattutto se non la conosce. Il filosofo deve quindi comprendere il significato della scienza, analizzarne i fondamenti e solo dopo questo processo può cercare di dire quali sono le cose che suggerisce al pensiero. In queste considerazioni c’è la sua adesione allo spazio e tempo assoluti. Questi concetti funzionano in un edificio molto solido che è la meccanica e, di conseguenza, non possono essere solo delle astrazioni del pensiero:
E’ invero evidentemente assurdo affermare che delle pure invenzioni possano servire di fondamento ai principî reali della meccanica. […]
E’ impossibile affermare che il primo principio della meccanica sia fondato su qualcosa che esiste solo nella nostra immaginazione. Perciò dobbiamo necessariamente concludere che l’idea matematica del luogo non è immaginaria, e che, al contrario, esiste nell’universo qualcosa di reale che corrisponde a tale idea. Nel mondo, dunque, oltre ai corpi che lo costituiscono sussiste una qualche realtà che noi ci rappresentiamo con l’idea di luogo [Réflexions sur l’espace et le temps].
Il luogo è qualcosa che non dipende dai corpi, pur non essendo un semplice concetto dell’intelletto. Non voglio però tentare di determinare quale realtà esso possegga all’infuori dell’intelletto, per quanto si debba pure riconoscere ad esso una qualche specie di realtà. Quando per contro i filosofi dividono in determinate classi tutto ciò che è reale, e dimostrano che il luogo non appartiene ad alcuna di esse, io sono indotto a credere che tali classi siano state stabilite in modo ingiustificato, per mancanza di un’analisi approfondita [Theoria motus corporum …].
Cassirer commenta questa posizione in modo definitivo: è l’emancipazione della matematica che da ora vivrà di vita propria e non si lascerà più guidare da indirizzi od interessi estranei. Comincia a delinearsi un’idea di spazio libero da legami metafisici e vicino alla concezione di Kant. Attenzione che il passaggio è, in tutte le sue articolazioni, di estrema importanza. Tralascio le conseguenze di quello sciocchino, non a caso filosofo, di Comte per soffermarmi sulla novità che deve essere presente a tutti coloro che hanno seguito fin qui quanto vado scrivendo di storia del pensiero scientifico. Sparisce Dio all’interno del mondo, Lo scienziato può essere o meno credente ma non è più bigotto. Sa distinguere tra la sua posizione di fede dalla scienza che della fede non solo non ha bisogno ma deve sbarazzarsi per poter tranquillamente elaborare. Il pregiudizio è cosa utile perché indirizza la ricerca ma quello metafisico è la morte della libera ricerca scientifica.
Ma torniamo ai contributi di Euler alla meccanica, alla trasformazione della trattazione geometrica newtoniana a quella fondata sul calcolo differenziale. Le cose più notevoli, come accennato, si ritrovano nella Mechanica … del 1736 che è una sorta di programma euleriano. Fu Euler che riuscì a formulare diversamente alcuni problemi che avevano affrontato Huygens e Jacob Bernouilli, lavorando in modo da farli diventare un corollario delle tre leggi fondamentali della dinamica. Con D’Agostino, si deve riconoscere che ci troviamo di fronte non ad una banale prosecuzione dell’opera di Newton ma alla fondazione di un approccio alternativo alla meccanica.
Il programma di Euler è ben delineato proprio in questa sua Mechanica, sive motus scientia analytice exposita che, mediante assiomi, definizioni e deduzioni logiche fa della meccanica una meccanica razionale o meglio una meccanica analitica. L’inizio pare innocuo ed è centrato sulla non chiara definizione che Newton fornisce di corpo. Euler osservò che gli enunciati di Newton sono corretti in senso lato solo quando si applicano a masse concentrate in un punto ed allo scopo introdusse il concetto di massa puntuale. Passò poi a studiare l’accelerazione come una grandezza cinematica definita nel movimento lungo una curva qualsiasi. Introdusse poi il concetto di vettore nello studio di forze, velocità, accelerazioni, ed altre innumerevoli grandezze. Studiò sistematicamente il moto in tre dimensioni con riferimento esplicito a masse puntuali. Scompose le accelerazioni (ed anche le forze) secondo componenti predeterminate in moti con traiettorie curvilinee. Vi è quindi l’estensione di questi primi parziali risultati di meccanica razionale alla meccanica dei mezzi continui applicabile ai più vari tipi di sistemi: corpi infinitamente piccoli; corpi rigidi finiti; corpi flessibili; corpi che si estendono e si contraggono; corpi interagenti; fluidi. In tale lavoro diventava indispensabile dare una definizione più precisa della massa che, come abbiamo visto in Newton, è all’inizio dello sviluppo della dinamica. Euler passa dal concetto newtoniano di vis inertiae ad una mera costante di proporzionalità tra forza ed accelerazione, un coefficiente numerico caratteristico degli oggetti che si studiano in fisica. E’ un salto logico importantissimo che ci avvicina alla modernità e che è in accordo con il riconoscimento di Euler della forza a fondamento della dinamica.
Euler enuncia il principio d’inerzia come conseguenza del principio di ragion sufficiente:
Non vi è alcuna ragione per cui un corpo debba muoversi in questa direzione piuttosto che in quella
segue poi affermando che:
La forza d’inerzia di un corpo qualsiasi è proporzionale alla quantità di materia che esso contiene
E qui si fa strada un nuovo concetto e cioè l’ammissione che la vis inertiae è determinata dalla forza o potenza necessaria a rimuovere il corpo dal suo stato di quiete o di moto. Ciò vuol dire che corpi diversi necessitano di forze diverse in proporzione alla quantità di materia o massa che posseggono. Da ciò segue che le masse sono determinate dalle forze motrici ed Eulero dice in modo esplicito che la massa di un corpo è la forza necessaria ad impartirgli la sua accelerazione che è la formulazione moderna della Seconda legge di Newton.
I lavori di Euler proseguirono con lo studio del corpo rigido e con una visione più estensiva del principio d’inerzia: l’inerzia non è determinata dalla massa ma dal tensore d’inerzia a sei componenti riferite ai tre assi principali d’inerzia del corpo (Ciascun corpo rigido ha tre assi ortogonali intorno a ciascuno dei quali può oscillare liberamente con moti infinitesimi). E ciò era il preludio al considerare la proprietà dei corpi come strettamente dipendenti da quelle dello spazio (e qui siamo fuori dalla fisica di Newton per avvicinarci alle posizioni di Leibniz). E da questo germe partì Einstein per sviluppare la sua relatività generale.
Egli tenta di riscrivere la meccanica fornendo, come detto, nuove definizioni delle grandezze in gioco. Egli parte da una cosa oggi evidente, dalla semplice equazione differenziale che lega la velocità all’accelerazione: du = a.dt (u = velocità ed a = accelerazione) che è parte fondamentale del secondo principio. Il suo studio inizia dai sistemi discreti di punti per poi arrivare alla meccanica dei corpi rigidi e dei fluidi. Egli, come vedremo più oltre, mostra che la conservazione della quantità di moto può essere applicata a tutti i sistemi meccanici, indipendentemente dalla loro specificità, indipendentemente cioè se sono discreti o continui. In un lavoro pubblicato nel 1752 egli ci presenta le equazioni:
Fx = Max ; Fy = May ; Fz = Maz
come assiomi che comprendono in sé tutte le leggi della meccanica e che corrispondono alla scomposizione del secondo principio secondo i tre assi di riferimento, con la particolarità che la massa M è ora una mera costante di proporzionalità e può risultare sia finita che infinitesima. Le equazioni presentate saranno chiamate più oltre da Euler i primi principi della meccanica. Esse, note come equazioni di Newton, sono per la prima volta proposte come equazioni generali ed esplicite per problemi meccanici di ogni tipo. Prendendo le mosse da tali equazioni, mediante sostituzione all’accelerazione dell’elemento di massa con il vettore velocità angolare introdotto dal medesimo Euler, egli risolse il problema del moto di un corpo rigido fornendone le equazioni differenziali generali anche nel caso di rotazione del corpo intorno al centro di massa (equazioni di Euler per un corpo rigido al quale sia applicata una coppia di forze rispetto al centro di massa). In queste elaborazioni discendono come conseguenza le sei componenti del tensore d’inerzia che vanno ad ampliare il concetto di momento d’inerzia introdotto dallo stesso Euler. Si fa più chiaro il concetto d’inerzia e la sua distinzione da quello di massa. L’inerzia, come espressione della tendenza di un corpo di restare in moto è riferibile a moti di traslazione ed applicabile solo ad una classe molto ristretta di movimenti rotatori (si deve tener conto degli assi di rotazione di ogni corpo che vanno da un minimo di tre ad un numero che può diventare molto grande). Quindi, come ricavò successivamente Euler (tra il 1758 ed il 1765) e come vedremo più oltre, la resistenza al cambiamento dello stato di moto non è determinato dalla massa ma dal tensore d’inerzia. Così come era abbastanza chiara, già da Newton, la differenza tra massa e peso, ora si chiarisce e perfeziona tale differenza anche con la distinzione tra massa ed inerzia. Con ciò si capisce l’ambito di applicabilità della seconda legge di Newton: solo per corpi infinitamente piccoli o per centri di massa di corpi finiti.
Debbo, a questo punto, osservare che Euler sbagliava nel considerare le sue equazioni in grado di risolvere ogni problema meccanico infatti ai suoi primi principi occorreva aggiungere i secondi, come vedremo.
In un lavoro del 1744, Methodus inveniendi lineas curves maximi minime proprietate gandentes, Euler si occupò di calcolo variazionale (in qualche modo riprendendo quanto era stato discusso a proposito del principio di minima azione di Maupertuis) ponendo il problema in termini di un sistema di equazioni differenziali. Fino ad allora il metodo di Eulero, in accordo con Johann Bernoulli, non era un metodo analitico generalizzabile, ma un ordinario problema geometrico di ricerca di punto estremo che vedeva le curve sostituite da segmenti costituenti una poligonale. In questo lavoro Euler afferma che nelle traiettorie descritte dai corpi sotto l’azione di forze centrali, l’integrale della velocità moltiplicato per l’elemento di curva è sempre un massimo o un minimo che è un modo più corretto, rispetto a quello di Maupertuis, di enunciare il principio di minima azione che, in formula, si enuncia affermando che l’ ∫ mv.ds è un estremo (e nella formula, m è la massa, v la velocità e ds l’elemento infinitesimo di traiettoria). Questa formulazione sarà riconosciuta da Lagrange (1788) come la corretta formulazione del principio di minima azione.
Nel 1760 Euler pubblica la Theoria motus corporum solidorum seu rigidorum … In tale lavoro, in cui si estende la meccanica del punto al corpo rigido, mantiene molte delle cose che aveva elaborato nel 1736 ed aggiunge che un corpo rigido è quello in cui restano immutate le distanze tra ogni copia di punti che si scelgano nel corpo. Definisce poi un centro di massa o centro d’inerzia per ogni corpo ed afferma che centro di gravità di un corpo rigido implica un concetto più stringente che quello di centro di massa o centro d’inerzia. Gli ultimi due concetti sono meglio definiti dall’inerzia quando si può trascurare il sistema di forze che agisce sul corpo rigido. Egli introduce quindi il concetto di momento d’inerzia di un corpo rigido che semplifica il linguaggio e la soluzione dei problemi. Passa quindi a calcolarsi i momenti d’inerzia di alcuni corpi omogenei. Inoltre egli usa un sistema di riferimento solidale con il corpo rigido e scopre gli assi principali d’inerzia. Il passo successivo fu quello di studiare la dinamica del corpo rigido mediante la scomposizione del moto in due componenti: la traslazione del centro di massa e la rotazione intorno a tale centro. In questo ambito introdusse angoli che si chiamano di Euler e studiò problemi rotazionali in connessione con al precessione degli equinozi.
Nel 1755 Euler scrisse un altro lavoro: Principes généraux de l’état d’équilibre des fluides nel quale si studia l’equilibrio dei fluidi estendendo ad essi la meccanica newtoniana con la distinzione tra aspetti cinematici e dinamici del loro moto. Egli considera due tipi di fluidi, uno compressibile ed uno incompressibile, ambedue sottoposti ad un sistema di forze. Si considera poi la massa del fluido contenuta in un parallelepipedo infinitesimo di dimensioni dx, dy e dz. Se le componenti delle forze che agiscono sul corpo sono P, Q, R e la densità del corpo è q, l’elemento di volume del fluido dxdydz ha come componenti della forza: Pqdxdydz, Qqdxdydz, Rqdxdydz e l’equazione di equilibrio che ricava Euler ha la forma:
dp/p = Pdx + Qdy + Rdz
con alcune semplici condizioni sulla forma differenziale a secondo membro (le forze P, Q, R devono essere tali che la forma differenziale sia integrabile quando la densità q è costante o unicamente dipendente dall’elasticità p, oppure divenga integrabile mediante moltiplicazione per alcune determinate funzioni).
Ancora in questo lavoro del 1755 Euler stabilisce, a partire dalle premesse ora dette, le equazioni generali dell’idrodinamica come cinematica dei mezzi continui. Egli considera un dato stato di un fluido come la configurazione delle particelle che lo compongono e delle loro velocità. Tale stato è dato come noto ad un dato istante e sono date per note anche le forze che agiscono su tale fluido. Il problema consiste nel calcolare ad ogni istante successivo la pressione in ciascun punto del fluido, la densità e la velocità degli elementi di fluido che passano attraverso questo punto. Per definire lo stato attuale del fluido, Euler usa le componenti della forza che origina accelerazione P, Q, R che sono funzioni note di x, y, z e t. La densità q, la pressione p e le componenti u, v e w della velocità dell’elemento di fluido al punto Z sono, all’istante t, grandezze incognite. Nel suo articolo Principia motus fluidorum, Euler calcola la forma che il parallelepipedo elementare di fluido, che in origine si trovava in Z ed aveva dimensioni dx, dy e dz, assumerà al tempo t + dt a causa del moto del fluido. Questo problema è estremamente complesso e risolubile solo in casi particolari, come lo stesso Lagrange riconoscerà più oltre, ed Euler lo risolse solo nel caso in cui la quantità udx + vdy + wdz è un differenziale esatto (caso in cui esiste una velocità potenziale o in cui non si creano vortici nel fluido).
Ma l’aspetto più importante di tutto il lavoro di Euler in idrodinamica è di mettere insieme tutte le idee che si erano sviluppate (ad esempio dai Bernoulli) sui fluidi, con l’introduzione del concetto generale di pressione interna secondo il quale la forza esercitata da un fluido su qualunque superficie si possa immaginare dentro di esso è equipollente all’azione di un campo di pressioni perpendicolari alla data superficie, qualunque sia la geometria e la posizione che essa occupi dentro il fluido. La scoperta fu riconosciuta eccezionale da Lagrange che scrisse:
Mediante questa scoperta, tutta la meccanica dei fluidi diventò un problema di analisi, e quindi se le equazioni che lo descrivono fossero integrabili, si potrebbero determinare completamente i dettagli del moto e l’azione di un fluido mosso da forze arbitrarie. Disgraziatamente [tali equazioni] sono risultate tanto intrattabili che fino ad ora si sono potuti risolvere solo alcuni casi molto semplici [citato da Truesdell]
Un ultimo cenno devo darlo sull’intervento di Euler in ottica. Egli criticherà la posizione newtoniana (1762) contrariamente a Priestley che invece la difenderà (1772) sostenendo che le particelle di luce sono tanto piccole da poter penetrare la materia. E questa sarà una caratteristica di tutto il secolo, che comunque non vide avanzamenti di rilievo in ottica, una polemica tra i sostenitori ed i detrattori della teoria corpuscolare della luce di Newton.
Euler dimostra che rifrangenza e dispersione non sono proporzionali e che pertanto era possibile acromatizzare gli obiettivi mediante opportuna combinazione di due lenti di vetro diverso.
Quell’inconveniente dovuto alla diversa natura dei raggi che anche al sommo Newton sembrò così grave da giudicare impossibile assolutamente il liberarne gli strumenti diottrici, ormai è certo che si può facilmente eliminare, almeno per quanto riguarda il margine iridato, cui specialmente Newton si riferiva; cosicché almeno per questa causa non vi è più ragione di ricorrere ai telescopi catottrici”. [Euler, Diopticae, 1769]
Euler aveva ripreso anche la teoria ondulatoria di Huygens e vi aveva inserito il concetto di Grimaldi che i colori fossero dovuti alla diversa lunghezza d’onda delle ondulazioni.
Effettivamente il fatto che la dispersione non era proporzionale alla rifrangenza, ossia che la variazione dell’attrazione dei raggi di vario colore non era una funzione caratteristica dei raggi stessi, ma era anche una funzione complicata della composizione chimica (e non della sola massa) della materia attraente, metteva sul tappeto un’altra difficoltà grave per la teoria corpuscolare. Ma questo argomento era troppo sottile per il grosso pubblico.
NOTE
(1) All’inizio del secolo, in Inghilterra, la lavorazione della lana e le operazioni di tessitura avevano ancora carattere artigianale. Erano essenzialmente i contadini che operavano al telaio nelle loro case sparse nelle campagne (e ciò non sarebbe stato possibile in una economia agricola di tipo feudale). Il prodotto finito veniva venduto ai commercianti che lo raccoglievano spostandosi di casa in casa. In queste transazioni il commerciante aveva un tale margine di guadagno che presto fu in grado di acquistare Macchine in proprio che cedeva, insieme alla materia prima, in affitto. Pian piano queste macchine furono riunite in un unico luogo (l’opificio) dando ravvio a quella che ancora oggi conosciamo come industria. Come conseguenza della perdita dei mezzi di produzione da parte dell’artigiano si origina l’operaio salariato. Altro aspetto, ampiamente indagato (ad esempio da K. Marx), che merita di essere preso in considerazione come fattore fondamentale dello sviluppo capitalistico, è quello che va sotto il nome di profitto (la parte del lavoro operaio che non è pagato dal salario; ad esempio: la merce che si accumula nei magazzini). Per aumentare il profitto il padrone di una azienda poteva operare in due modi: o spingere i limiti di resistenza umana dell’operaio, allungando la giornata lavorativa oltre le 16 ore, o introducendo macchine. Le due strade furono percorse contemporaneamente. Da una parte la giornata lavorativa arrivava fino ad oltre 16 ore, dall’altra si introdussero molte macchine nel processo produttivo (telai automatici, filatoi di vari tipi, macchina a vapore, telai meccanici, presse idrauliche, torni di vario tipo, telai a vapore -1787- , mulini automatici,…). Ed ogni volta che una macchina riassumeva in sé più funzioni essa significava il licenziamento di vari operai. Per altri versi, queste macchine, alla base della seconda rivoluzione industriale (seconda metà dell”800), ponevano da una parte una gran quantità di problemi tecnico-scientifici e dall’altra notevoli bisogni energetici (fatto, quest’ultimo, molto più sentito in Gran Bretagna che non nel resto d’Europa a causa del fatto che in questo paese vi è una carenza di corsi d’acqua diffusi su tutto il territorio). Si usò dapprima l’acqua fluente, quindi l’acqua in caduta da dislivelli naturali, e poi l’acqua in caduta da dislivelli artificiali; si passò poi alla macchina a vapore alimentata a legna e poi, vista la crisi di disponibilità di quest’ultima, a carbon fossile. Accompagnata alle innovazioni tecniche nella produzione durante il ‘700 vi fu l’ introduzione di una massa imponente di tecnologie in tutte le attività umane e soprattutto nei trasporti (navi a vapore -1786 – , ponti, strade, rotaie, …) e nei settori vicini alla produzione tessile (sviluppo enorme della chimica che inizia a darsi le basi per diventare una scienza sperimentale; produzione dell’acido solforico e della soda). Sul primato dei fattori economici su quelli tecnici si veda: P.BAIROCH – Scienza, tecnica ed economia nella rivoluzione industriale – SAPERE n° 695, Novembre 1967, pagg. 628 -633.
(2) Nel ‘700 la borghesia ebbe il suo teorico in economia politica nella persona di Adam Smith (1723-1790) il quale, per altro, fu per certi versi anticipato dal suo amico D. Hume.
(3) Per quel che riguarda vari aspetti di questo paragrafo ho seguito la traccia suggerita da Geymonat. Nonostante quanto affermato si ricordi che, ancora nel 1722, in Inghilterra si bruciavano *streghe* nelle piazze.
(4) Allo scopo si veda Mason. Le innovazioni in agricoltura consistettero essenzialmente nell’introduzione di metodi di rotazione delle colture e nella razionalizzazione dell’allevamento del bestiame.
(5) Proprio per questo le grosse scoperte del secolo furono fatte da una nuova figura di intellettuale, il tecnico formatosi all’interno del nuovo modo di produzione e per questo più sensibile alle esigenze che qui emergevano.
(6) Già Locke aveva osservato: “C’è ragione di credere che se gli uomini fossero più istruiti, tenterebbero molto meno di imporsi al proprio prossimo.” Bibl. 7, Vol. 4, pagg. 105-106. Si noti che la più grande opera di divulgazione che fino ad allora fosse stata intrapresa è l’Encyclopedie, alla cui realizzazione lavorarono quasi tutti i principali pensatori francesi sotto la direzione di D’Alembert e Diderot. Per saperne di più, anche in relazione alle enormi difficoltà cui andarono incontro i redattori fino alla condanna dell’opera di Papa Clemente VIII, si veda: D’ALEMBERT, DIDEROT – La filosofia dell’Encyclopedie – LATERZA, 1966 .
(7) Allo scopo vedi anche lo stimolante: A.ROSSI – Illuminismo e sperimentalismo nella fisica del ‘700– SAPERE 741, Ottobre 1971.
(8) Per questa sua opera Voltaire fu a lungo perseguitato dal governo francese. Allo scopo si può vedere, ad esempio, l’introduzione a: VOLTAIRE – La filosofia di Newton – LATERZA, 1978. Si osservi, che l’ammirazione di Voltaire per Newton era incondizionata. Egli nella XIV delle sue ‘Lettere inglesi’, quella che traccia un parallelo tra Descartes e Newton, dopo aver esordito: “Un francese che capiti a Londra trova che le cose sono molto cambiate nella filosofia come in tutto il resto. Ha lasciato il mondo pieno e lo ritrova vuoto,” continua affermando: “Non credo, per vero, che si osi paragonare in nulla la filosofia [di Descartes] con quella di Newton la prima è solo un tentativo, la seconda un capolavoro”. (ibidem, pagg. 53-59)
E’ interessante notare che anche D’Alembert avrà modo di dare del giudizi piuttosto sarcastici su Descartes. Nel ‘Discorso preliminare’ dell’Encyclopedie affermerà: “[Descartes] aveva cominciato con il dubbio universale; e le armi che noi rivolgiamo contro di lui furono forgiate da lui stesso” (In D’ALEMBERT, DIDEROT, citato, pag.112).
(9) Essenzialmente nelle sue opere ‘Lettere inglesi’ (1734) ed ‘Elementi della filosofia di Newton’ (1738). Si osservi che l’amante di Voltaire, la marchesa di Châtelet, curerà la prima edizione in francese dei Principia di Newton (1756).
(10) A lato di ciò vi fu il tentativo di estendere il newtonianesimo ai fatti che hanno attinenza con la vita dell’uomo, ad un campo cioè non immediatamente riconducibile alla filosofia naturale. Condillac sostenne la necessità di ricavare ogni cosa dall’esperienza. Helvetius, prendendo le mosse da Condillac, argomentò che, “se tutto deriva dall’esperienza, sarà l’ambiente esterno – unica fonte dell’esperienza stessa – il vero responsabile delle inclinazioni o azioni, buone o cattive. E’ inutile predicare o correggere severamente, quando invece occorrerebbe migliorare l’ambiente sociale in cui l’uomo vive e, in primo luogo, riformare i governi corrotti” (U.FORTI – Storia della scienza– DALL’OGLIO, 1969, Vol. 4, pag. 118). Ed a questo Diderot aggiungeva: ”Esaminate le varie istituzioni politiche, civili e religiose. Troverete che da secoli il genere umano si curva sotto il giogo impostogli da un certo numero di bricconi! Ordinare significa sempre erigersi a signore degli altri uomini” (ibidem, pag. 119). Infine De Lamettrie propugnò un materialismo assoluto (‘la materia pensa’) nella sua opera dal titolo eloquente, “L’uomo macchina”, in cui negò in modo categorico la realtà dell’anima.
(11) Abbiamo già osservato che la filosofia della natura nel XVIII secolo si sviluppò su linee razionali. Per quanto riguarda le diverse caratterizzazioni che l’Illuminismo ebbe, c’è da osservare che: in Inghilterra esso si fondò sull’empirismo puro; in Francia sul razionalismo empirico; in Germania sul razionalismo accompagnato da ampi margini metafisici (eredità leibniziana). In ogni caso la grande novità del secolo fu il ribaltamento del rapporto esistente tra concetti e fenomeni, “non si passa dai concetti e dai principi ai fenomeni, ma viceversa” (E.CASSIRER – La filosofia dell’illuminismo – LA NUOVA ITALIA, 1973, pagg. 23-24).
(12) A.BARACCA, R. LIVI – Natura e storia: fisica e sviluppo del capitalismo nell’0ttocento – D’ANNA, 1976, pagg. 12-13.
(13) Si osservi che il modello newtoniano cui si rifacevano i francesi erano i Principia, primo esempio di fisica sottoposta ad ano spinto trattamento teorico ed analitico. Si potrebbe osservare, forse, che Newton, pur disponendo del metodo delle flussioni, usò il metodo geometrico affinché gli argomenti trattati fossero più accessibili ai suoi lettori.
(14) N.ABBAGNANO – Storia delle scienze – UTET, 1965, Vol. II, pag. 162. E’ un grosso salto che si fa e, come osserva Bellone, “La differenza che separa i lavori di Euler o di Lagrange da quelli di Newton è, perlomeno, altrettanto grande di quella che separa i Principia dalle ricerche degli scienziati pregalileiani”. (E.BELLONE – Le leggi del movimento da Hume a Laplace – LOESCHER, 1979, pag. 557).
(15) Si osservi che ancora alla fine del secolo XVIII venivano rifiutati brevetti, anche importanti, a coloro che non avevano una cultura scientifica superiore.
(16) A.ROSSI – Illuminismo e sperimentalismo nella fisica del ‘700 – SAPERE 741, Ottobre 1971, pag. 23. A questo proposito è interessaste leggere un brano di Diderot, tratto dalla voce “Arte” dell’Encyclopedie, in cui risalta tutta l’illusione ottimistica degli illuministi:
“La bontà delle materie prime sarà il principale fattore della superiorità di una manifattura su un’altra, insieme con la speditezza del lavoro e con la sua perfetta esecuzione. La bontà dei materiali è questione d’attenzione, mentre la speditezza e perfezione del lavoro sono soltanto in funzione del numero degli operai impiegati, (quando una fabbrica ha numerosi operai, ciascuna fase di lavorazione occupa un uomo diverso. Un operaio ha eseguito ed eseguirà per tutta la vita una sola ed unica operazione; un altro, un’altra; perciò ognuna è compiuta bene e prontamente e la migliore esecuzione coincide con il minimo costo.
Inoltre, il gusto e la destrezza si perfezionano indubbiamente fra un gran numero d’operai, poiché è difficile che non ve ne siano taluni capaci di riflettere, combinare e scoprire infine il solo modo che consenta loro di superare i compagni; ossia come risparmiare il materiale, guadagnar tempo, o far progredire l’industria, sia con una nuova macchina, sia con una manovra più comoda”.
Cento anni più tardi K. Marx teorizzerà invece il ruolo antagonista che la classe degli operai esercita nei confronti della borghesia, proprietaria dei mezzi di produzione,
Si osservi che già alla fine del secolo vi furono, ad esempio in Inghilterra, dei massicci fenomeni di rifiuto delle macchine da parte degli operai. Questi ultimi, minacciati della perdita del lavoro da parte di macchine che racchiudevano in sé un sempre maggior numero di processi operativi, arrivarono nel 1791 a distruggere, a Manchester, una fabbrica con 400 telai.
Sui problemi del ‘macchinismo’ si può leggere il fondamentale testo di K. Marx ‘Sulle macchine’ (dal quaderno V del Manoscritto – 1861-l863 – “Per la critica dell’economia politica” , riportato sulla rivista Marxiana del 2 dell’ottobre 1976) e l’importante lavoro di P. Rossi “I filosofi e le macchine (1400-1700)” edito da Feltrinelli.
(17) E.CASSIRER – La filosofia dell’illuminismo – LA NUOVA ITALIA, 1973, pag. 60.
(18) La dichiarazione d’indipendenza delle colonie americane è del 1776. Come conseguenza di ciò inizia una lunga guerra con la Gran Bretagna che porterà (1783) al riconoscimento di questa indipendenza. La costituzione è del 1767, mentre la nascita ufficiale degli Stati Uniti d’America è del 1789. La Rivoluzione Francese ha inizio nel 1780 con la convocazione degli Stati Generali e termina nel 1794 con la caduta di Robespierre. Tra il 1794 ed il 1799 si ha da una parte l’esplosione di fermenti controrivoluzionari e dall’altra l’ascesa dell’astro-Napoleone che, appunto nel 1799, col colpo di stato del 18 Brumaio, prenderà il potere (che manterrà, con alterne vicende, fino al l8l5 – Waterloo e Congresso di Vienna).
(19) Nel 1700, a Berlino, Federico I, su consiglio di Leibniz, crea la Société des Sciences; nel 1701, in America, viene fondata l’università di Yale; nel 1702 quella di Breslavia (Polonia); la Società Reale delle Scienze nasce nel 1710 ad Uppsala (Svezia); mentre nel 1713 viene fondata l’Accademia Reale Spagnola (che avrà vita tormentata a causa della Chiesa). Nel 1716 nascono scuole tecniche in Francia e nel 1717 a Praga. Nel 1725 viene istituita l’Accademia delle Scienze di Pietroburgo; nel 1727 si costituisce il «Junto», prima vera accademia delle scienze americana, dai cui sviluppi nascerà l’American Philosophical Society. Nel 1737 viene aperta l’Università di Gottinga. Nel 1741 apre l’Accademia Reale svedese e nel 1742 quella danese. Nel 1745 riapre la vecchia Accademia dei Lincei (Roma). Nel 1740 è fondato il Collegio di Filadelfia, nel 1746 il Collegio di New Jersey (che diventerà l’Università di Princeton) e nel 1754 il King’s College (che diventerà la Columbia University). Nel 1755 nasce l’Università di Mosca. Nel 1757 l’Accademia Reale delle Scienze di Torino inizia la sua attività. L’Accademia Reale del Belgio è del 1772, la Società delle Scienze di Praga è del 1774, l’Accademia delle Scienze di Lisbona è del 1779. A partire dal 1776 la Royal Society di Londra istituisce un premio (la Copley Medal) per le migliori ricerche sperimentali. Tra il 1780 ed il 1789 vedono la luce: l’Accademia delle Arti e delle Scienze di Boston, la Società Italiana della Scienza a Roma, la Reale Accademia Irlandese a Dublino, la Royal Society di Edimburgo, l’Accademia Svedese a Stoccolma e varie altre istituzioni scientifiche e culturali. Data fondamentale è quella della nascita dell’École Polytechnique a Parigi (1794), dalla quale usciranno i massimi futuri rappresentanti della scienza francese (questa scuola era nata, sotto la guida di Monge, per preparare scientificamente, durante la Rivoluzione, coloro che volevano intraprendere la carriera militare o per formare ingegneri. Ancora nel 1794 nasce l’École Normale Superieure (per la formazione degli insegnanti) e quindi, nel 1795, l’Institut National des Sciences et des Arts (che prende il posto della soppressa Academie des Sciences).
(20) L’ordine dei gesuiti fu ristabilito nel 1814 da Papa Pio VII. Si noti che tutti i provvedimenti citati contro i gesuiti non erano certamente presi con propositi progressisti, ma, se possibile, ancora più conservatori.
(21) Vedi Cassirer. Per chi volesse approfondire i termini della continua negazione che le scoperte scientifiche del ‘700 rappresentavano della fisica biblica si consiglia l’intero brano di Bibliografia citata.
(22) A questo proposito si veda Forti, vol. 4, pagg. 337-341.
(23) Mason, II, pag. 309. L’analogia formale tra la legge di gravitazione universale (F = G. mM/r² ) tra due masse a distanza r , quella di Coulomb (F = K.qQ/r²) tra due cariche a distanza r e quella di Michell (F = K. pP/r²) tra due poli magnetici a distanza r, è evidente. C’è solo da osservare che le forze, nel caso gravitazionale, sono solo attrattive, mentre, sia nel caso elettrico che magnetico, sono attrattive e repulsive.
(24) Ricordo che dire «istantaneamente» significa che un’ azione si propaga da un punto all’altro dello spazio in un tempo zero, cioè con velocità infinita. In proposito si veda il mio lavoro sulla Relatività (classica), quello riportato in bibliografia 3.
(25) Vedi Laplace, Opere, pag. 243. Si osservi che Laplace conduceva una grossa polemica contro il «finalismo» al quale, appunto, contrapponeva il determinismo.
(26) Si capisce meglio quanto ho qui solo accennato, se si ricordano le varie interpretazioni che vennero date dell’esperienza di Oersted. Mi interessa ora sottolineare la mia adesione alla convinzione (dibattuta in modo articolato da vari epistemologi) secondo cui il progresso del pensiero scientifico non consiste in un processo di accumulazione di conoscenze ma in scontri, a volte aspri, tra linee diverse. Riguardo poi ai motivi che concorrono all’affermazione di una linea su di un’altra, almeno dal punto di vista della storia interna alle teorie scientifiche, sono di natura diversa ed essenzialmente consistono nel maggior numero di indizi o prove che si riescono a trovare a sostegno di quella teoria (fermo restando il fatto che una data esperienza che si accordi con una data teoria può solo fortificare quest’ultima e non renderla vera, mentre una sola esperienza non in accordo con quella data teoria la falsifica completamente – Popper preceduto dal più autorevole Galileo). Altri motivi vanno poi ricercati nella struttura stessa della teoria: la sua semplicità; la sua eleganza; il fatto che essa goda di alcuna proprietà di simmetria, di gruppo, … ; … L’insieme di questi ultimi motivi fa sì che una teoria venga preferita ad un’ altra per motivi euristici.
Da questi pochi cenni discende che è illusorio ritenere l’approccio alla conoscenza scientifica come meramente empirico o sperimentalista; c’è, evidentemente, una convinzione a priori, una teoria, un «pregiudizio» che fa muovere il ricercatore su di una strada, su di una esperienza piuttosto che su di un’altra. E’ proprio l’articolazione del ‘pregiudizio’ in ‘teoria’ che fa sperimentare in un certo modo e ricercare certe cose piuttosto che altre. Ed in definitiva si va a cercare ciò che si vuole trovare. C’è poi il problema dei risultati forniti da un dato esperimento: come interpretarli ? Uno stesso esperimento, fermo restando il dato empirico, può essere suscettibile di interpretazioni diverse al variare dei termini teorici che ne accompagnano la spiegazione; ed in genere si tenta di far dire all’esperimento ciò che e’ in accordo con la teoria a priori. Esempi di questo genere ne sono offerti in quantità dalla storia della fisica: il pregiudizio di universo ‘piccolo’ e la a non osservazione della parallasse stellare (a causa di strumenti non adatti) fa concludere a Tycho Brahe che la teoria copernicana non e’ corretta con la conseguenza che la Terra torna ad essere immobile; il pregiudizio di azioni a distanza fa si che Ampère dia una spiegazione completamente diversa – da quella che poi si affermerà – dell’esperienza di Oersted; la non osservazione del vento d’etere fa concludere a Michelson che la sua esperienza è stata un insuccesso; … .
Quanto fin qui detto dovrebbe far intendere quanto sia dannoso nella didattica il lavorare (quando lo si fa!) con un mero approccio che si vorrebbe sperimentale su fenomeni già ‘sterilizzati’ e preparati al fine che l’insegnante ha già nella mente e quanto, invece, potrebbe risultare fecondo il lavorare, almeno ad un primo approccio, su fenomeni ‘grezzi’, da scomporre cioè in fenomeni più semplici – e quindi più facilmente studiabili – mediante il processo di separazione delle variabili in gioco, fatto quest’ultimo che presuppone una teoria che il ragazzo si deve costruire.
In altri momenti poi della storia del pensiero scientifico, altre linee, altre teorie, che nel frattempo si sono sviluppate underground, magari al di fuori della scienza ufficiale, riescono ad emergere o sulla falsificazione della teoria dominante o sulla raccolta di maggiori indizi o prove a loro sostegno o su tutte e due le cose. Quindi, in nessun modo, credo si possa sostenere una linearità nel progresso scientifico, una teoria cioè che si afferma come mero superamento o ampliamento della teoria precedente. Se poi si ricollega tutto ciò all’esistenza anche di una storia esterna, allora si capisce l’enorme complessità del problema.
(27) Il nome Bernoulli può anche essere trovato come Bernouilli. Inoltre i nomi di battesimo possono variare a seconda se sono chiamati alla francese (Jacques e Jean), all’inglese (James e John), alla tedesca (Jakob e Johann).
(28) Ricordo l’enunciato della legge dei grandi numeri o legge empirica del caso:
La frequenza relativa di un dato evento (intesa come rapporto fra i casi favorevoli osservati ed ilo numero di prove sperimentali eseguite) si approssima indefinitamente alla probabilità teorica dell’evento stesso con l’aumentare del numero delle prove.
(29) Una discussione del Paradosso si trova in http://plato.stanford.edu/entries/paradox-stpetersburg/ ed in http://www.bun.kyoto-u.ac.jp/phisci/Gallery/D.bernoulli_note.html
(30) La pubblicazione dell’ Hydrodinamica ebbe una storia profondamente sgradevole. Daniel inviò il manoscritto ad Euler, suo carissimo amico, da lui stesso invitato e poi restato a San Pietroburgo, per la pubblicazione. Passò molto tempo ma non accadeva nulla. Poi Euler gli disse che a lui era arrivato un altro manoscritto di suo padre Johann Bernoulli (il quale era stato professore di Euler) che, secondo Johann, conteneva ricerche originali sul moto dei fluidi e che aveva per titolo Hydraulica. Euler si era così trovato a leggere insieme i due manoscritti. Dopo la pubblicazione nel 1743 dell’opera del padre, Daniel restò di sasso nello scoprire che vi era come data di pubblicazione il 1732, cioè precedente a quella della sua opera. Inoltre il suo caro amico si era rivelato un bugiardo perché aveva dissimulato varie cose, ritardando opportunamente e scrivendo una prefazione all’opera di Johann in cui praticamente tutti i meriti delle scoperte sul moto dei fluidi erano assegnate al padre. La sua amarezza per l’evidente plagio del padre, gli fece abbandonare gli studi di matematica. Così egli scrisse:
«Avrei fatto meglio a imparare il mestiere del calzolaio, anziché quello del matematico. Inoltre, dopo quegli avvenimenti, non sono più stato capace di convincere me stesso a elaborare qualcosa che avesse a che fare con questa disciplina. Tutto il piacere che mi resta è scrivere di quando in quando sulla lavagna qualche progetto destinato all’oblio».
BIBLIOGRAFIA
1) P.CASINI – Filosofia e fisica da Newton a Kant – LOESCHER, 1978.
2) P.L. M. DE MAUPERTUIS – El orden verosimil del cosmos – ALIANZA EDITORIAL, Madrid 1985
3) P. S. DE LAPLACE – Ensayo filosofico sobre las probabilidades – ALIANZA EDITORIAL, Madrid 1985
4) L. EULER – Reflexiones sobre el espacio, la fuerza y la materia – ALIANZA EDITORIAL, Madrid 1985
5) M. KLEIN – Mathematical Thought from Ancient to Modern Times – OXFORD UNIVERSITY PRESS, 1972
6) M.JAMMER – Storia del concetto di forza – FELTRINELLI, 1971.
7) U.FORTI – Storia della scienza – DALL’OGLIO, 1969.
8) Y.ELKANA – La scoperta della conservazione dell’energia – FELTRINELLI, 1977.
9) M.B.HESSE – Forze e campi– FELTRINELLI 1974.
10) M.JAMMER – Storia del concetto di spazio – FELTRINELLI, 1966.
11) C. BOYER – Storia della matematica – MONDADORI 2001.
12) E.BELLONE – Le leggi del movimento da Hume a Laplace – LOESCHER, 1979.
13) C. BOYER – Storia del calcolo – BRUNO MONDADORI 2007.
14) I. B. COHEN – La rivoluzione nella scienza – LONGANESI 1988.
15) S.D’AGOSTINO – Dispense di Storia della Fisica – IFUR, 1974.
16) S.F.MASON – Storia delle scienze della natura – FELTRINELLI, 1971.
17) L.GEYMONAT – Storia del pensiero filosofico e scientifico – GARZANTI, 1971.
18) N.ABBAGNANO – Storia delle scienze – UTET, 1965.
19) AA.VV. – Storia generale delle scienze – CASINI, 1964.
20) F. BURZIO – Lagrange – UTET 1942.
21) T.S.ASHTON – La rivoluzione industriale 1760/1830– LATERZA, 1972.
22) F.KLEMM – Storia della tecnica – FELTRINELLI, 1966.
23) D.S.L.CARDWELL – Tecnologia, scienza e storia – IL MULINO, 1976.
24) A.BARACCA, R. LIVI – Natura e storia: fisica e sviluppo del capitalismo nell’0ttocento – D’ANNA, 1976.
25) A.MARCHESE – La battaglia degli illuministi – SEI, 1974.
26) E.CASSIRER – La filosofia dell’illuminismo – LA NUOVA ITALIA, 1973.
27) VOLTAIRE – La filosofia di Newton – LATERZA, 1978.
28) J.O.DE LAMETTRIE – L’uomo macchina ed altri scritti – FELTRINELLI, 1955.
29) A.ROSSI – Illuminismo e sperimentalismo nella fisica del ‘700 – SAPERE 741, Ottobre 1971.
30) M. GUILLEN – Le cinque equazioni che hanno cambiato il mondo – LONGANESI, 1997.
31) P.BAIROCH – Scienza, tecnica ed economia nella rivoluzione industriale – SAPERE n° 695, Novembre 1967.
32) D’ALEMBERT, DIDEROT – La filosofia dell’Encyclopedie – LATERZA, 1966 .
33) AA.VV. – Scienziati e tecnologi (dalle origini al 1875) – MONDADORI, 1975.
34) A.BARACCA, R.RIGATTI – Aspetti dell’ interazione tra scienza e tecnica durante la rivoluzione industriale del XVIII secolo in Inghilterra 1-La nascita dei concetti di lavoro ed energia – IL GIORNALE DI FISICA, Vol. XV, n° 2; 1974 .
35) A.BARACCA, R.RIGATTI – Idem . 2- Sviluppi della macchina a vapore – IL GIORNALE DI FISICA, Vol. XV, n° 3; 1974.
36) P.PLEURY, J.P. MATHIEU – Fisica generale e sperimentale – ZANICHELLI, 1970.
37) C. MAFFIOLI – Una strana scienza – FELTRINELLI, 1979.
46) L.GALVANI – Opere– UTET, 1967.
38) A.VOLTA – Opere – UTET, 1967 .
39) P.S.LAPLACE – Opere – UTET, 1967.
40) A.M.AMPÈRE – Opere – UTET, 1967.
41) G.TRUESDELL – Essays in the History of Mechanics – SPRINGER, 1968
42) Y.ELKANA – The Historical Roots of Modern Physics – SCUOLA INTERNAZIONALE DI FISICA ‘E.FERMI’, Varenna, LVII Corso.
43) AA.VV. – Sul marxismo e le scienze– CRITICA MARXISTA, .Quaderno n° 6; 1972.
44) LAVOISIER – Elements of Chemistry; FOURIER – Analytical Theory of Heat – ENCYCLOPAEDIA BRITANNICA, 1952.
45) S.C.BROWN – Il conte Rumford – ZANICHELLI, 1968.
46) BARACCA, ROSSI – Materia ed energia – FELTRINELLI, 1978.
47) E.BELLONE – I modelli e la concezione del mondo – FELTRINELLI, 1973.
62) J.FALLOT – Marx e la questione delle macchine – NUOVA ITALIA, 1971..
48) G.MONETI – Lezioni di storia della fisica – IFUR, A.A. 1965/1966.
49) F.CAJORI – Storia della fisica elementare – R.SANDRON, 1930.
50) P.STRANEO – Le teorie della fisica nel loro sviluppo storico – MORCELLIANA,1950
51) D.PAPP – Historia de la Fisica– ESPASA CALPE, 1961.
52) S.D’AGOSTINO – Il contributo di Newton allo sviluppo dell’ottica– IL GIORNALE DI FISICA, Vol.VI, n° 3, 1965.
53) M.BORN – La sintesi einsteniana – BORINGHIERI, 1965 (L’opera è del 1920).
54) EINSTEIN, INFELD – L’evoluzione della fisica – BORINGHIERI, 1965 (L’opera è del 1938).
55) P.A.DAGUIN – Traité élémentaire de physique – PRIVAT, LAGRAVE, 1868.
56) E.BELLONE – Le leggi della termodinamica da Boyle a Boltzmann – LOESCHER, 1978.
96) F.BEVILACQUA – Storia del concetto di energia – AIF-PAVIA, 1978.
57) E.MACH – La meccanica nel suo sviluppo storico-critico – BORINGHIERI, 1968.
58) E.DU BOIS-REYMOND – I confini della conoscenza della natura – FELTRINELLI,1973.
59) E.WHITTAKER – A History of the Theories of Aether and Electricity – NELSON and SONS, London; 1951/1953. .
61) R.DUGAS – Histoire de la mécanique – DUNOD, Paris, 1950.
62) E.BELLONE – Il mondo di carta – MONDADORI, 1976.
63) http://www.tesionline.it/__PDF/4987/4987p.pdf
64) http://www.thedailybit.net/index.phpmethod=section&action=zoom&id=2324
65) http://areeweb.polito.it/didattica/polymath/htmlS/Interventi/Articoli/EuleroAnniversario/Img/
Categorie:Leonardo Da Vinci
Rispondi